Скачать Руководство по проектированию сооружений для забора подземных водДата актуализации: 01.01.2021
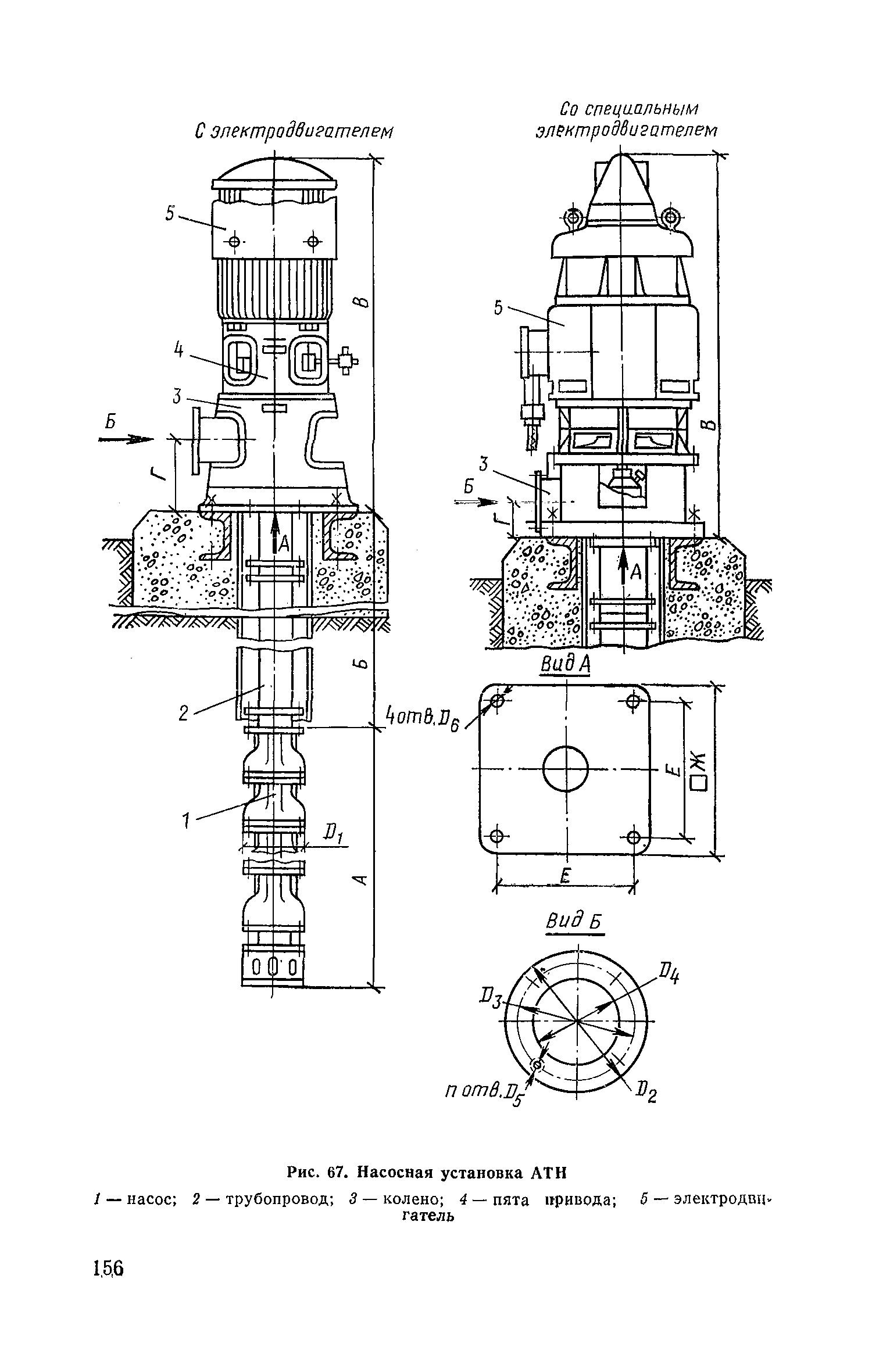
Руководство по проектированию сооружений для забора подземных вод| Статус: | справочные материалы, мп, тпр | | Название рус.: | Руководство по проектированию сооружений для забора подземных вод | | Дата добавления в базу: | 21.05.2015 | | Дата актуализации: | 01.01.2021 | | Область применения: | В Руководстве освещаются основные положения и даются рекомендации по выбору и обоснованию инженерных сооружений в системах водоснабжения на базе подземных водных источников, а именно, водозаборных (водозахватных, каптажных) устройств (скважин, шахтных колодцев, горизонтальных и лучевых водозаборов, каптажей источников); насосного оборудования, насосных станций и контрольно-измерительной аппаратуры; водоводов. Излагаются методы расчетов производительности водозаборов подземных вод (в том числе водозаборов в системах искусственного пополнения подземных вод) и обоснования зон санитарной охраны. Руководство предназначено для проектировщиков и изыскателей, работающих в области водоснабжения. | | Оглавление: | Введение 1. Общие вопросы использования подземных вод для водоснабжения Официальные документы, регламентирующие использование подземных вод в СССР Общие требования к подземным водам как источнику водоснабжения 2. Классификации запасов (ресурсов) подземных вод и их категории Классификация запасов подземных вод по естественным (генетическим) признакам Классификация эксплуатационных запасов подземных вод по степени изученности и принципы их категоризации 3. Сооружения для забора подземных вод. Стадии проектирования. Требования к материалам изысканий Состав водозаборных сооружений и их общая компоновка Стадии проектирования, состав и согласование проекта Исходные данные для проектирования водозаборов подземных вод 4. Водозаборные скважины и шахтные колодцы Общие данные. Выбор способа бурения скважин Крепление ствола скважины обсадными трубами и изоляция водоносных горизонтов Количество резервных скважин Шахтные колодцы 5. Фильтры водозаборных скважин Типы и конструкции фильтров Подбор и расчет фильтров 6. Гидрогеологические расчеты водозаборных скважин и шахтных колодцев Общие положения Расчеты береговых водозаборов (в долинах рек) Расчеты водозаборов в артезианских бассейнах (неограниченные пласты) Расчеты водозаборов в ограниченных (закрытых, полузакрытых) водоносных пластах Периодически действующие водозаборы подземных вод Оценка "плановой" (по площади распространения) фильтрационной неоднородности водоносных пластов Учет фильтрационного несовершенства водозаборных скважин и колодцев Учет фильтрационного несовершенства поверхностных водотоков 7, Горизонтальные водозаборы Виды горизонтальных водозаборов и область их применения Конструкции и способы устройства горизонтальных водозаборов 8. Гидрогеологические расчеты горизонтальных водозаборов 9. Лучевые водозаборы Виды лучевых водозаборов и область их применения Конструкции и способы устройства лучевых водозаборов 10. Расчет производительности лучевых водозаборов 11. Каптаж источников (родников) 12. Искусственное пополнение запасов подземных вод (ИППВ) Общие положения Открытые инфильтрационные сооружения Режим работы бассейнов и определение их производительности Закрытые инфильтрационные сооружения Оценка производительности закрытых инфильтрационных сооружений Проектирование и расчет водозаборов в системах ИППВ 13. Насосные станции и контрольно-измерительная аппаратура Классификация насосных станций Насосные станции для забора воды из скважин Насосные станции на горизонтальных и лучевых водозаборах и каптажах источников Общие требования к строительным решениям и оборудованию насосных станций Производительность насосных станций и полная высота подъема насосов Установки с центробежными насосами типа ЭЦВ с погружными электродвигателями Центробежные скважинные насосные установки с трансмиссионным валом Горизонтальные центробежные насосы Контрольно-измерительная аппаратура (КИП) 14. Сборные водоводы и емкости на водозаборах подземных вод Схемы сборных водоводов Напорные сборные водоводы Самотечные сборные водоводы Сифонные сборные водоводы Сборные, регулирующие и запасные емкости 15. Оценка качества воды. Зоны санитарной охраны Требования к качеству подземных вод Зоны санитарной охраны (ЭСО) водозаборов подземных вод 16. Опробование водозаборов. Наблюдения при эксплуатации Опробование водозаборных сооружений перед сдачей в эксплуатацию и наблюдения за режимом подземных вод при эксплуатации Восстановление производительности водозаборов при эксплуатации 17. Сравнение вариантов и технико-экономические обоснование водозаборных сооружений Список литературы | | Разработан: | ВНИИ ВОДГЕО Госстроя СССР
| | Утверждён: | ВНИИ ВОДГЕО Госстроя СССР (VNII VODGEO, USSR Gosstroy )
| | Издан: | Стройиздат (1978 г. )
| | Нормативные ссылки: | |
                                                                                                                                                                                                          
|