Скачать ОСТ 34-13-919-86 Зажимы опорные для открытых распределительных устройств. Технические условияДата актуализации: 01.01.2021
|
| Обозначение: | ОСТ 34-13-919-86 |
| Обозначение англ: | OST 34-13-919-86 |
| Статус: | заменен |
| Название рус.: | Зажимы опорные для открытых распределительных устройств. Технические условия |
| Название англ.: | Inlet/Outlet Pipes with Butt Welded Flanges for Welded Steel Vessels and Apparatus - Design and Dimensions |
| Дата добавления в базу: | 21.05.2015 |
| Дата актуализации: | 01.01.2021 |
| Дата введения: | 01.01.1988 |
| Дата окончания срока действия: | 01.10.1989 |
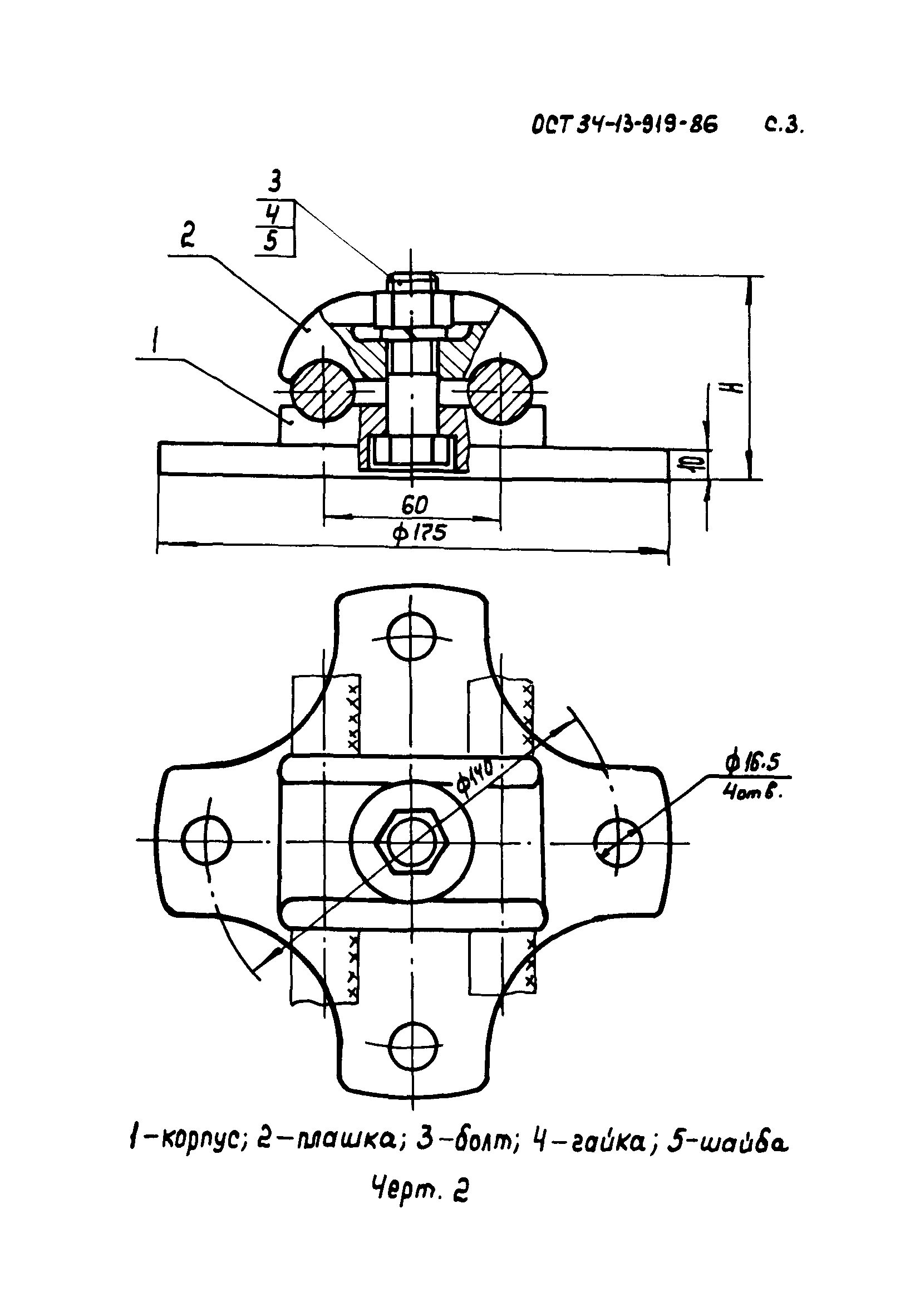
| Область применения: | Стандарт распространяется на опорные зажимы, предназначенные для крепления на колонках изоляторов алюминиевых и сталеалюминиевых проводов, алюминиевых и медных полых проводов, алюминиевых труб, используемых в качестве шин в распределительных устройствах |
| Оглавление: | 1 Марки, основные параметры и размеры 2 Технические требования 3 Правила приемки и методы испытаний 4 Маркировка. упаковка, транспортирование и хранение 5 Указания по применению 6 Гарантии изготовителя |
| Утверждён: | 24.12.1986 Министерство энергетики и электрификации СССР (USSR Ministry of Energy and Electrical Power 208а) |
| Список изменений: | |
| Нормативные ссылки: |
|














Текстовое изменение опечатки