Скачать ГОСТ Р 50267.26-95 Изделия медицинские электрические. Часть 2. Частные требования безопасности к электроэнцефалографамДата актуализации: 01.01.2021
|
| Обозначение: | ГОСТ Р 50267.26-95 |
| Обозначение англ: | GOST R 50267.26-95 |
| Статус: | введен впервые |
| Название рус.: | Изделия медицинские электрические. Часть 2. Частные требования безопасности к электроэнцефалографам |
| Название англ.: | Medical electrical equipment. Part 2. Particular requirements for safety of electroencephalographs |
| Дата добавления в базу: | 21.05.2015 |
| Дата актуализации: | 01.01.2021 |
| Дата введения: | 01.01.1996 |
| Область применения: | Стандарт распространяется на безопасность МЕДИЦИНСКИХ ЭЛЕКТРИЧЕСКИХ ИЗДЕЛИЙ. Так как стандарт относится в основном к безопасности, он содержит некоторые требования, касающиеся надежной работы, если это связано с безопасностью. Стандарт устанавливает частные требования безопасности к ЭЛЕКТРОЭНЦЕФАЛОГРАФАМ (ЭЭГ). |
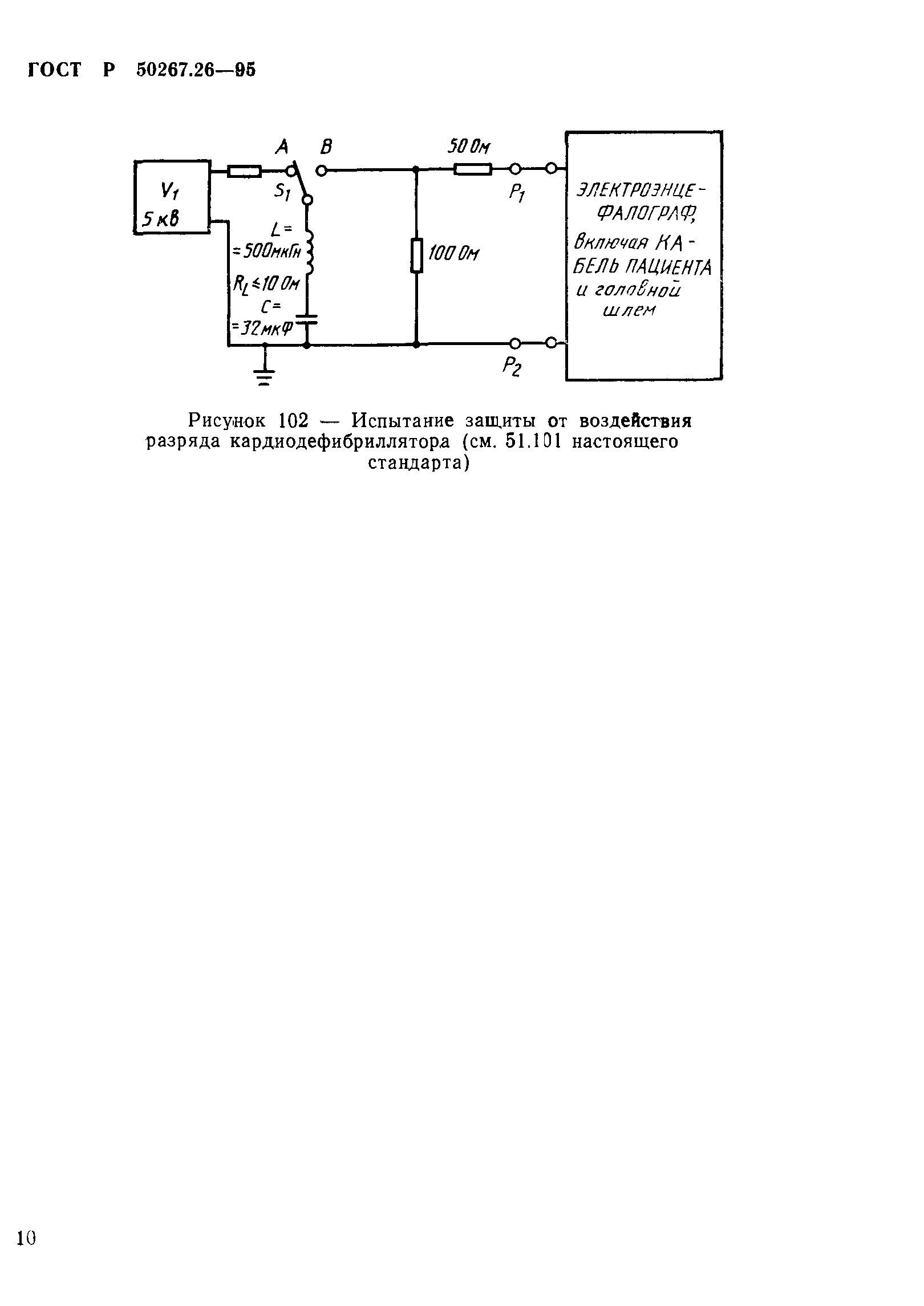
| Оглавление: | Введение Нормативные ссылки Раздел первый. Общие положения Раздел второй. Условия окружающей среды Раздел третий. Защита от опасностией поражения электрическим током Раздел четвертый. Защиты от механических опасностей Раздел пятый. Защиты от опасностей нежелательного или чрезмерного излучения Раздел шестой. Защита от опасностей воспламенения горючих смесей анестетиков Раздел седьмой. Защита от чрезмерных температур и других опасностей Раздел восьмой. Точность рабочих характеристик и защита от представляющих опасность выходных характеристик Раздел девятый. Ненормальная работа и условия нарушений; Испытания на водействие внешних факторов Раздел десятый. Требования к конструкции Приложение D. Символы в маркировке Приложение АА. Руководство и обоснование Приложение ММ. Дополнительные требования к электроэнцефалографам, отражающие потребности экономики страны |
| Разработан: | ТК 11 Медицинские приборы и аппараты |
| Утверждён: | 11.04.1995 Госстандарт России (Russian Federation Gosstandart 208) |
| Издан: | Издательство стандартов (1995 г. ) |
| Нормативные ссылки: |























