Скачать ГОСТ Р 50267.34-95 Изделия медицинские электрические. Часть 2. Частные требования безопасности к приборам для прямого мониторинга кровяного давленияДата актуализации: 01.01.2021
|
| Обозначение: | ГОСТ Р 50267.34-95 |
| Обозначение англ: | GOST R 50267.34-95 |
| Статус: | введен впервые |
| Название рус.: | Изделия медицинские электрические. Часть 2. Частные требования безопасности к приборам для прямого мониторинга кровяного давления |
| Название англ.: | Medical electrical equipment. Part 2. Particular requirements for the safety of direct blood pressure monitoring equipment |
| Дата добавления в базу: | 21.05.2015 |
| Дата актуализации: | 01.01.2021 |
| Дата введения: | 01.07.1996 |
| Дата окончания срока действия: | 01.01.2021 |
| Область применения: | Стандарт распространяется на приборы для прямого мониторинга кровяного давления. Стандарт не распространяется на катетерные трубки, катетерные иглы, фиксаторы шприцев Люэра и т.п. Кроме того, стандарт не распространяется на приборы для непрямого мониторинга кровяного давления. |
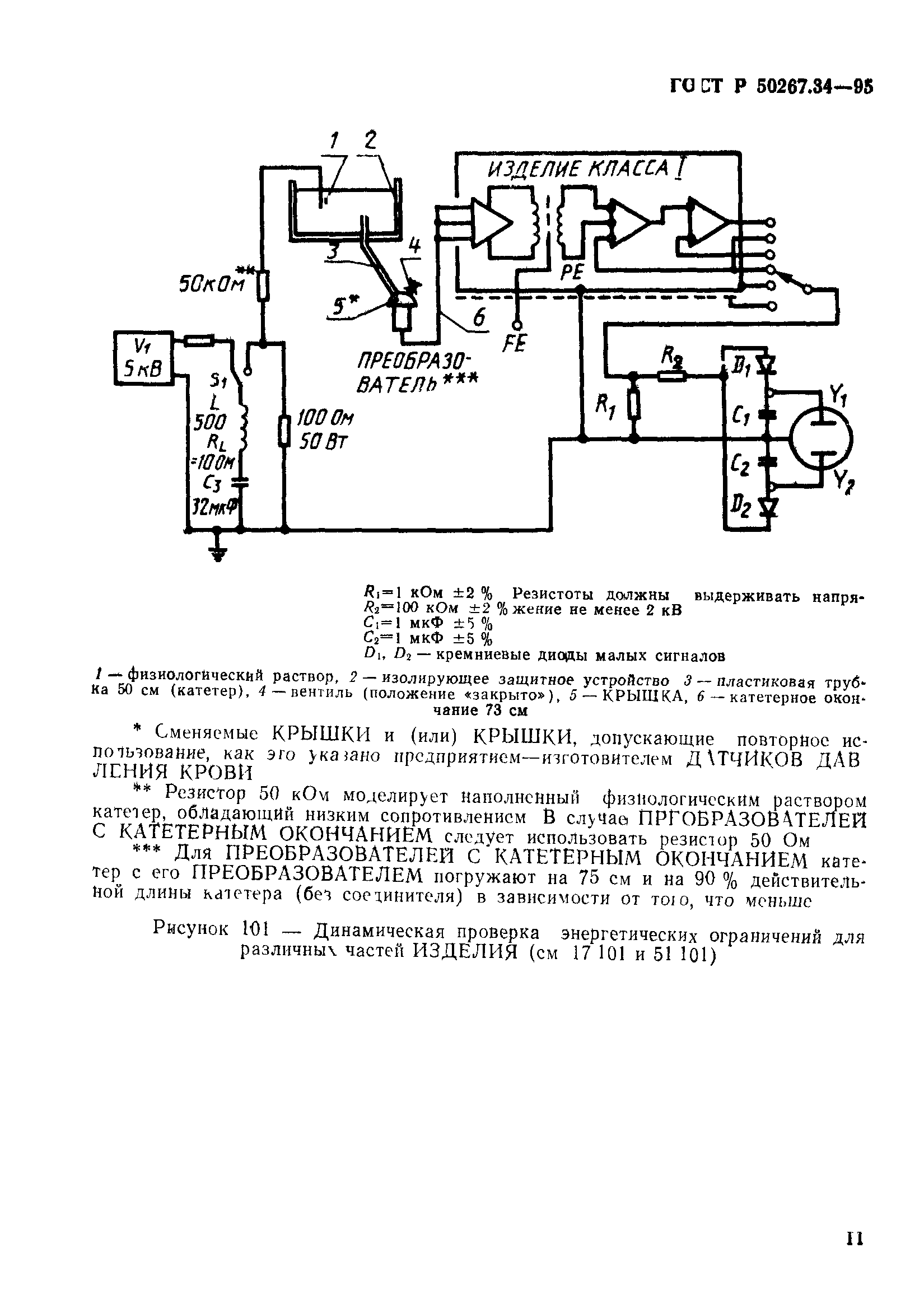
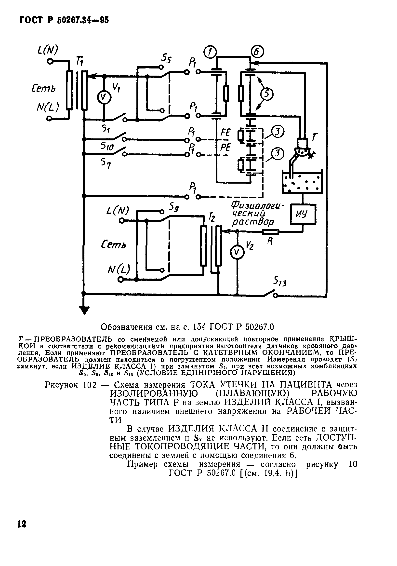
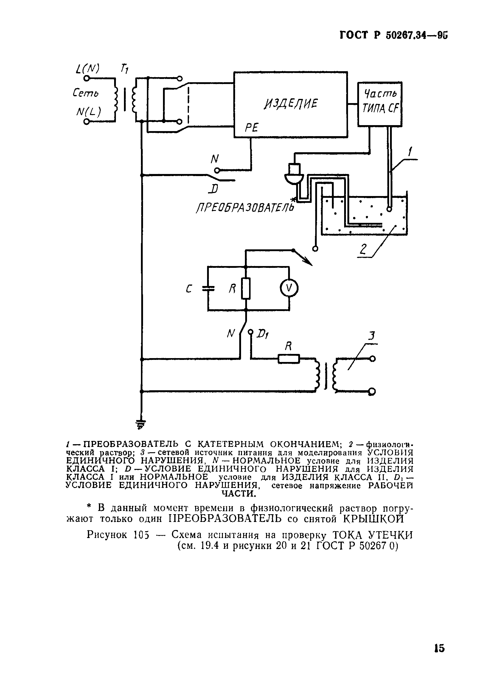
| Оглавление: | Раздел первый Общие положения Раздел второй Условия окружающей среды Раздел третий Защита от опасностей поражения электрическим током Раздел четвертый Защита от механических опасностей Раздел пятый Защита от опасностей нежелательного или чрезмерного излучения Раздел шестой Защита от опасностей воспламенения горючих смесей анестетиков Раздел седьмой Защита от чрезмерных температур и других опасностей Раздел восьмой Точность рабочих характеристик и защита от представляющих опасность выходных характеристик Раздел девятый Ненормальная работа и условия нарушений, испытания на воздействие внешних факторов Раздел десятый Требования к конструкции Приложение D Символы в маркировке Приложение АА (справочное) Руководство и обоснования Приложение ММ (обязательное) Дополнительные требования к приборам для прямого мониторинга кровяного давления, отражающие потребности экономики страны |
| Разработан: | ТК 11 Медицинские приборы и аппараты |
| Утверждён: | 15.03.1995 Госстандарт России (Russian Federation Gosstandart 131) |
| Чем заменён: | |
| Нормативные ссылки: |



























