Скачать ГОСТ 30478-96 Автобусы для перевозки инвалидов. Общие технические требованияДата актуализации: 01.01.2021
|
| Обозначение: | ГОСТ 30478-96 |
| Обозначение англ: | GOST 30478-96 |
| Статус: | действует |
| Название рус.: | Автобусы для перевозки инвалидов. Общие технические требования |
| Название англ.: | Buses for carrying invalids. General requirements |
| Дата добавления в базу: | 21.05.2015 |
| Дата актуализации: | 01.01.2021 |
| Дата введения: | 16.04.1998 |
| Область применения: | Стандарт распространяется на автобусы, специально предназначенные для перевозок инвалидов с нарушениями опорно-двигательных функций, в том числе в креслах-колясках, а также на автобусы общего пользования по ГОСТ 27815 и 28345, оборудованные для проезда в них инвалидов в креслах-колясках. Автобусы предназначены для эксплуатации по автомобильным дорогам общей транспортной сети Российской Федерации и должны быть рассчитаны для эксплуатации в районах с умеренным климатом при воздействии климатических факторов внешней среды по ГОСТ 15150. Требования стандарта являются обязательными и направлены на обеспечение безопасности жизни и здоровья людей. |
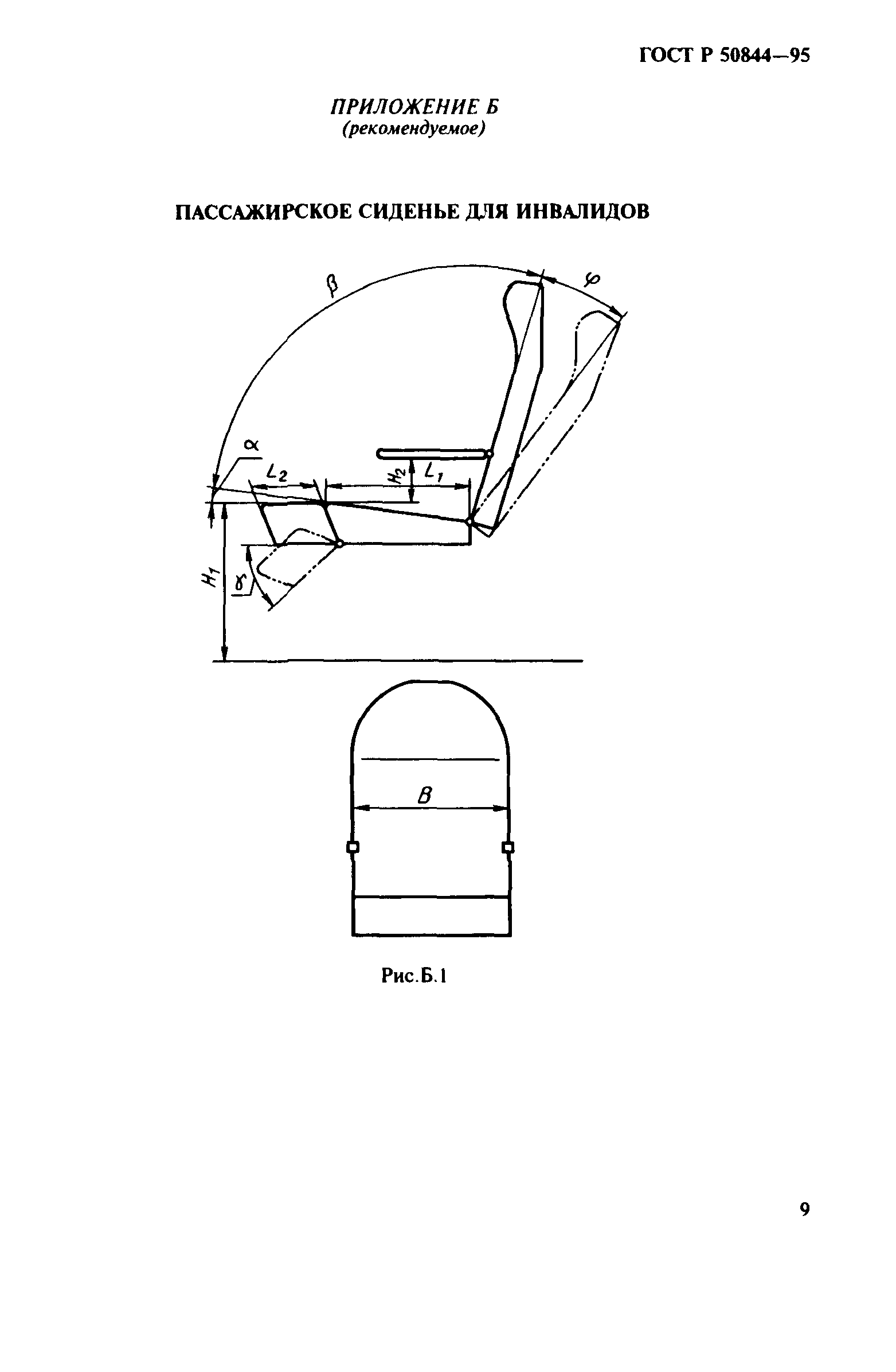
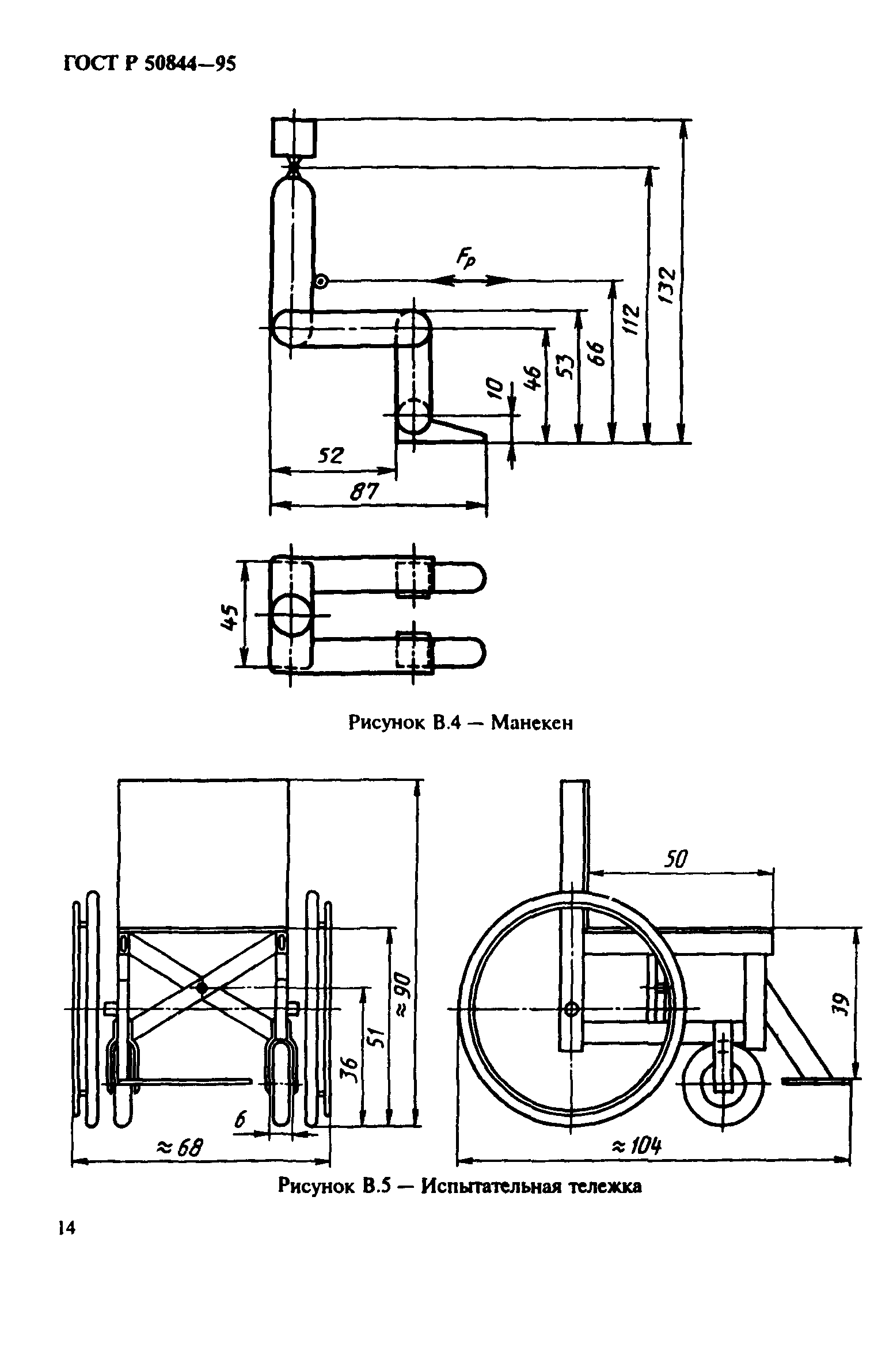
| Оглавление: | 1. Область применения 2. Нормативные ссылки 3. Обозначения и сокращения 4. Технические требования 4.1 Планировка пассажирского помещения 4.2 Пассажирские сиденья 4.3 Пассажирские двери 4.4 Устройства для обеспечения доступа инвалидов в автобус 4.5 Требования безопасности Приложение А Варианты размещения инвалидов в креслах-колясках и на пассажирских сиденьях Приложение Б Пассажирское сиденье для инвалидов Приложение В Процедура испытаний системы крепления в автобусе инвалидов в креслах-колясках |
| Утверждён: | 16.04.1998 Госстандарт России (Russian Federation Gosstandart 122) 06.10.1996 Межгосударственный Совет по стандартизации, метрологии и сертификации (Inter-Governmental Council on Standardization, Metrology, and Certification 10-МГС) |






















