Скачать Технология и оборудование для очистки промышленных и бытовых стоков. АльбомДата актуализации: 01.01.2021
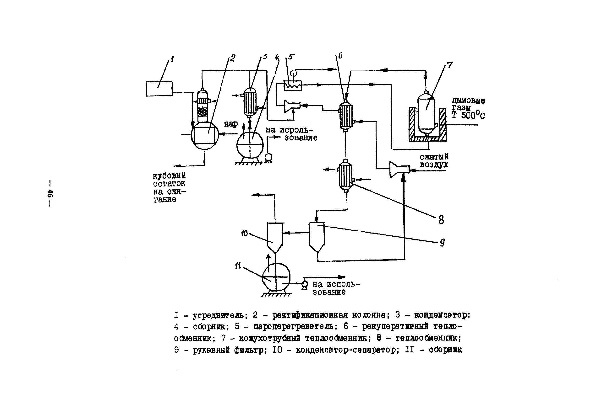
Технология и оборудование для очистки промышленных и бытовых стоков. Альбом| Статус: | заменен | | Название рус.: | Технология и оборудование для очистки промышленных и бытовых стоков. Альбом | | Дата добавления в базу: | 21.05.2015 | | Дата актуализации: | 01.01.2021 | | Область применения: | Альбом подготовлен по новым поступлениям и содержит сведения о методах, технологиях и оборудовании для обработки промышленных и бытовых стоков. | | Оглавление: | I. Введение II. Технологические процессы и оборудование для очистки сточных вод от соединений тяжелых металлов, кислот, щелочей Технология очистки сточных вод от шестивалентного хрома Технология очистки сточных вод от соединений тяжелых металлов Технология мембранной очистки сточных вод Технология очистки сточных вод производства печатных плат Технология очистки промышленных сточных вод от бериллия и солей жесткости Технология очистки сточных вод от мышьяка Комплексы водоочистки автоматизированные модели КВ-III, КВ-112, КВ-113, КВ-211 Установка для очистки гальвано стоков модель ИКФЦ 50-070 Электрохимический модуль глубокой очистки сточных вод Установка обезвреживания сточных вод Устройство для очистки сточных вод Блок очистки сточных вод гальванических производств III. Технологические процессы и оборудование для очистки сточных вод от органических соединений (масел, ПАВ, нефтепродуктов) Технология глубокой очистки промышленных сточных вод от органических соединений Технология очистки сточных вод от нефтепродуктов Электролитическая очистка маслосодержащих сточных вод Технология очистки нефтесодержащих сточных вод Технология очистки сточных вод от масел и смол Технология очистки сточных вод от катионных красителей Электрофлотокоагулятор Вертикальный тонкослойный отстойник Аппарат обратного осмоса "Labro" Агрегат очистки воды обратноосмотический модель АОМ-10 Биореактор Сорбент для очистки сточных вод IV. Оборудование для фильтрации Установка для очистки сточных вод с использованием дисковых биофильтров Емкостные листовые фильтры модель BS Фильтр-концентратор модель ZEF Фильтры модель PEF Камерный фильтр-пресс модель KFP 1000 Фильтр для очистки воды от механических примесей Фильтр непрерывно действующий самопромывающийся Мембранные фильтры МИФИЛ—I—2 на основе капрона V. Системы водоснабжения для промышленных предприятий Бессточная система водоснабжения предприятия Замкнутая система водного хозяйства производства пенополиуретанов VI. Оборудование для очистки бытовых сточных вод Станция биологической очистки сточных вод c автоматизированным технологическим процессом Станция фильтрации с плавающим слоем Циклонный осветлитель VII. Прочее оборудование Технология электрокоагуляционной очистки сточных вод отбельных производств целлюлозно—бумажной промышленности Технология биологической очистки сточных вод Мембраны гетерогенные анионообменные марок МА-41ИЭ и МА-41ИЭ(Л) Установка регенерации хромового ангидрида УРХД 01.00.000 Технология извлечения меди из промывных стоков электролитического меднения Лимеда Им —I VIII. Выводы | | Разработан: | ВНИИТЭМР
| | Утверждён: | ВНИИТЭМР
| | Чем заменён: | - «Оборудование для очистки сточных вод» (1993 год)
|
                                                               
|