Скачать Руководство по капитальному ремонту воздушного выключателя ВВН-110-6Дата актуализации: 01.01.2021
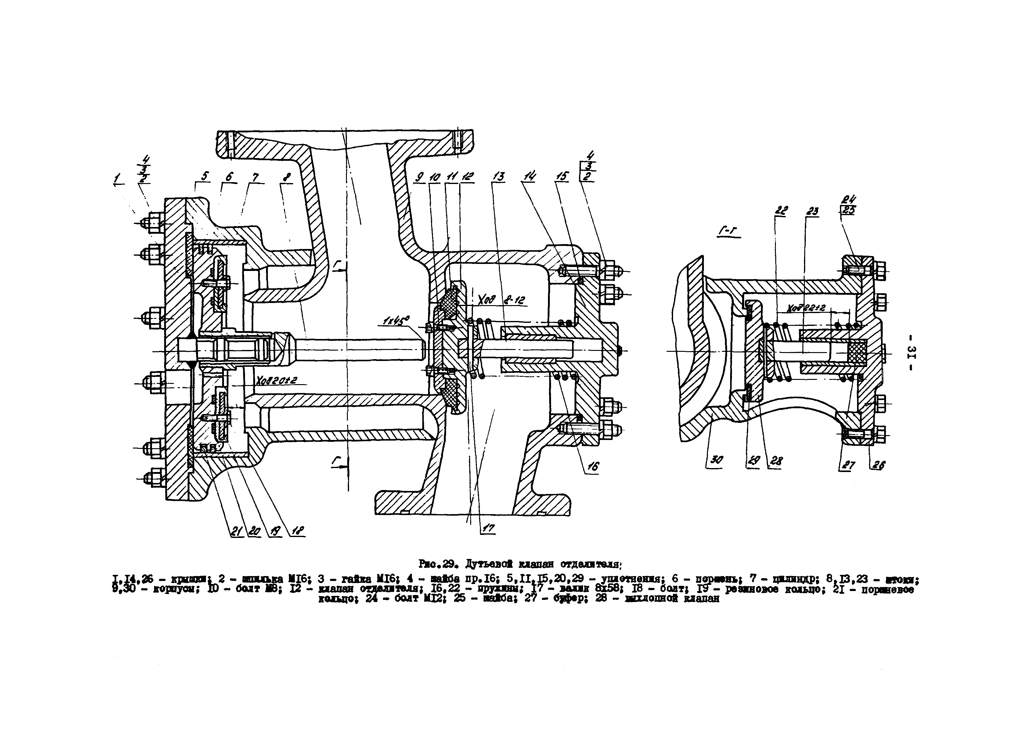
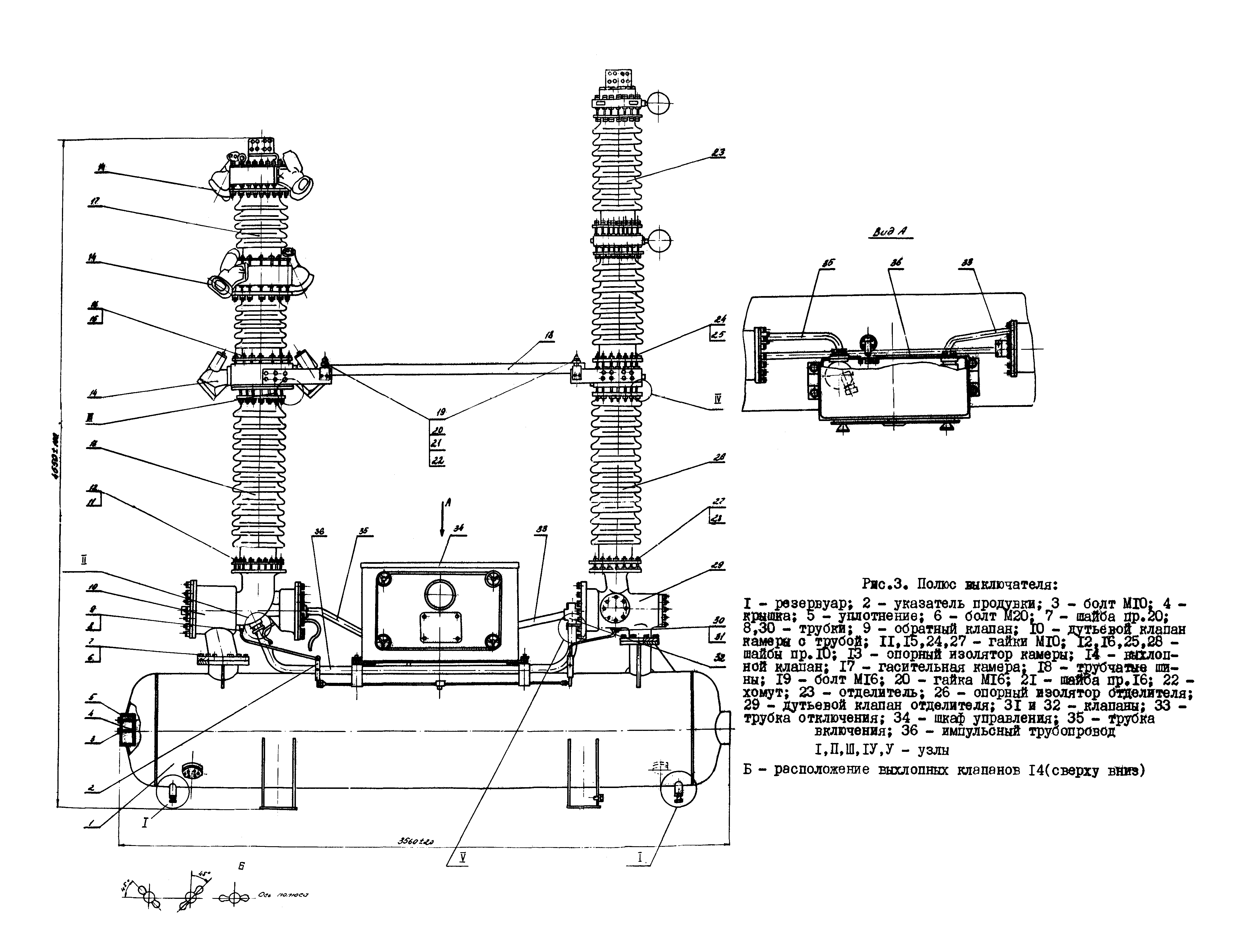
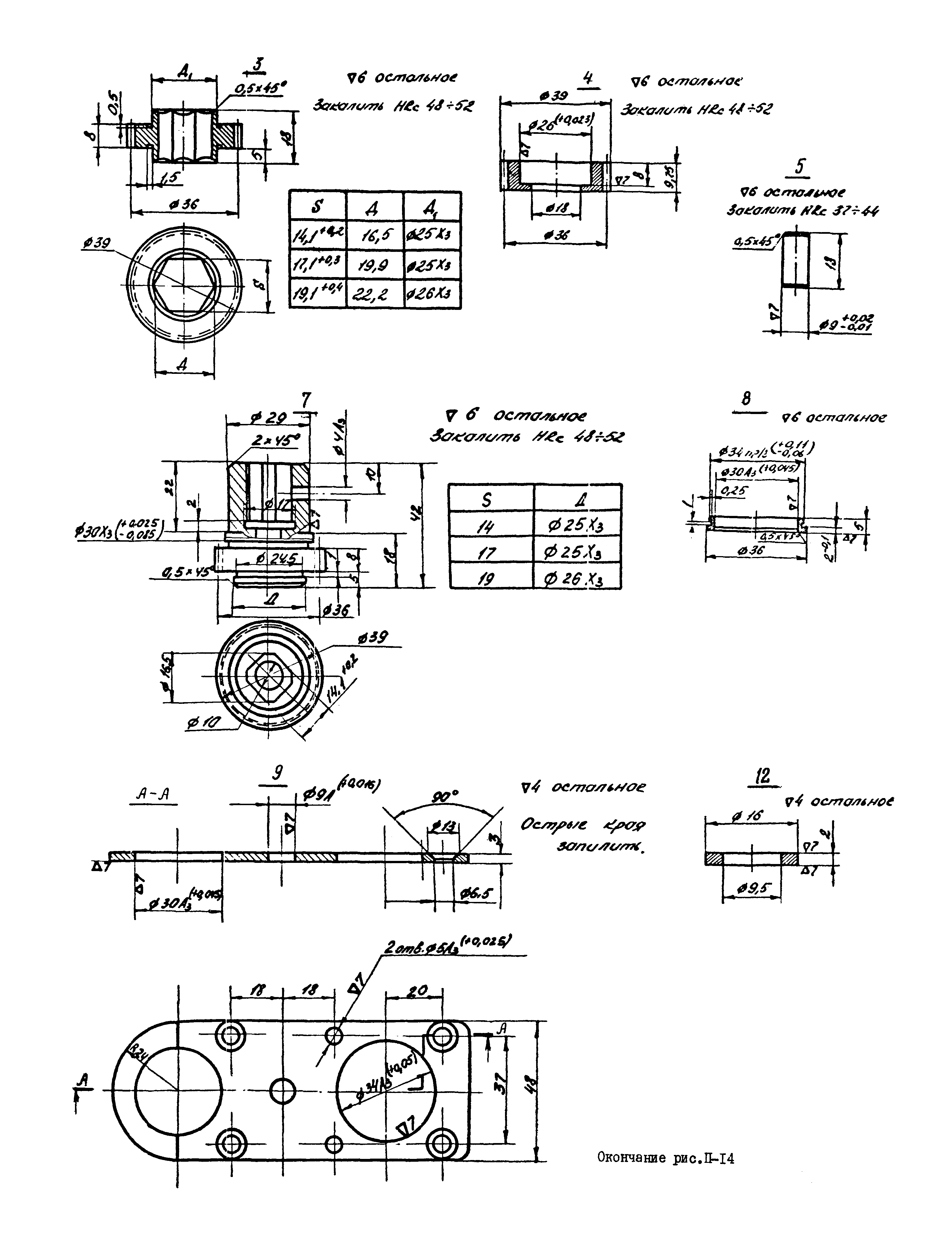
Руководство по капитальному ремонту воздушного выключателя ВВН-110-6| Статус: | информационный документ | | Название рус.: | Руководство по капитальному ремонту воздушного выключателя ВВН-110-6 | | Дата добавления в базу: | 12.02.2016 | | Дата актуализации: | 01.01.2021 | | Область применения: | Руководство по капитальному ремонту воздушного выключателя ВВН-110-6 (с воздухонаполненным отделителем) предназначено для персонала электрических станций и предприятий электрических сетей. В Руководстве приведены рациональные формы организации работ и передовые приемы, обеспечивающие высокое качество ремонта с минимальными затратами средств и времени. Руководство рекомендуется в качестве основного документа, которым следует пользоваться при планировании, подготовке и проведении ремонтных работ на выключателе ВВН-110-6 | | Оглавление: | 1 Общие положения 2 Подготовка к капитальному ремонту 3 Проведение капитального ремонта 4 Технология ремонта Приложение 1. Форма акта ремонта воздушного выключателя БВП-110-6 Приложение 2. Перечни приборов, инструмента, материалов, запасных частей, необходимых для капитального ремонта выключателя ВВН-110-6 Приложение 3. Перечень приспособлений и специального инструмента, необходимых для капитального ремонта выключателя ВВН-110-6 Приложение 4. Масса основных узлов выключателя ВВН-110-6 и характеристика механизмов Приложение 5. Рекомендации по выявлению дефектной фарфоровой изоляции, ее ремонту и гидравлическим испытаниям Приложение 6. Рекомендации по выявлению дефектных деталей общего назначения и их ремонту Приложение 7. Рекомендации по приклеиванию резиновых уплотнений к деталям выключателя Приложение 8. Рекомендации по регулировке, наладке и снятию характеристик выключателя Приложение 9. Пульт для наладки воздушных выключателей с воздухонаполненным отделителем | | Разработан: | Кишиневский отдел ЦКБ Главэнергоремонта
| | Утверждён: | 06.02.1975 Главэнергоремонт Минэнерго СССР
| | Принят: | 25.12.1974 НПО Электроаппарат
| | Издан: | СПО ОРГРЭС (1976 г. )
|
                                                                           
|