Скачать Рекомендации по газовой силикатизации песчаных и лессовых грунтов

Дата актуализации: 01.01.2021

Рекомендации по газовой силикатизации песчаных и лессовых грунтов

Статус:справочные материалы, мп, тпр
Название рус.:Рекомендации по газовой силикатизации песчаных и лессовых грунтов
Дата добавления в базу:12.02.2016
Дата актуализации:01.01.2021
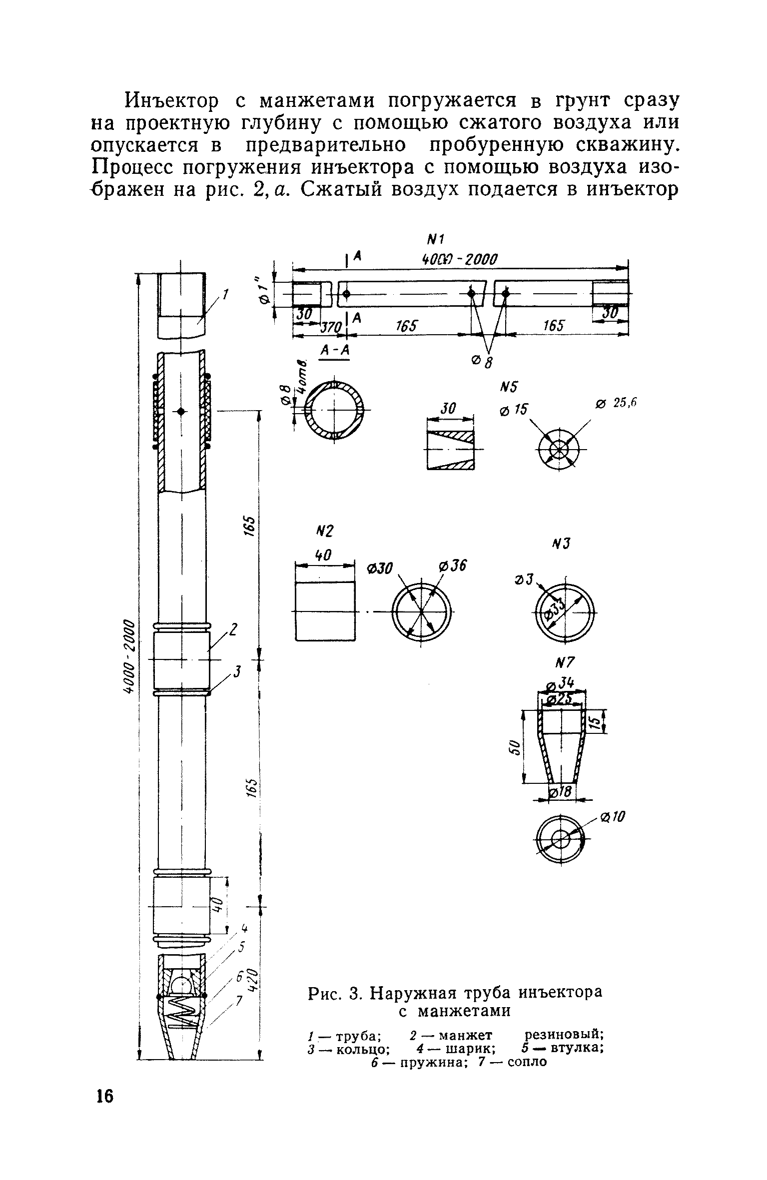
Область применения:В Рекомендациях изложен способ газовой силикатизации для закрепления песчаных и лессовых грунтов. В результате газовой силикатизации грунт приобретает достаточно высокую прочность, водоустойчивость и водонепроницаемость. Способ газовой силикатизации предназначается для усиления грунтов основания, для проходки горных выработок в песчаных грунтах и создания противофильтрационных завес в аллювиальных отложениях.
Оглавление:Введение
1. Общие положения
2. Материалы
3. Изыскательские работы
4. Лабораторные исследования грунтов и материалов
5. Состав проекта
   Основные указания по проектированию
6. Оборудование
7. Производство работ
   Погружение и извлечение ннъекторов
   Нагнетание реагентов
   Вспомогательные работы
8. Техника безопасности
9. Контроль качества и документация
Приложение 1. Определение водопроницаемости песка, лесса и закрепленного грунта
Приложение 2. Определение содержания карбонатов в грунтах
Приложение 3. Определение модуля раствора силиката натрия
Приложение 4. Испытание грунтов на закрепляемость
Приложение 5.Отбор и изготовление образцов из закрепленного грунта ненарушенной структуры
Приложение 6. Журнал производства работ по газовой силикатизации (форма)
Приложение 7. Норма расхода концентрированного силикатного раствора на закрепление 1 м3 грунта
Разработан: НИИ оснований и подземных сооружений Госстроя СССР
Утверждён: НИИ оснований и подземных сооружений Госстроя СССР
Издан: Стройиздат (1973 г. )