Скачать Организационно-технологические решения для условий реконструкции промышленных предприятий. Часть III. Организационно-технологические решения по производству отдельных видов работ. Повышение несущей способности оснований и фундаментов

Дата актуализации: 01.01.2021

Организационно-технологические решения для условий реконструкции промышленных предприятий. Часть III. Организационно-технологические решения по производству отдельных видов работ. Повышение несущей способности оснований и фундаментов

Статус:не установлен срок действия
Название рус.:Организационно-технологические решения для условий реконструкции промышленных предприятий. Часть III. Организационно-технологические решения по производству отдельных видов работ. Повышение несущей способности оснований и фундаментов
Дата добавления в базу:12.02.2016
Дата актуализации:01.01.2021
Область применения:Работа предназначена для инженерно-технических работников проектных, научно-исследовательских и других строительных организаций.
Оглавление:Общие положения по разработке и использованию организационно-технологических решений (ОТР) на выполнение отдельных видов работ
Рекомендации по повышению несущей способности оснований и фундаментов
   1 Строительство стен подземных сооружений способом "стена в грунте"
   2 Химическое закрепление грунтов
   3 Устройство буроинъекционных свай
   4 Усиление основания вдавливаемыми сваями
   5 Устройство фундаментов в вытрамбованных котлованах
   6 Струйная технология усиления несущей способности грунтов
Технологические схемы
Технологическая схема № 1. Усиление железобетонного фундамента в грунтах естественной влажности при увеличении нагрузок до двух раз с помощью монолитной железобетонной обоймы вокруг тела колонны и фундамента с глубиной заложения 2,5 м
Технологическая схема № 2. Усиление железобетонного фундамента в грунтах естественной влажности при увеличении нагрузок до двух раз с помощью монолитной железобетонной опорной рамы под фундаментом с глубиной заложения 3,0 м
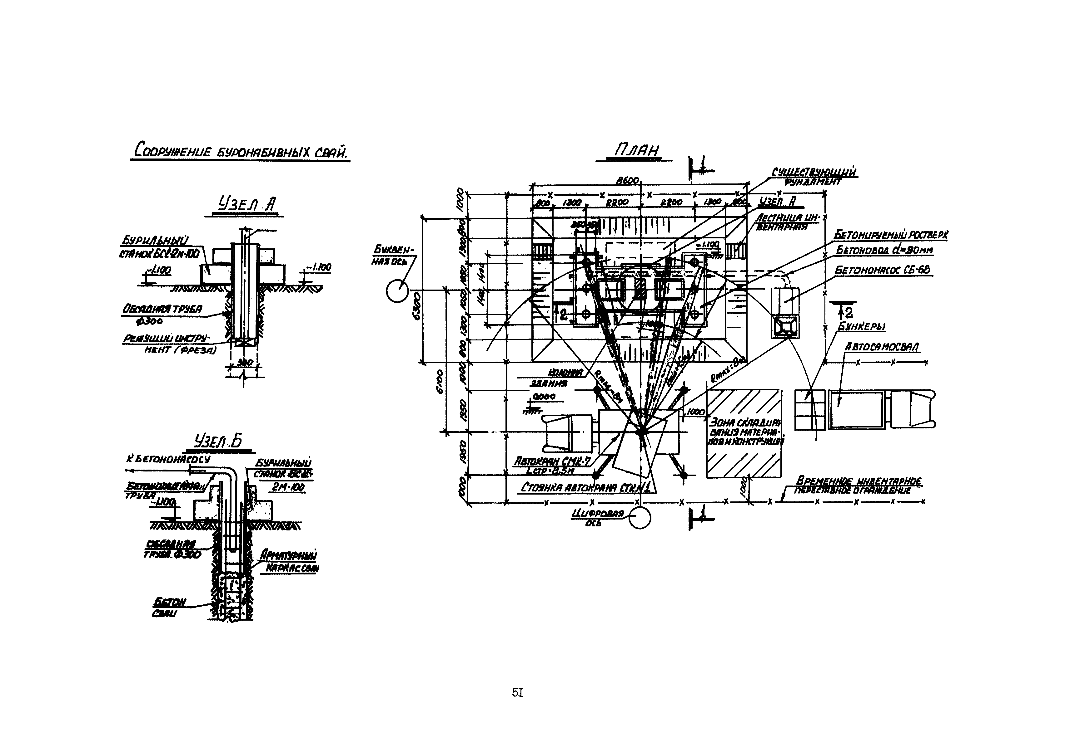
Технологическая схема № 3. Усиление железобетонного фундамента в грунтах естественной влажности при увеличении нагрузки до двух раз с помощью монолитного железобетонного ростверка на буронабивных сваях
Технологическая схема № 4. Усиление существующего железобетонного фундамента в водонасыщенных грунтах (с высоким уровнем грунтовых вод) при увеличении нагрузок до двух раз с помощью монолитной железобетонной опорной рамы под фундаментом с глубиной заложения 2,5 м
Технологическая схема № 5. Установка анкеров на эпоксидном клее в тело существующих железобетонных конструкций
Разработан: НИИОСП им. Герсеванова Госстроя России
ЦНИИОМТП
Утверждён: ЦНИИОМТП (TsNIIOMTP )