Скачать Руководство по проектированию жилых и общественных зданий с железобетонным каркасом, возводимых в сейсмических районах

Дата актуализации: 01.01.2021

Руководство по проектированию жилых и общественных зданий с железобетонным каркасом, возводимых в сейсмических районах

Статус:справочные материалы, мп, тпр
Название рус.:Руководство по проектированию жилых и общественных зданий с железобетонным каркасом, возводимых в сейсмических районах
Дата добавления в базу:12.02.2016
Дата актуализации:01.01.2021
Область применения:Руководство распространяется на проектирование жилых и общественных зданий с железобетонным сборным, сборно-монолитным и монолитным каркасом. возводимых в районах с сейсмичностью 7 -9 баллов.
Оглавление:Предисловие
1. Общие положения
   Расчетная сейсмичность
   Основные принципы проектирования
   Основные конструктивные системы каркасных зданий и область их применения
   Конструктивные схемы разрезки сборных каркасов на элементы
   Ограждающие конструкции
2. Расчет на сейсмические воздействия
   Общие положения
   Особенности расчета несущей способности зданий и оснований при сейсмическом воздействии
3. Конструирование
   Фундаменты
   Элементы каркаса и их армирование
   Соединения элементов сборного и сборно-монолитного каркаса
   Стены, перегородки, перекрытия, их соединения и замоноличивание
   Лестницы
   Антисейсмические швы
Прояснения к методике применения приложений
Приложение 1. Примеры разрезки каркасов на сборные элементы
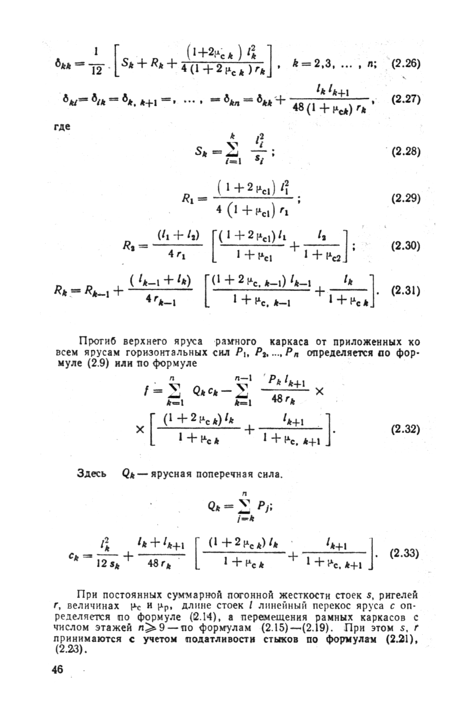
Приложение 2. Определение перемещений многоэтажных рамных каркасных зданий
Приложение 3. Определение перемещений многоэтажных рамно-связевых каркасных зданий и диафрагм с проемами связевых каркасных зданий
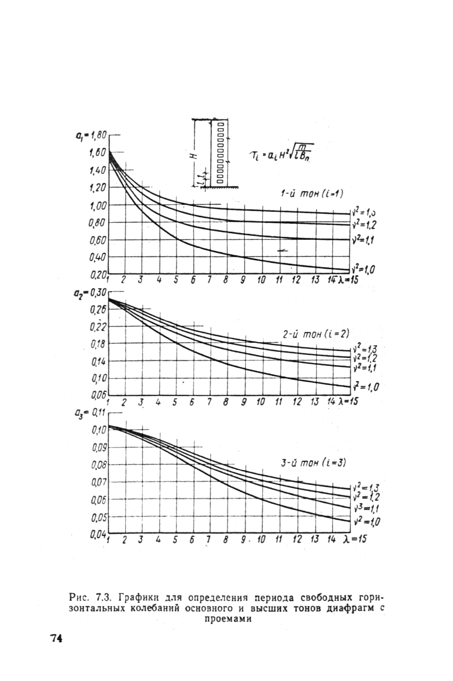
Приложение 4. Периоды и формы свободных горизонтальных колебаний рамных и рамно-связевых каркасных зданий высотой до 9 этажей
Приложение 5. Периоды и формы основного тона свободных колебаний зданий постоянной по высоте жесткости
Приложение 6. Определение периодов н форм свободных горизонтальных колебаний рамных каркасных зданий высотой до 5 этажей
Приложение 7. Периоды и формы свободных горизонтальных колебаний рамных, рамно-связевых и связевых каркасных зданий высотой 9 этажей и более
Приложение 8. Учет податливости основания при определении периодов и форм свободных горизонтальных колебаний зданий высотой 9 этажей и более
Приложение 9. Определение расчетной сейсмической нагрузки с учетом крутильных колебаний многоэтажного здания
Приложение 10. Определение расчетной сейсмической нагрузки с учетом пространственной работы для каркасных зданий рамной и рамно-связевой конструктивных схем . .
Приложение 11. Определение усилий от расчетных сейсмических нагрузок, отвечающих основному и высшим тонам колебаний, в элементах рамно-связевых каркасных зданий высотой 9 этажей и более
Приложение 12. Пример расчета 4-этажного каркасного здания с кирпичным заполнением
Приложение 13. Проверка прочности узлов
Разработан: ЦНИИСК им. В.А. Кучеренко
Утверждён: ЦНИИСК им. В.А. Кучеренко Госстроя СССР
Издан: Издательство литературы по строительству (1970 г. )
Список изменений:
Нормативные ссылки:

Текстовое изменение поправка

поправка