Скачать Технические условия и нормы на проектирование и возведение земляных намывных плотин. Проект

Дата актуализации: 01.01.2021

Технические условия и нормы на проектирование и возведение земляных намывных плотин. Проект

Статус:не действует
Название рус.:Технические условия и нормы на проектирование и возведение земляных намывных плотин. Проект
Дата добавления в базу:12.02.2016
Дата актуализации:01.01.2021
Область применения:В проекте технических условий и норм излагаются указания по новейшим методам проектирования и строительства намывных плотин из песчаных и супесчаных грунтов.
Оглавление:Предисловие
Часть I. Общие вопросы
   Раздел 1. Область применения ТУ и Н
   Раздел 2. Классификация плотин
   Раздел 3. Выбор типа плотин
   Раздел 4. Основные определения и терминология
   Раздел 5. Основные требования к плотине
   Раздел 6. Требования к грунтам
Часть II. Изыскания и исследования карьерных грунтов
   Раздел 1. Общие требования к карьерам
   Раздел 2. Объем и состав инженерно-геологических изысканий
   Раздел 3. Объем, состав и методика исследований грунтов карьера
   Раздел 4. Обработка материалов изысканий
Часть III. Проектирование плотин
   Раздел 1. Ширина плотины по гребню
   Раздел 2. Превышение гребня над НПГ и МПГ
   Раздел 3. Предварительное назначение очертания профиля
   Раздел 4. Фракционирование грунта при намыве
   Раздел 5. Выбор расчетных характеристик грунтов при проектировании намывных плотин
   Раздел 6. Противофильтрационные мероприятия в земляных плотинах
   Раздел 7. Дренажные устройства
   Раздел 8. Подбор обратных фильтров дренажей
   Раздел 9. Мероприятия по защите откосов от разрушения
   Раздел 10. Расчеты плотин на фильтрацию
   Раздел 11. Фильтрационная устойчивость грунтов тела и основания плотины
   Раздел 12. Расчет устойчивости откосов плотин
   Раздел 13. Расчет плотин на осадку
Часть IV. Возведение плотин
   Раздел 1. Разработка грунта в карьерах и подача пульпы на карты намыва
   Раздел 2. Схемы и технология намыва плотин
   Раздел 3. Отвод осветленной воды из прудка за пределы сооружения
   Раздел 4. Намыв земляных плотин при отрицательных температурах воздуха
   Раздел 5. Геотехнические контрольные наблюдения при возведении намывных плотин
Приложение I. Основные параметры намывных плотин
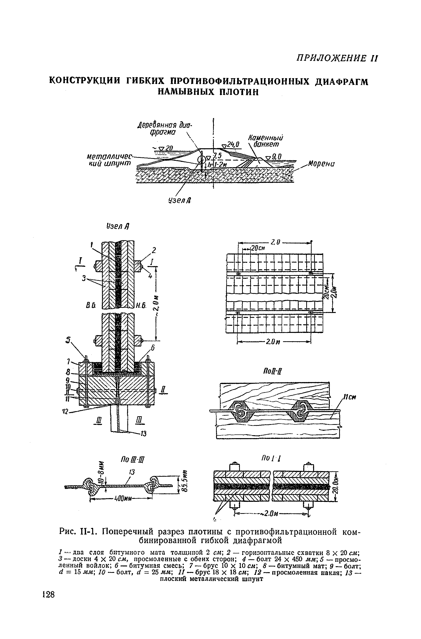
Приложение II. Конструкции гибких противофильтрационных диафрагм намывных плотин
Приложение III. Расчет защитных покрытий верховых откосов намывных плотин
Приложение IV. Фильтрационные расчеты намывных плотин
Приложение V. Расчет устойчивости откосов намывных плотин
Приложение VI. Расчет намывных плотин на осадку
Приложение VII. Таблицы и графики основных данных по разработке грунта в карьерах и подаче пульпы на карты намыва
Приложение VIII. Примеры намывных плотин
Разработан: ВОДГЕО
Утверждён: ВОДГЕО
Издан: Государственное издательство литературы по строительству, архитектуре и строительным материалам (1959 г. )
Нормативные ссылки: