Скачать Рекомендации по типизации блоков основных процессов химической технологии

Дата актуализации: 01.01.2021

Рекомендации по типизации блоков основных процессов химической технологии

Статус:справочные материалы, мп, тпр
Название рус.:Рекомендации по типизации блоков основных процессов химической технологии
Дата добавления в базу:12.02.2016
Дата актуализации:01.01.2021
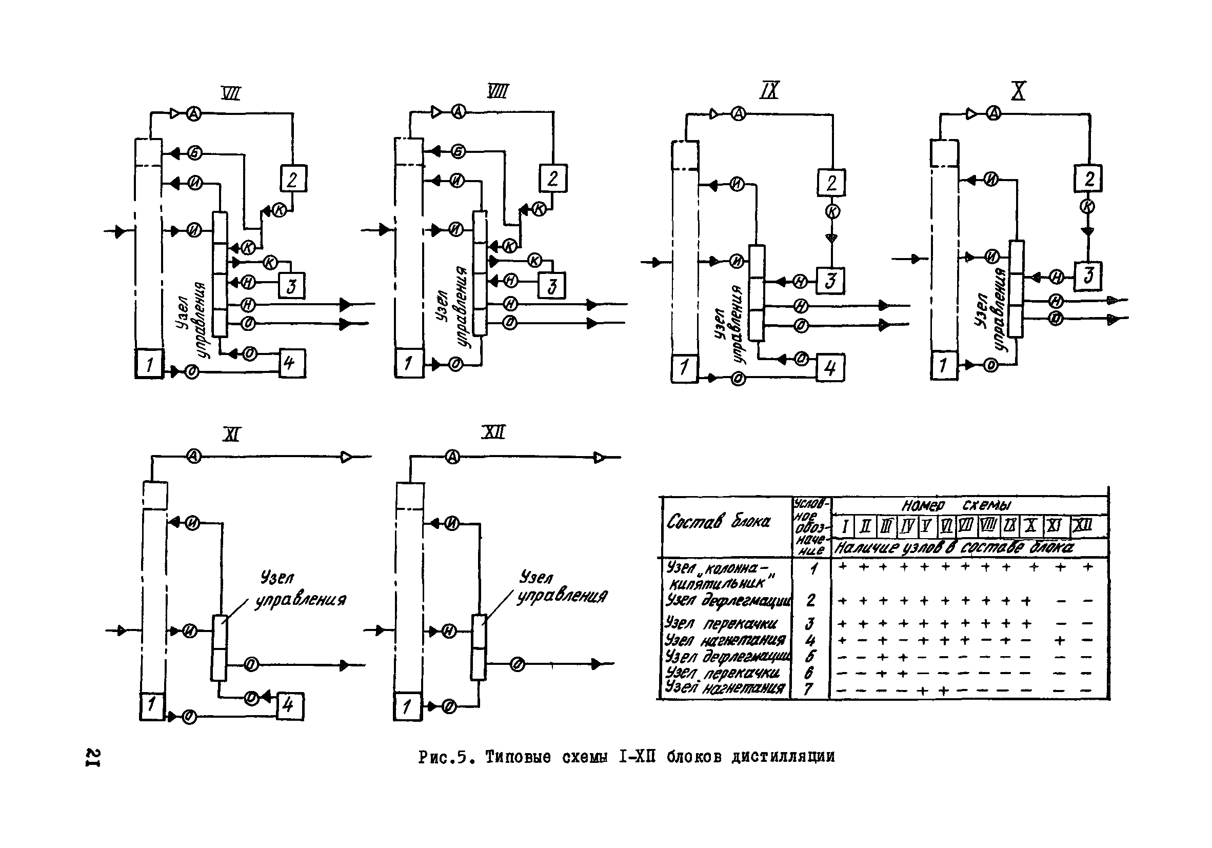
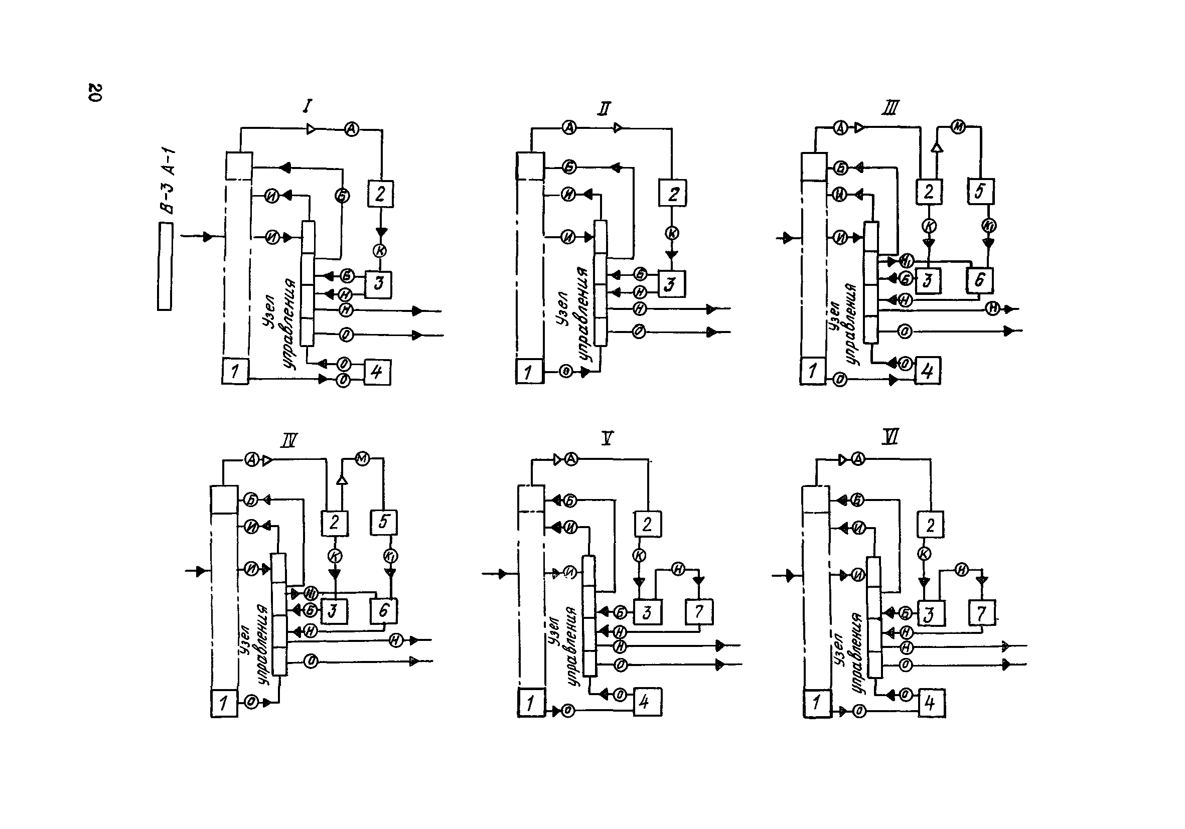
Область применения:В рекомендациях приведены правила типизации технологических блоков, предназначенных для осуществления гидродинамических, массо- и теплообменных процессов. Рассмотрены правила выполнения внутрипроектной, межпроектной и отраслевой типизации. Рекомендации предназначены для разработчиков технологических блоков
Оглавление:1. Общие положения
2. Проектная типизация
3. Межпроектная типизация блоков
4. Отраслевая типизация
5. Термины и определения, принятые в настоящих рекомендациях
Издан: ЦБНТИ Минмонтажспецстроя СССР (1986 г. )
Нормативные ссылки: