Скачать Рекомендации по проектированию и устройству оснований и фундаментов с предпостроечным оттаиванием вечномерзлых грунтовДата актуализации: 01.01.2021 |
| Статус: | справочные материалы, мп, тпр |
| Название рус.: | Рекомендации по проектированию и устройству оснований и фундаментов с предпостроечным оттаиванием вечномерзлых грунтов |
| Дата добавления в базу: | 12.02.2016 |
| Дата актуализации: | 01.01.2021 |
| Область применения: | В Рекомендациях содержаться основные положения установления необходимости предпостроечного оттаивания вечномерзлых грунтов в основании зданий и сооружений, расчета глубины оттаивания, выбор способа оттаивания - гидрооттаивание, электрооттаивание - технологии производства работ по оттаиванию, проектирование фундаментов, а также указан порядок и объем работ по контролю выполнения запроектированной подготовки основания. |
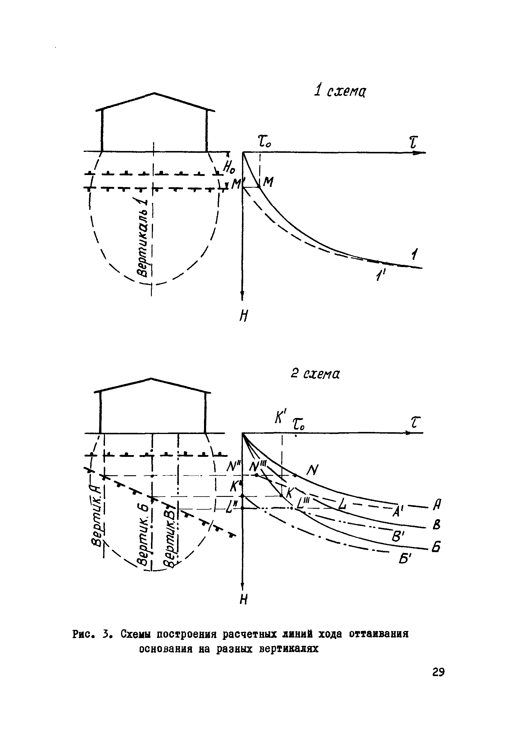
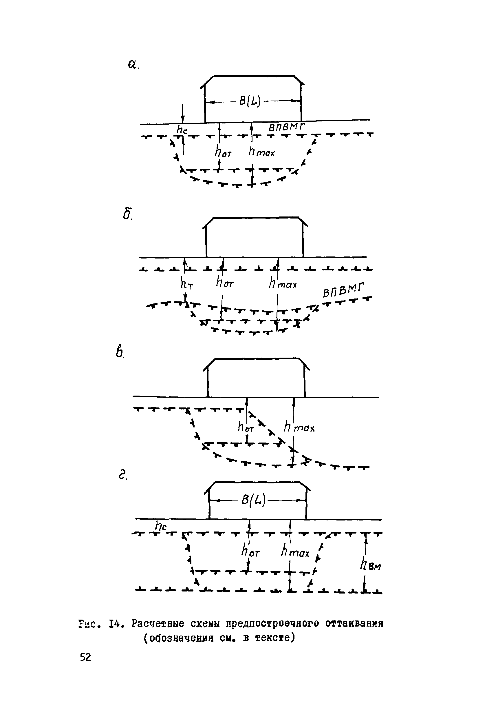
| Оглавление: | Глава I. Основные предпосылки проектирования оснований и фундаментов с предпостроечным оттаиванием вечномерзлых грунтов Общие положения Предварительное определение необходимости предпостроечного оттаивание вечномерзлых грунтов в основании Требования к инженерно-геокриологическим (инженерно-геологическим и мерзлотным) изысканиям и исследованиям Характеристики грунтов, необходимые для расчета оснований Глава II. Проектирование оснований и фундаментов с предпостроечным оттаиванием вечномерзлых грунтов Общий порядок проектирования основания Расчет зоны оттаивания вечномерзлых грунтов в основании проектируемого здания Примеры расчета Расчет осадки оттаивающего основания Определение необходимой глубины предпостроечного оттаивания основания Расчет несущей способности оснований, сложенных оттаявшими грунтами Учет влияния на устойчивость здания последующего в эксплуатационный период оттаивания нижней части основания Типы фундаментов, применяемых на оттаявших грунтах Глава III. Проектирование предпостроечного оттаивания вечномерзлых грунтов в основании и производство работ Основные положения Способы оттаивания вечномерзлых грунтов в основании и условиях их применения Проектирование гидрооттаивания Проектирование электрооттаивания Выбор способа оттаивания мерзлых грунтов Организация работ по предпостроечному оттаиванию мерзлых грунтов Электрооттаивание Гидрооттаивание Контроль выполнения работ Глава IV. Техника безопасности Глава V. Основные положения правил эксплуатации зданий Приложения |
| Разработан: | НИИОСП Госстроя СССР |
| Принят: | 18.09.1973 НТС Госстроя РСФСР (18-2) |
| Нормативные ссылки: |
|






















































































































