Скачать ГОСТ Р 56595-2015 Услуги населению. Услуги в сфере водного спорта. Технические требования. Часть 1. Услуги по торговле и техническому обслуживаниюДата актуализации: 01.01.2021
|
| Обозначение: | ГОСТ Р 56595-2015 |
| Обозначение англ: | GOST R 56595-2015 |
| Статус: | введен впервые |
| Название рус.: | Услуги населению. Услуги в сфере водного спорта. Технические требования. Часть 1. Услуги по торговле и техническому обслуживанию |
| Название англ.: | Services to the public. Services in the field of water sports. Part 1. Services for trading and maintenance |
| Дата добавления в базу: | 01.02.2017 |
| Дата актуализации: | 01.01.2021 |
| Дата введения: | 01.10.2016 |
| Область применения: | Стандарт устанавливает технические требования к услугам по торговле и техническому обслуживанию в сфере водного спорта. Стандарт распространяется на непосредственные отношения между клиентом (заказчиком) и предприятием, т.е. на осуществление деятельности непосредственно в месте оказания услуг торговли. |
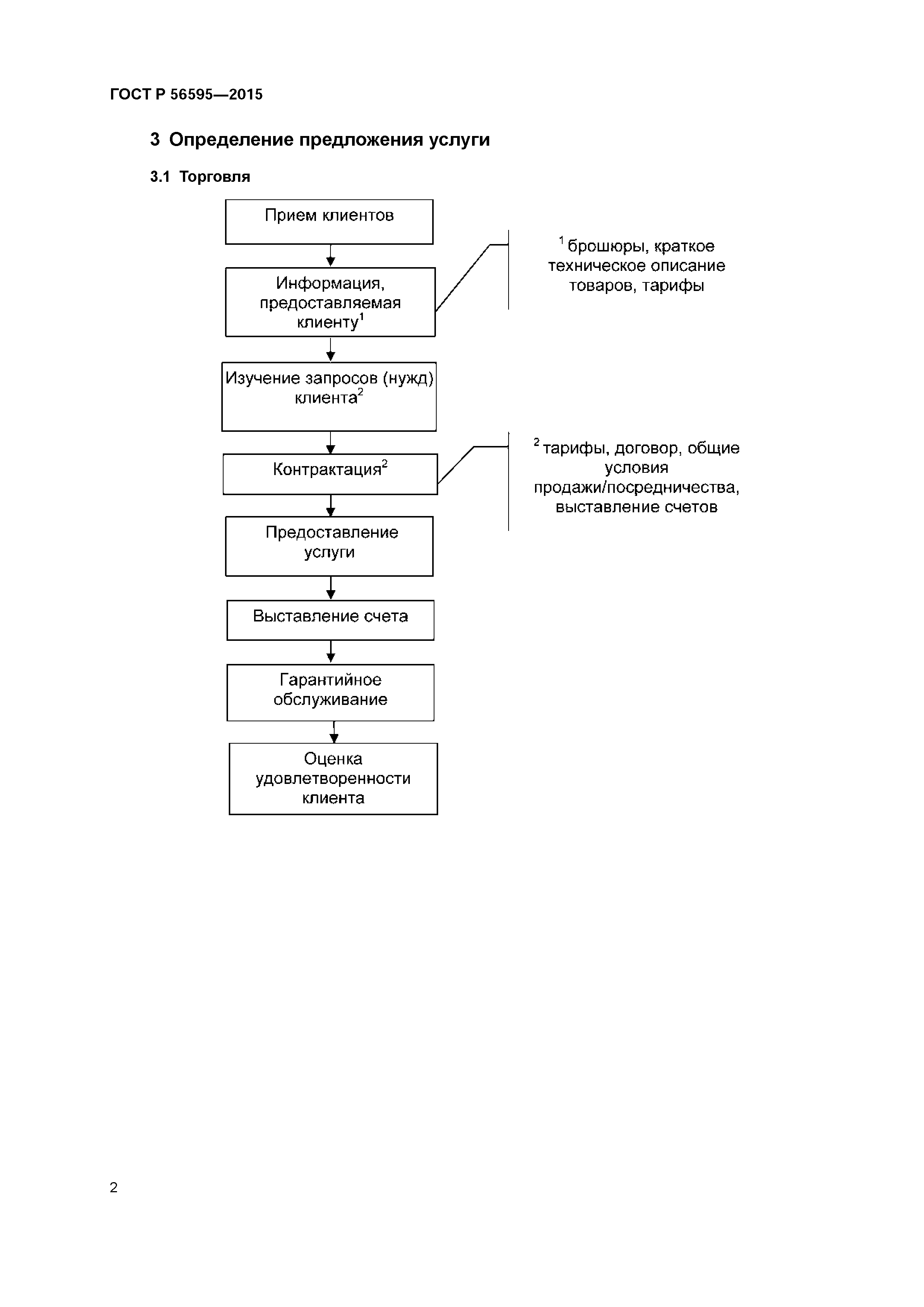
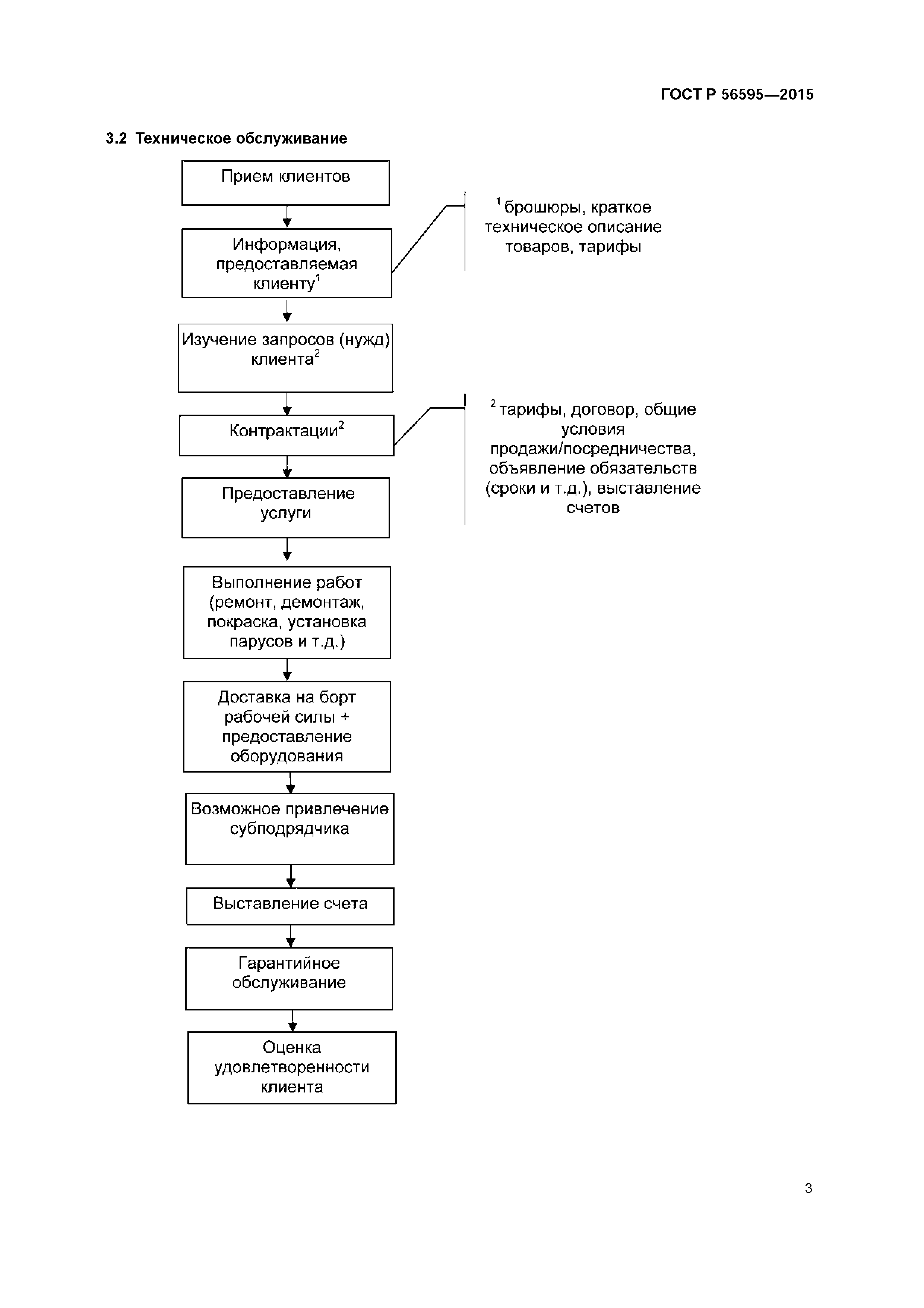
| Оглавление: | 1 Область применения 2 Термины и определения 3 Определение предложения услуги 3.1 Торговля 3.2 Техническое обслуживание 4 Необходимое предварительное условие 4.1 Соблюдение нормативных правовых актов 4.2 Страхование 4.3 Мониторинг документации 4.4 Защита окружающей среды 5 Прием клиентов (заказчиков) 5.1 Внешние идентификационные признаки 5.2 Помещение для приема клиентов (заказчиков) 5.3 Контакты 5.4 Запрос информации 6 Помощь в выборе потребностей клиента (заказчика) 6.1 Конфиденциальность 6.2 Выбор потребностей 6.3 Презентация предлагаемого товара и/или услуги 7 Заключение договора 7.1 Общие положения 7.2 Счет-заказ 7.3 Общие условия продажи 7.4 Заказ на поставку/ наряд-заказ 8 Оказание услуги 8.1 Контроль выполнения заказа 8.2 Контроль за поставщиками и субподрядчиками 8.3 Поставка (выдача товара) 8.4 Успешное завершение работ 8.5 Оформление накладных 8.6 Гарантии 9 Оценка удовлетворенности клиента (заказчика) 10 Человеческие ресурсы 10.1 Управление компетенциями персонала 10.2 Персонал, работающий с клиентом (заказчиком) Приложение А (справочное) Подтверждение гарантий Приложение В (информационное) Картотека оценки клиента (заказчика) Приложение С (информационное) Оказание помощи клиенту (заказчику) в выборе его потребностей Библиография |
| Разработан: | ОАО ВНИИС |
| Утверждён: | 28.09.2015 Росстандарт (1396-ст) |
| Издан: | Стандартинформ (2016 г. ) |
| Нормативные ссылки: |


















