Скачать ГОСТ Р 56655-2015 Композиты полимерные. Метод определения прочности при сдвиге в плоскости армирования пултрузионных стеклокомпозитных стержнейДата актуализации: 01.01.2021
|
| Обозначение: | ГОСТ Р 56655-2015 |
| Обозначение англ: | GOST R 56655-2015 |
| Статус: | введен впервые |
| Название рус.: | Композиты полимерные. Метод определения прочности при сдвиге в плоскости армирования пултрузионных стеклокомпозитных стержней |
| Название англ.: | Polymer composites. Method for determination of in-plane shear strength of pultruded glass–reinforced plastic rods |
| Дата добавления в базу: | 01.02.2017 |
| Дата актуализации: | 01.01.2021 |
| Дата введения: | 01.01.2017 |
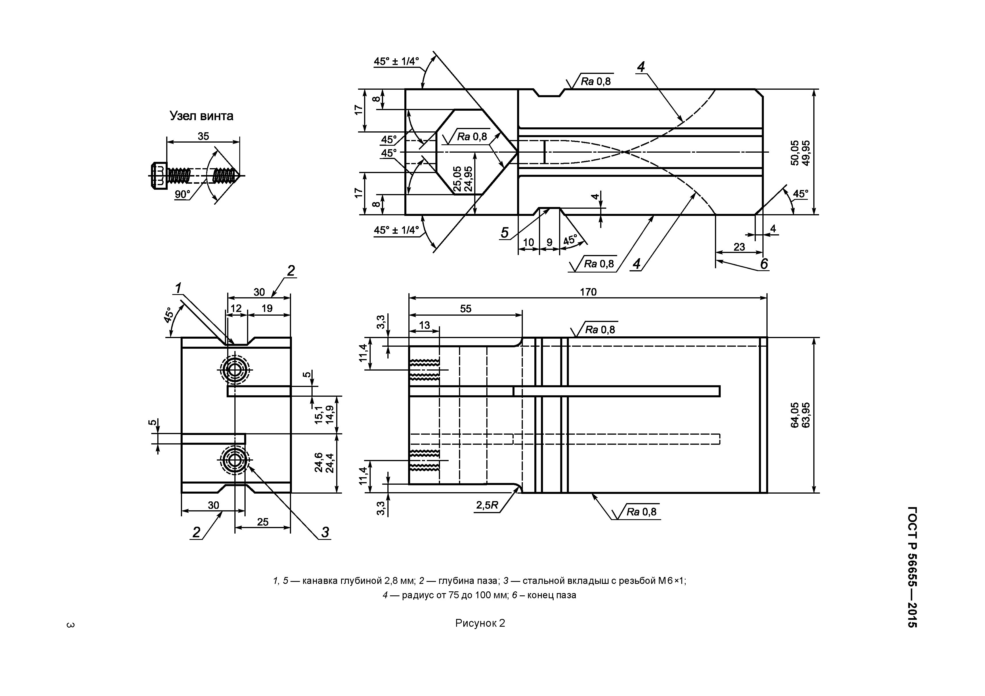
| Область применения: | Стандарт устанавливает метод определения предела прочности при сдвиге в плоскости армирования пултрузионных стеклокомпозитных стержней диаметром от 19 до 32 мм. |
| Оглавление: | 1 Область применения 2 Нормативные ссылки 3 Сущность метода 4 Оборудование 5 Подготовка к проведению испытаний 6 Проведение испытаний 7 Обработка результатов 8 Протокол испытаний Приложение ДА (справочное) Оригинальный текст невключенных структурных элементов Приложение ДБ (справочное) Оригинальный текст модифицированных структурных элементов Приложение ДВ (справочное) Сопоставление структуры настоящего стандарта со структурой примененного в нем стандарта АСТМ |
| Разработан: | Объединение юридических лиц Союз производителей композитов ОАО НПО Стеклопластик ООО Центр исследований и разработок Инновации будущего |
| Утверждён: | 20.10.2015 Федеральное агентство по техническому регулированию и метрологии (1597-ст) |
| Издан: | Стандартинформ (2016 г. ) |
| Нормативные ссылки: |
|














