Скачать ГОСТ Р МЭК 62555-2015 Государственная система обеспечения единства измерений. Мощность ультразвука в жидкостях. Общие требования к методикам измерений терапевтических преобразователей и систем высокой интенсивностиДата актуализации: 01.01.2021
|
| Обозначение: | ГОСТ Р МЭК 62555-2015 |
| Обозначение англ: | GOST R IEC 62555-2015 |
| Статус: | введен впервые |
| Название рус.: | Государственная система обеспечения единства измерений. Мощность ультразвука в жидкостях. Общие требования к методикам измерений терапевтических преобразователей и систем высокой интенсивности |
| Название англ.: | State system for ensuring the uniformity of measurements. Ultrasonic power in liquids. General requirements to measurement methods of therapeutic transducers and systems with high intensity |
| Дата добавления в базу: | 01.02.2017 |
| Дата актуализации: | 01.01.2021 |
| Дата введения: | 01.10.2016 |
| Область применения: | Стандарт распространяется на методики измерений мощности ультразвукового излучения терапевтических преобразователей и систем высокой интенсивности, в том числе: устанавливает общие принципы, относящиеся к измерению мощности ультразвуковых терапевтических полей высокой интенсивности (HITU)* при использовании систем уравновешивания радиационной силы, в которых преграда (мишень) пересекает измеряемое ультразвуковое поле; рассматривает калориметрический метод определения акустической мощности, излучаемой ультразвуковыми преобразователями, основанный на измерении теплового расширения мишени, заполненной жидкостью; устанавливает требования к электрической мощности ультразвуковых преобразователей; дает рекомендации по устранению акустической кавитации в процессе измерений; дает рекомендации по измерению HITU преобразователей различной конструкции и геометрии, в том числе преобразователей с коллимированным, расходящимся и сходящимся пучками, а также многоэлементных преобразователей; дает рекомендации по выбору наиболее подходящего метода измерений; предлагает методы оценки суммарной неопределенности измерений. |
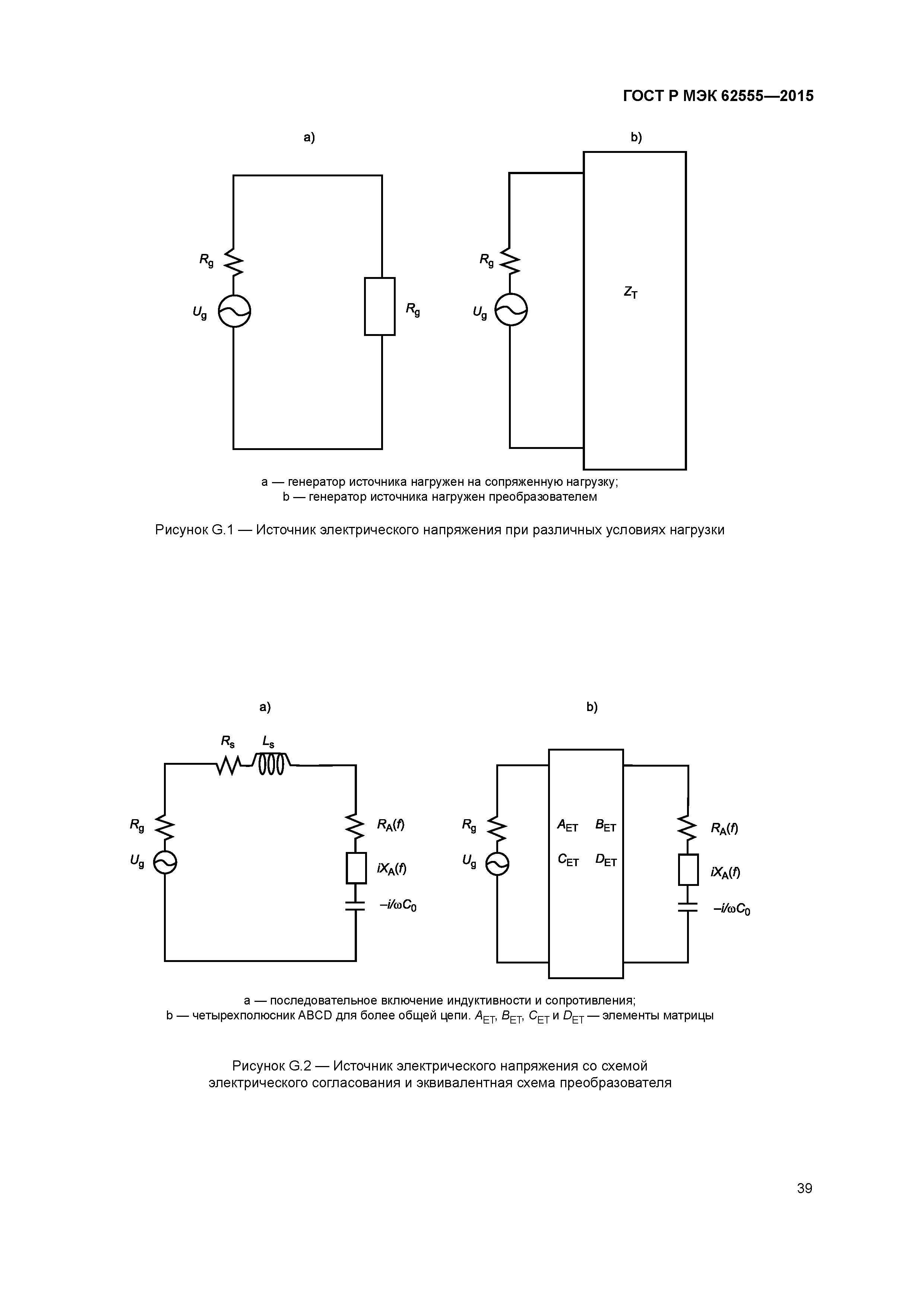
| Оглавление: | 1 Область применения 2 Нормативные ссылки 3 Термины и определения 4 Обозначения 5 Измерение мощности HITU оборудования 6 Радиационная сила, воздействующая на мишень 6.1 Общие положения 6.2 Требования к оборудованию 6.3 Требования к условиям измерений 6.4 Неопределенность результатов измерений 6.5 Вычисление выходной мощности 7 Изменение плавучести мишени 7.1 Общие положения 7.2 Требования к оборудованию 7.3 Требования к условиям измерений 7.4 Неопределенность результатов измерений 7.5 Вычисление выходной мощности 8 Электрические характеристики 8.1 Электрический импеданс 8.2 Радиационная проводимость (излучательная способность) 8.3 Эффективность Приложение А (справочное) другие методы измерения Приложение В (справочное) Размеры мишени Приложение С (справочное) Формулы для радиационной силы Приложение D (справочное) Метод расширения Приложение Е (справочное) Влияние затухания и акустических течений на определение воздействующей и выходной мощности Приложение F (справочное) Устранение кавитации Приложение G (справочное) Эффективность преобразователя Приложение ДА (справочное) Сведения о соответствии ссылочных международных стандартов и документов национальным стандартам Библиография |
| Разработан: | ФГУП ВНИИФТРИ |
| Утверждён: | 06.11.2015 Федеральное агентство по техническому регулированию и метрологии (1706-ст) |
| Издан: | Стандартинформ (2016 г. ) Стандартинформ (2019 г. ) |












































