Скачать ГОСТ 16782-2015 Пластмассы. Метод определения температуры хрупкости при удареДата актуализации: 01.01.2021
|
| Обозначение: | ГОСТ 16782-2015 |
| Обозначение англ: | GOST 16782-2015 |
| Статус: | взамен |
| Название рус.: | Пластмассы. Метод определения температуры хрупкости при ударе |
| Название англ.: | Plastics. Determination of the brittleness temperature by impact |
| Дата добавления в базу: | 01.02.2017 |
| Дата актуализации: | 01.01.2021 |
| Дата введения: | 01.01.2017 |
| Область применения: | Стандарт устанавливает метод определения температуры, при которой пластмассы с температурой хрупкости ниже 20 °С, не являющиеся жесткими при обычной температуре окружающей среды, становятся хрупкими и разрушаются в заданных условиях деформации. |
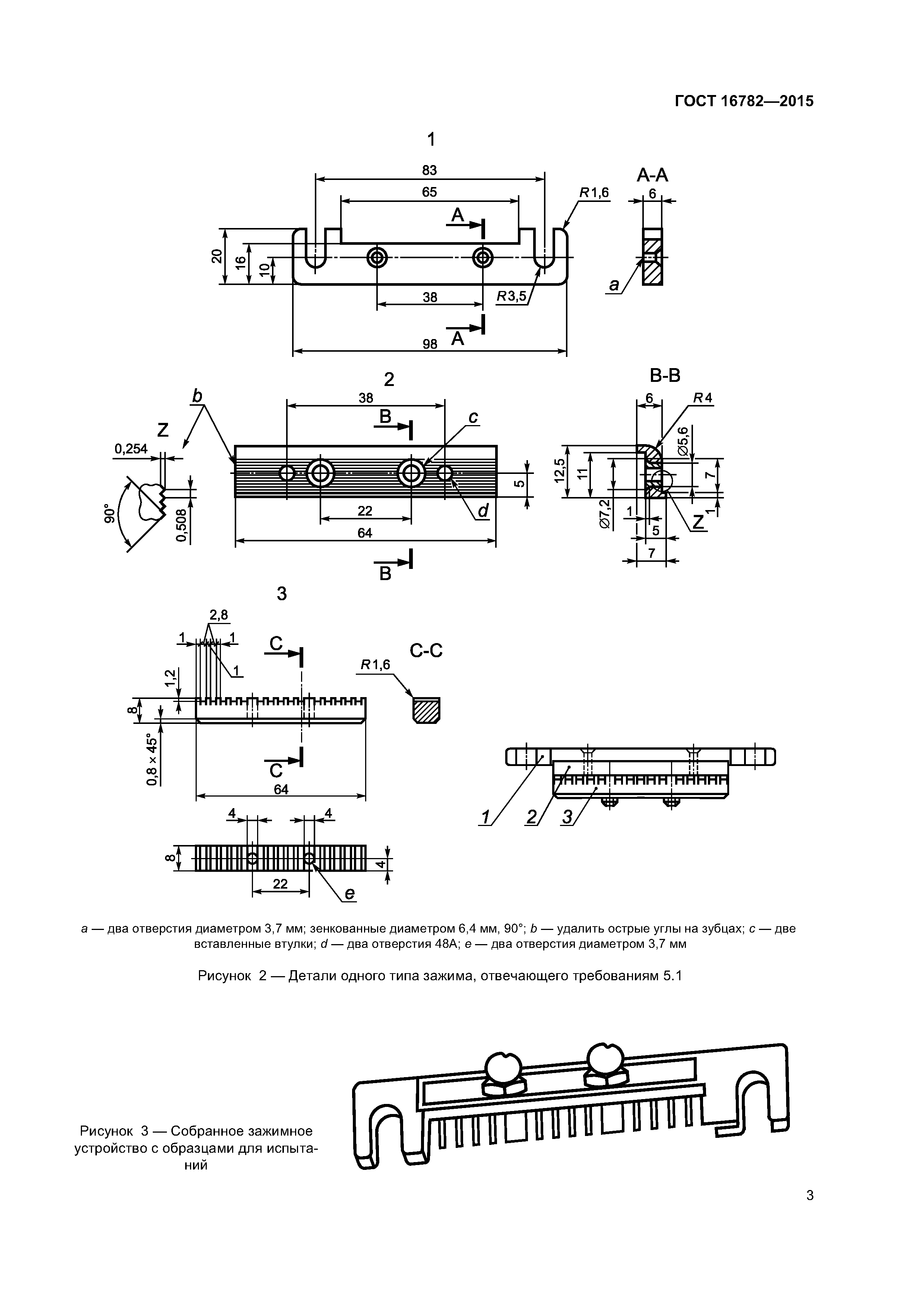
| Оглавление: | 1 Область применения 2 Нормативные ссылки 3 Термины и определения 4 Сущность метода 5 Аппаратура 6 Образцы для испытания 7 Кондиционирование 8 Проведение испытания 9 Обработка результатов 10 Протокол испытания Приложение ДА (справочное) Перечень изменений нормативных ссылок Библиография |
| Разработан: | Объединение юридических лиц Союз производителей композитов ФГУП ВНИИ СМТ ОАО НПО Стеклопластик ОАО Институт пластических масс имени Г.С. Петрова АНО Центр нормирования, стандартизации и классификации композитов |
| Утверждён: | 12.11.2015 Межгосударственный Совет по стандартизации, метрологии и сертификации (Inter-Governmental Council on Standardization, Metrology, and Certification 82-П) 20.11.2015 Федеральное агентство по техническому регулированию и метрологии (1917-ст) |
| Издан: | Стандартинформ (2016 г. ) |
| Заменяет собой: | |
| Нормативные ссылки: |














