Скачать ГОСТ 30323-95 Короткие замыкания в электроустановках. Методы расчета электродинамического и термического действия тока короткого замыканияДата актуализации: 01.01.2021
|
| Обозначение: | ГОСТ 30323-95 |
| Обозначение англ: | GOST 30323-95 |
| Статус: | введен впервые |
| Название рус.: | Короткие замыкания в электроустановках. Методы расчета электродинамического и термического действия тока короткого замыкания |
| Название англ.: | Short circuit in electrical installations. Calculation methods of thermal and electrodynamic effects short circuit currents |
| Дата добавления в базу: | 01.02.2017 |
| Дата актуализации: | 01.01.2021 |
| Дата введения: | 01.06.1997 |
| Область применения: | Стандарт распространяется на трехфазные электроустановки промышленной частоты и определяет общую методику расчета и проверки проводников и электрических аппаратов на электродинамическую и термическую стойкость при коротких замыканиях. |
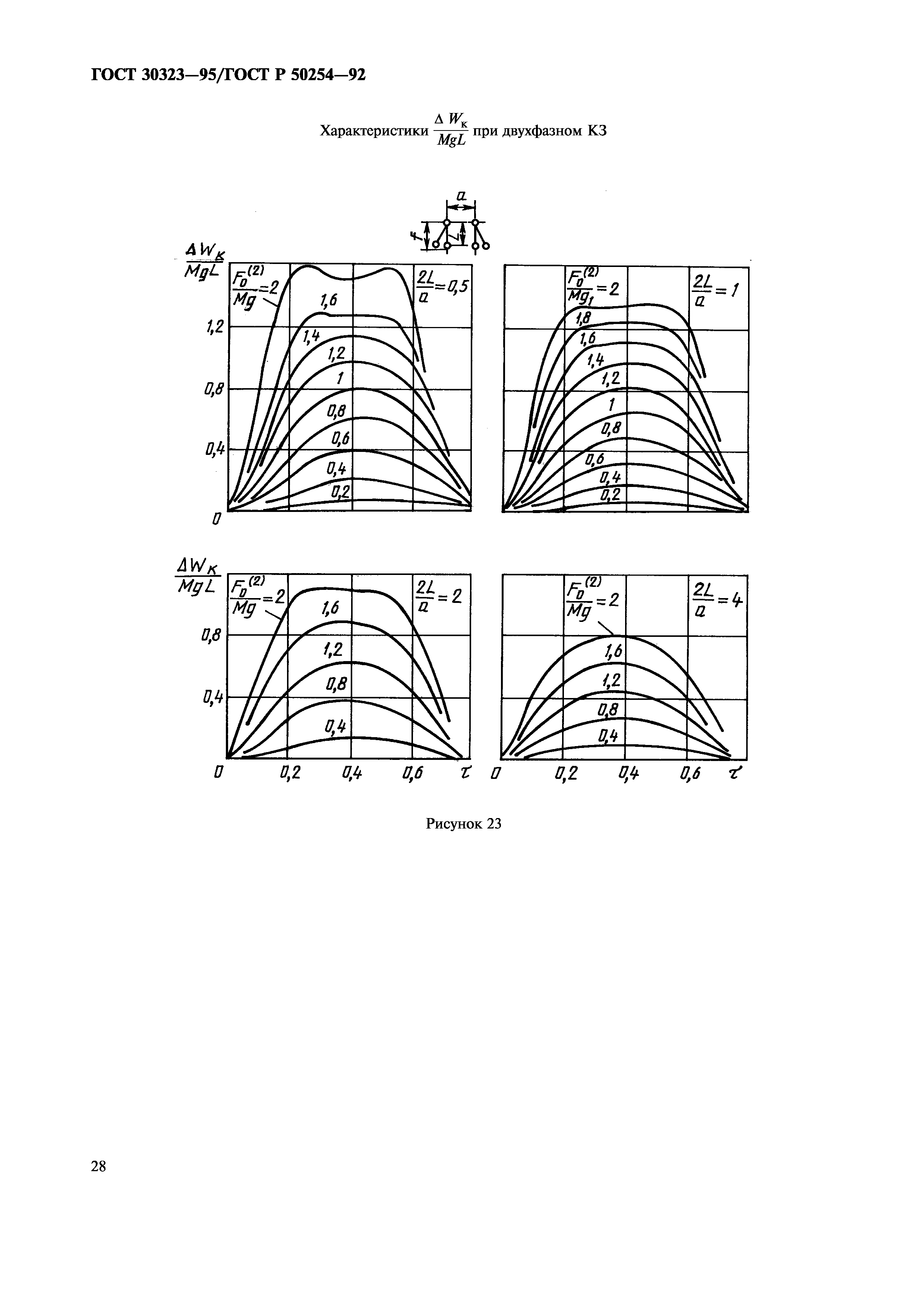
| Оглавление: | 1 Общие положения 1.1 Выбор расчетных условий КЗ 2 Электродинамическое действие тока КЗ 2.1 Расчет электродинамических сил взаимодействия проводников 2.2 Выбор расчетной механической схемы шинных конструкций и гибких токопроводов 2.3 Допустимые механические напряжения в материале проводников и механические нагрузки на опоры при КЗ 2.4 Определение механических напряжений в материале проводников и нагрузок па их опоры при КЗ 2.5 Проверка шинных конструкций, гибких проводников и электрических аппаратов на электро- динамическую стойкость при КЗ 3 Термическое действие тока короткого замыкания 3.1 Определение интеграла джоуля при КЗ 3.2 Проверка электрических аппаратов на термическую стойкость при КЗ 3.3 Проверка проводников на термическую стойкость при КЗ 3.4 Проверка силовых кабелей на невозгораемость при КЗ Приложение 1 (рекомендуемое) 1 Методика расчета гибких токопроводов 2 Методика расчета гибких токопроводов с учетом конструктивных элементов электроустановок Приложение 2 (рекомендуемое) Приложение 3 (рекомендуемое) Методика проверки токопроводов на электродинамическую стойкость при повторном включении на КЗ Приложение 4 (рекомендуемое) Примеры расчета электродинамической стойкости шинных конструкций |
| Разработан: | Подкомитет ПК-2 Технического комитета по стандартизации ТК 117 |
| Утверждён: | 26.04.1995 Межгосударственный Совет по стандартизации, метрологии и сертификации (Inter-Governmental Council on Standardization, Metrology, and Certification 7) 12.03.1996 Комитет Российской Федерации по стандартизации, метрологии и сертификации (164) |
| Издан: | ИПК Издательство стандартов (2000 г. ) ИПК Издательство стандартов (2004 г. ) |
| Нормативные ссылки: |






































