Скачать ГОСТ Р 56887-2016 Топливо древесное. Определение выхода летучих веществ стандартным методомДата актуализации: 01.01.2021
|
| Обозначение: | ГОСТ Р 56887-2016 |
| Обозначение англ: | GOST R 56887-2016 |
| Статус: | введен впервые |
| Название рус.: | Топливо древесное. Определение выхода летучих веществ стандартным методом |
| Название англ.: | Wood fuels. Determination of volatile matter by standard method |
| Дата добавления в базу: | 01.02.2017 |
| Дата актуализации: | 01.01.2021 |
| Дата введения: | 01.07.2017 |
| Область применения: | Стандарт устанавливает метод определения выхода газообразных продуктов, за исключением водяных паров, выраженного в процентах (масс.), выделяемых анализируемой пробой мелкокускового древесного топлива в стандартных условиях испытания. Метод распространяется на древесную пыль, опилки, пеллеты, зеленую щепу, измельченное топливо и другие виды мелкокускового древесного топлива, максимальный объем кусков которого составляет 16,39 см в степени 3 (1 дюйм в степени 3). Выход летучих веществ, определяемый настоящим методом, может быть использован для установления закупочных и продажных цен на древесные материалы или для характеристики древесины как топлива. В качестве единиц измерения стандарт использует единицы системы СИ. Величины, указанные в круглых скобках, приведены только для справки. Стандарт не претендует на полноту описания всех мер безопасности, если таковые имеются, связанных с его использованием. Пользователь стандарта несет ответственность за обеспечение соответствующих мер безопасности и охраны здоровья и определяет целесообразность применения законодательных ограничений перед его использованием. |
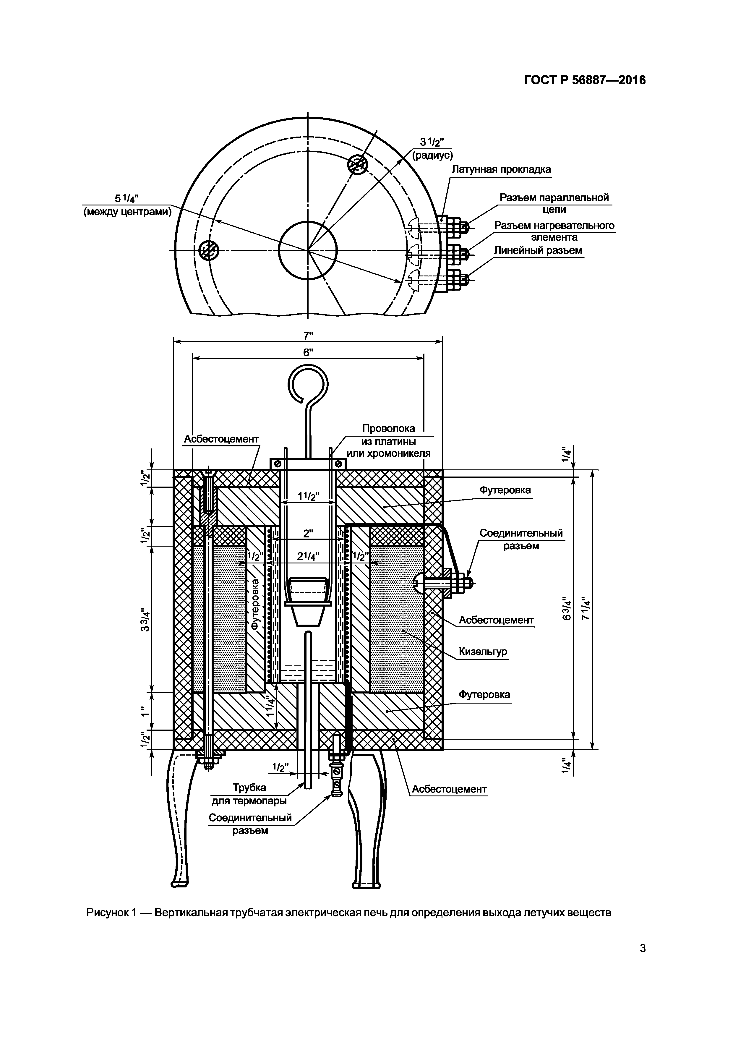
| Оглавление: | 1 Область применения 2 Нормативные ссылки 3 Сущность метода 4 Назначение и применение 5 Аппаратура 6 Проведение испытания 7 Обработка результатов 8 Прецизионность и систематическая погрешность Приложение ДА (справочное) Сведения о соответствии ссылочных стандартов АСТМ национальным стандартам Российской Федерации |
| Разработан: | ФГУП ВНИИ СМТ |
| Утверждён: | 09.03.2016 Федеральное агентство по техническому регулированию и метрологии (126-ст) |
| Издан: | Стандартинформ (2016 г. ) |
| Нормативные ссылки: |







