Скачать ГОСТ 33603-2015 Пневматические тормозные соединения между буксирующими и буксируемыми автомобильными транспортными средствами. Технические требования и методы испытанийДата актуализации: 01.01.2021
|
| Обозначение: | ГОСТ 33603-2015 |
| Обозначение англ: | GOST 33603-2015 |
| Статус: | введен впервые |
| Название рус.: | Пневматические тормозные соединения между буксирующими и буксируемыми автомобильными транспортными средствами. Технические требования и методы испытаний |
| Название англ.: | Air brake connections between towing and towed road vehicles. Technical requirements and test methods |
| Дата добавления в базу: | 01.02.2017 |
| Дата актуализации: | 01.01.2021 |
| Дата введения: | 01.04.2017 |
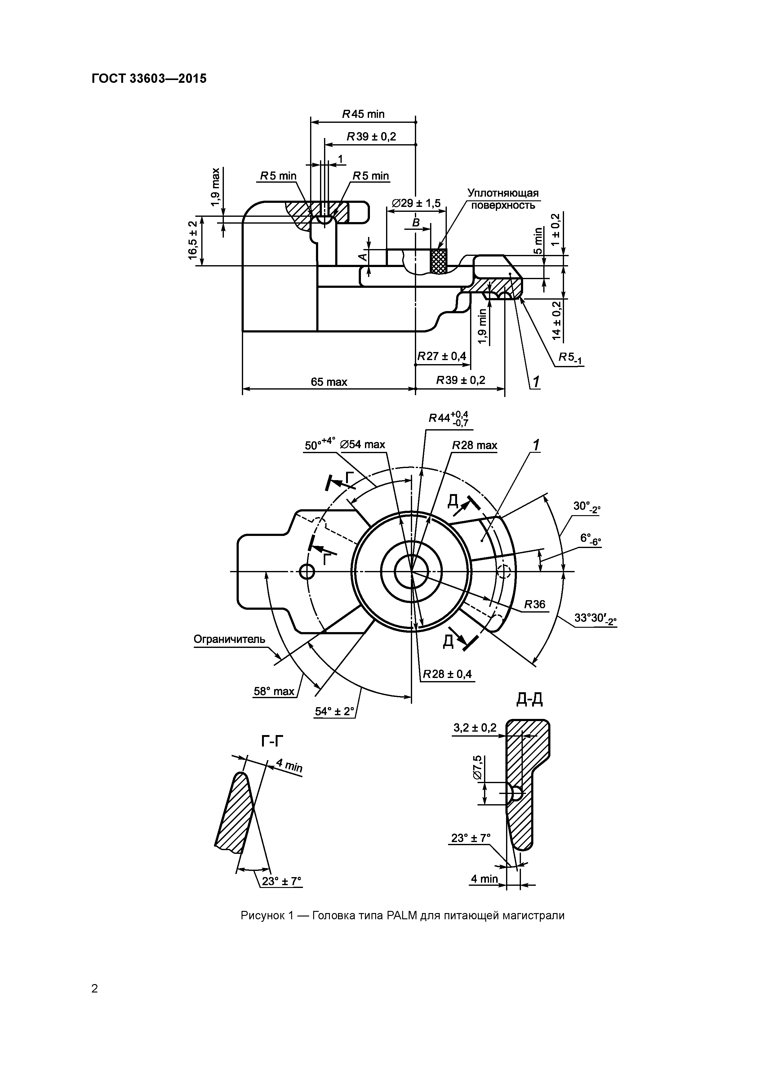
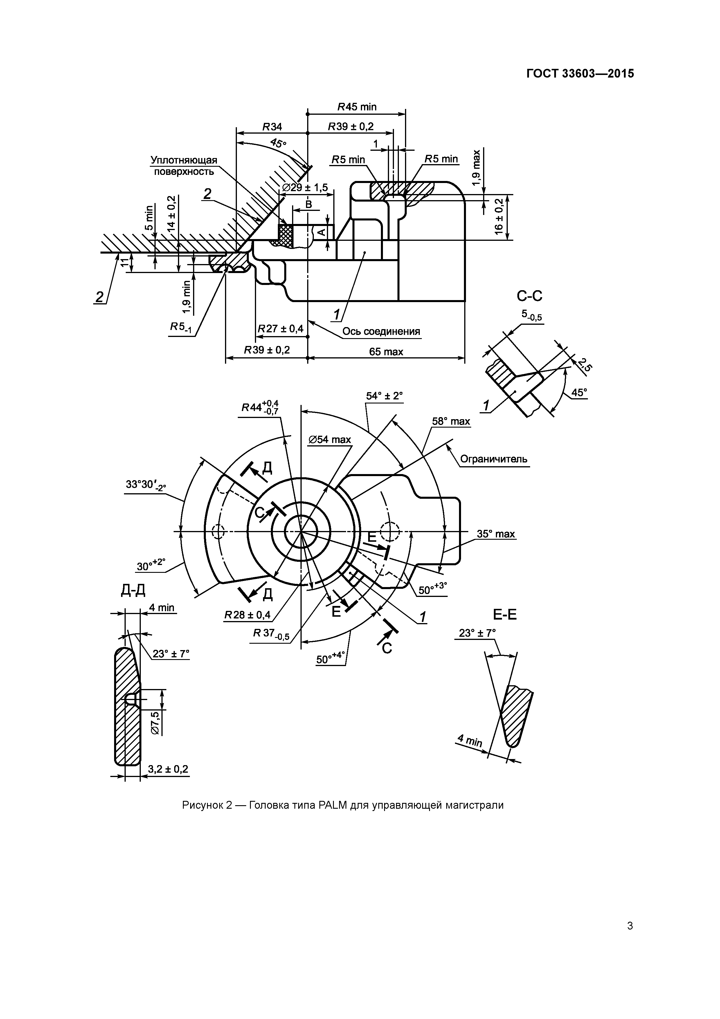
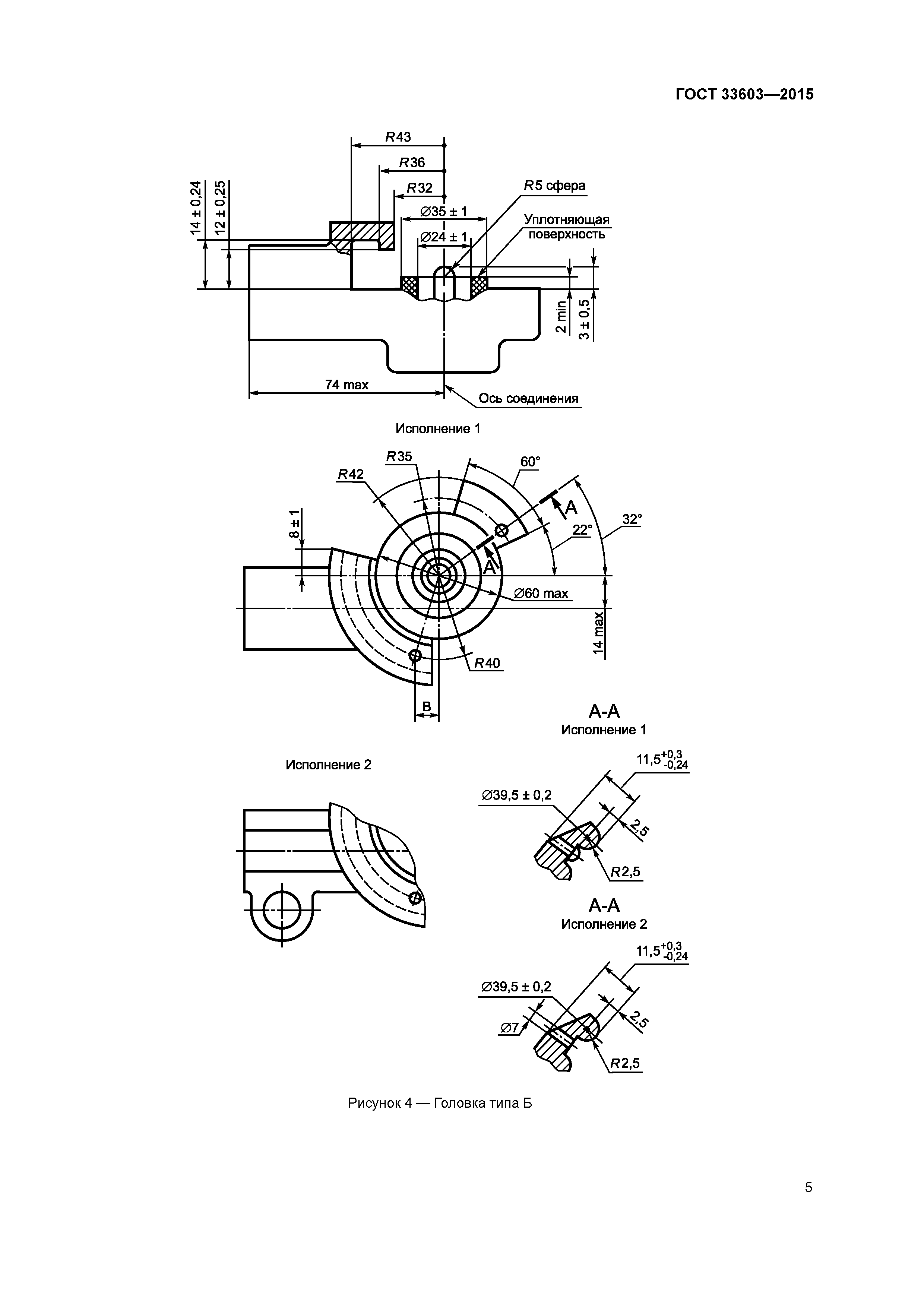
| Область применения: | Стандарт распространяется на соединительные головки (далее - головки), предназначенные для соединения однопроводных и двухпроводных приводов тормозных систем автомобилей и тракторов (далее - тягачей) с приводами тормозных систем прицепов, полуприцепов и прицепных сельскохозяйственных машин (далее - прицепов), а также для соединения тормозных систем звеньев автопоездов и тракторных поездов, и устанавливает типы головок, основные присоединительные размеры, необходимые для обеспечения их соединения, технические требования и методы испытаний. |
| Оглавление: | 1 Область применения 2 Типы и основные размеры головок 3 Технические требования 4 Методы испытаний |
| Разработан: | ФГУП НАМИ |
| Утверждён: | 12.11.2015 Межгосударственный Совет по стандартизации, метрологии и сертификации (Inter-Governmental Council on Standardization, Metrology, and Certification 82-П) 22.06.2016 Федеральное агентство по техническому регулированию и метрологии (668-ст) |
| Издан: | Стандартинформ (2016 г. ) Стандартинформ (2019 г. ) |










