Скачать ГОСТ 33532-2015 Пилы рамные и тарные с режущими элементами, наплавленными стеллитом, для вертикальных лесопильных рам. Технические условияДата актуализации: 01.01.2021 ГОСТ 33532-2015
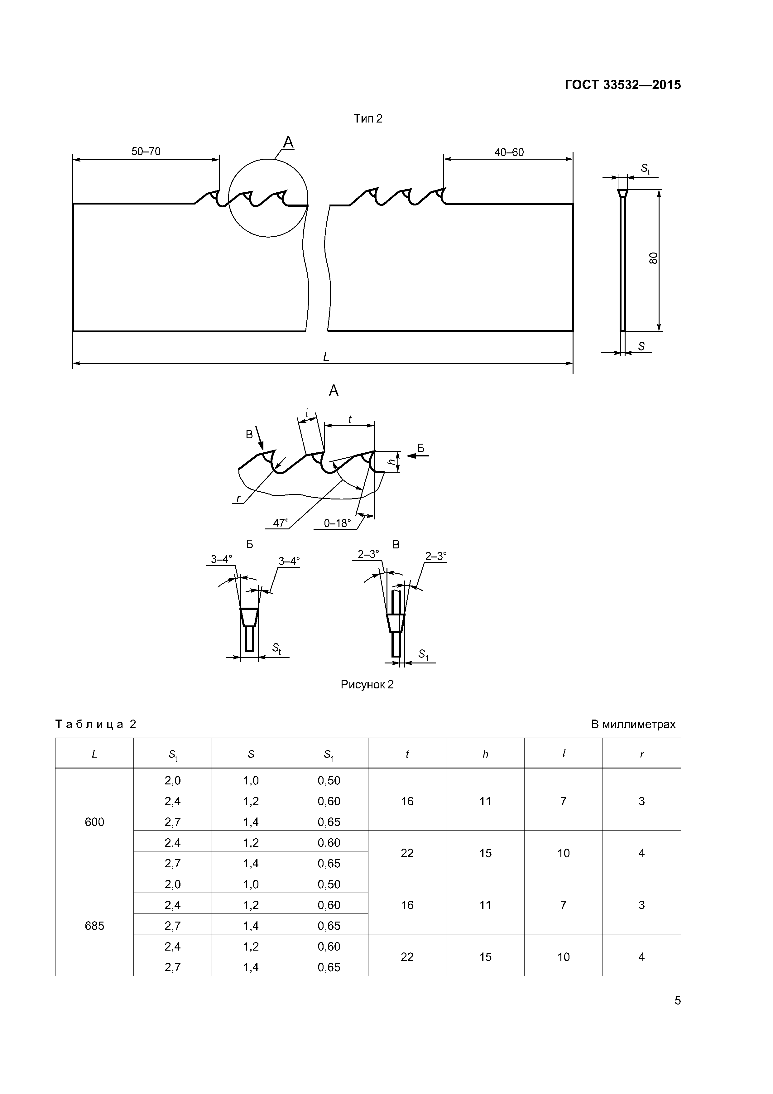
Пилы рамные и тарные с режущими элементами, наплавленными стеллитом, для вертикальных лесопильных рам. Технические условия| Обозначение: | ГОСТ 33532-2015 | | Обозначение англ: | GOST 33532-2015 | | Статус: | введен впервые | | Название рус.: | Пилы рамные и тарные с режущими элементами, наплавленными стеллитом, для вертикальных лесопильных рам. Технические условия | | Название англ.: | Gang saw blades and mini gang saw blades with cutting elements welded by satellite for vertical gang-saw. Specifications | | Дата добавления в базу: | 01.02.2017 | | Дата актуализации: | 01.01.2021 | | Дата введения: | 01.01.2017 | | Область применения: | Стандарт распространяется на рамные и тарные пилы, наплавленные износостойким литым сплавом (стеллитом), предназначенные для первичной продольной распиловки лесоматериалов хвойных и лиственных пород на вертикальных и тарных лесопильных рамах. | | Оглавление: | 1 Область применения 2 Нормативные ссылки 3 Технические требования 4 Правила приемки 5 Методы контроля и испытаний 6 Требования безопасности 7 Транспортирование и хранение | | Разработан: | ОАО ВНИИИНСТРУМЕНТ
| | Утверждён: | 29.09.2015 Межгосударственный Совет по стандартизации, метрологии и сертификации (Inter-Governmental Council on Standardization, Metrology, and Certification 80-П) 08.06.2016 Федеральное агентство по техническому регулированию и метрологии (570-ст)
| | Издан: | Стандартинформ (2016 г. )
| | Нормативные ссылки: | |
          
|