Скачать ГОСТ 33529-2015 Пилы ленточные бревнопильные с режущими элементами, наплавленными стеллитом. Технические условияДата актуализации: 01.01.2021 ГОСТ 33529-2015
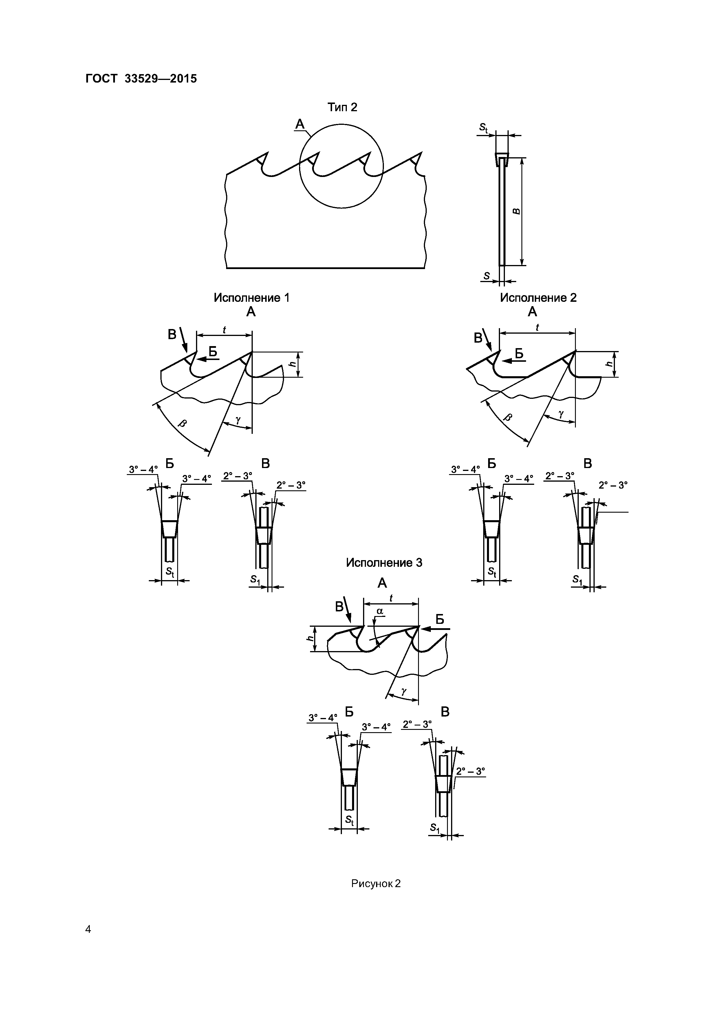
Пилы ленточные бревнопильные с режущими элементами, наплавленными стеллитом. Технические условия| Обозначение: | ГОСТ 33529-2015 | | Обозначение англ: | GOST 33529-2015 | | Статус: | введен впервые | | Название рус.: | Пилы ленточные бревнопильные с режущими элементами, наплавленными стеллитом. Технические условия | | Название англ.: | Band saw blades with cutting elements welded by satellite. Specifications | | Дата добавления в базу: | 01.02.2017 | | Дата актуализации: | 01.01.2021 | | Дата введения: | 01.01.2017 | | Область применения: | Стандарт распространяется на ленточные бревнопильные пилы, наплавленные стеллитом (износостойким литым сплавом), предназначенные для продольной распиловки хвойных и лиственных пород и древесных материалов на ленточнопильных станках. | | Оглавление: | 1 Область применения 2 Нормативные ссылки 3 Технические требования 4 Правила приемки 5 Методы контроля и испытаний 6 Требования безопасности 7 Транспортирование и хранение | | Разработан: | ОАО ВНИИИНСТРУМЕНТ
| | Утверждён: | 29.09.2015 Межгосударственный Совет по стандартизации, метрологии и сертификации (Inter-Governmental Council on Standardization, Metrology, and Certification 80-П) 08.06.2016 Федеральное агентство по техническому регулированию и метрологии (568-ст)
| | Издан: | Стандартинформ (2016 г. )
| | Нормативные ссылки: | |
         
|