Скачать Методические указания по проектированию рекультивации нарушенных земель на действующих и проектируемых предприятиях угольной промышленностиДата актуализации: 01.01.2021 |
| Статус: | действует |
| Название рус.: | Методические указания по проектированию рекультивации нарушенных земель на действующих и проектируемых предприятиях угольной промышленности |
| Дата добавления в базу: | 01.02.2017 |
| Дата актуализации: | 01.01.2021 |
| Дата введения: | 01.01.1991 |
| Область применения: | Методические указания содержат комплекс нормативно-справочных и технологических материалов, необходимых при проектировании технической и биологической рекультивации нарушенных земель на действующих и проектируемых предприятиях. Методические указания позволяют ускорить разработку и повысить качество проектно-сметной документации и эффективность проектирования рекультивационных работ на основе научно обоснованных рекомендаций по проектированию и производству рекультивационных работ, учитывающих современные достижения научно-технического прогресса и передовой опыт восстановления нарушенных земель. |
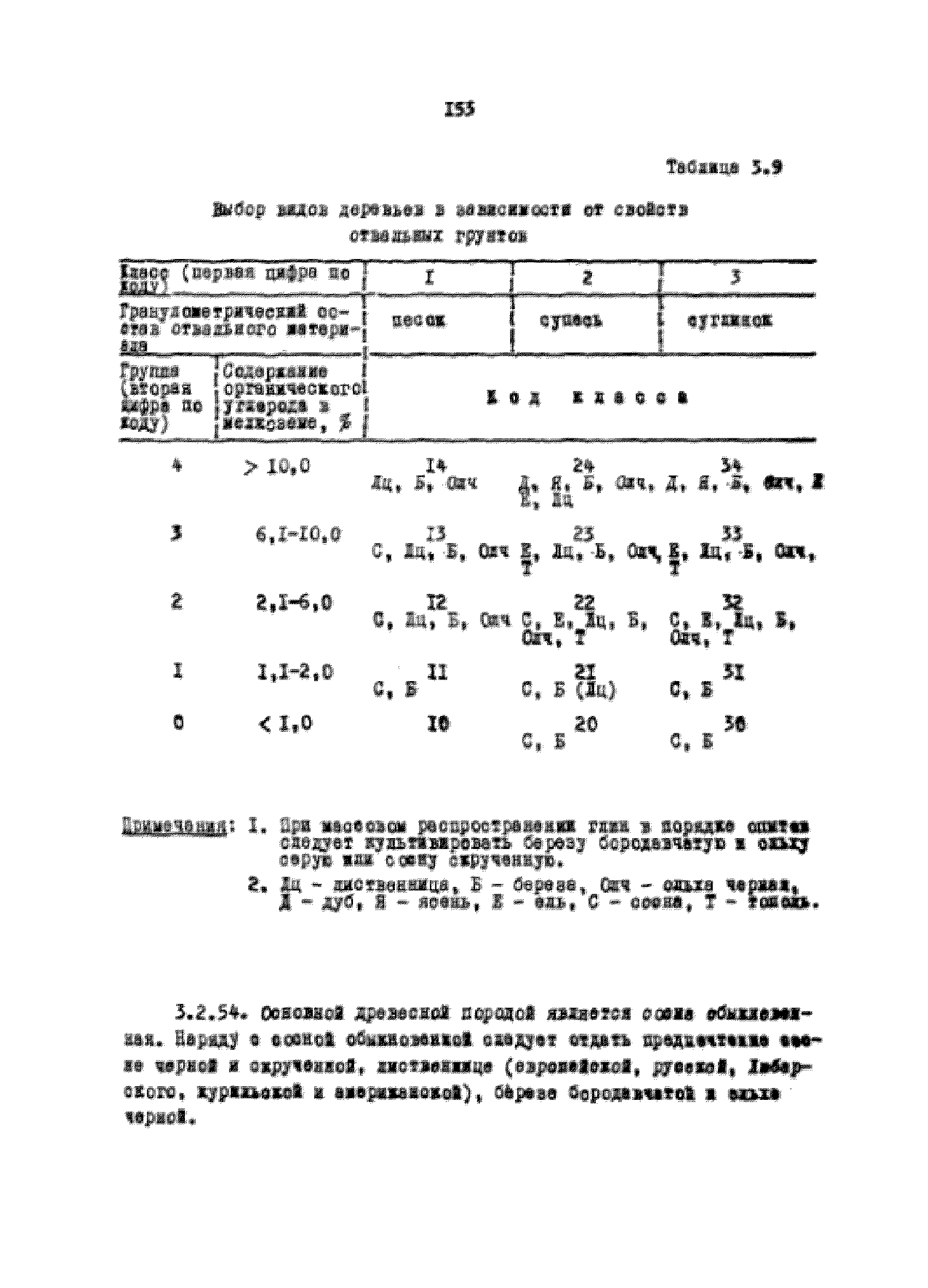
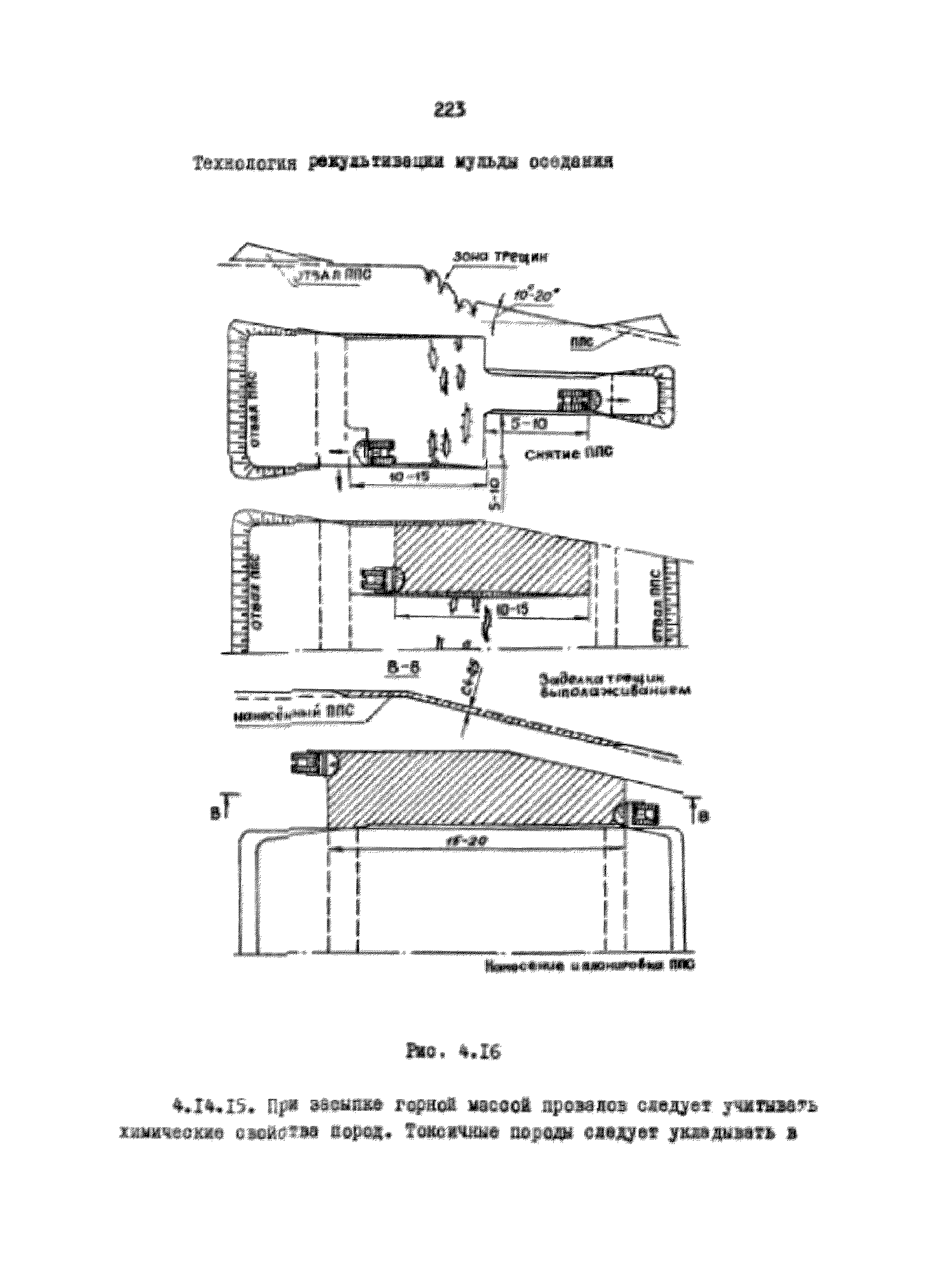
| Оглавление: | 1. Общие положения 1.1. Основные принципы формирования горно-промышленных ландшафтов 1.2. Требования к технологии открытых и подземных горных работ с учетом последующей рекультивации нарушенных земель 1.3. технологические нормативы рекультивации нарушенных земель для основных угольных бассейнов 1.4. Состав проектно-сметной документации и порядок ее разработки 1.5. Исходные данные, порядок их подготовки и представления 1.6. Согласование и утверждение проектно-сметной документации 2. Проектирование технического этапа рекультивации при открытых разработках 2.1. Технология снятия и изнесения плодородного слоя 2.2. Формирование рекультивационного слоя при сельскохозяйственном направлении рекультивации 2.3. Формирование рекультивационного слоя при лесохозяйственном направлении рекультивации 2.4. Технология рекультивации внутренних и внешних отвалов 2.5. Планировочные работы 2.6. Технология выполаживания и террасирования откосов 2.7. Регулирование водного режима 2.8. Рекультивация карьерных выемок 2.9. Подготовка отвалов под строительство 2.10. Формирование технологических комплексов средств механизации для выполнения технического этапа рекультивации 2.11. Инженерная подготовка рекультивируемых земель 2.12. Автомобильные дороги для рекультивации нарушенных земель на открытых горных работах 3. Проектирование биологической рекультивации при открытых разработках 3.1. сельскохозяйственное направление рекультивации 3.2. Лесохозяйственное направление рекультивации 3.3. Рекреационное направление рекультивации 3.4. санитарно-гигиеническое направление рекультивации 3.5. Водохозяйственное направление рекультивации 3.6. Формирование технологических комплексов средств механизации для выполнения биологического этапа 4. Проектирование рекультивации земель, нарушенных при подземной добыче угля 4.1. Нарушенные и нарушаемые земли 4.2. Общие положения 4.3. требования к технологии технической рекультивации 4.4. Технология технического этапа 4.5. Устройство подъездных дорог 4.6. Нарезка въездных полутраншей и траншей 4.7. Снятие вершины конических и хребтовых отвалов 4.8. Понижение отвалов 4.9. Выполаживание откосов 4.10. Тушение отвалов 4.11. Нарезка террас, микротеррас 4.12. Формирование плоских породных отвалов шахт и обогатительных фабрик 4.13. Рекультивации шламо- и хвостохранилищ 4.14. Рекультивация подработанных нарушенных земель 4.15. Формирование технологических комплексов средств механизации 5. Проектирование биологической рекультивации при подземной добыче угля 5.1. Озеленение отвалов шахт 5.2. Освоение нарушенных шахтных полей 5.3. Формирование технологических комплексов средств механизации Заключение Список использованных источников Приложение 1. Расчетные формулы для определения боковой поверхности, объема и приращения площади от понижения и террасирования отвалов Приложение 2. Перечень машин и оборудования для рекультивации нарушенных земель Приложение 3. Проект пруда Приложение 4. Схемы тушения и профилактики самовозгорания породных отвалов Приложение 5. Методика определения основных свойств пород и их смесей Приложение 6. Методика определения объема нагретых, перегоревших и неперегоревших пород Приложение 7. Методы расчета доз извести для мелиорации сульфидсодержащих пород и нейтрализации кислых почв Приложение 8. Подбор древесных и кустарниковых пород |
| Разработан: | ВНИИОСуголь Минуглепрома |
| Утверждён: | 01.01.1991 Всесоюзный научно-исследовательский и проектно-конструкторский институт охраны окружающей природной среды в угольной промышленности (ВНИИОСуголь) |
| Нормативные ссылки: |
|



































































































































































































































































































