Скачать Технические условия на метод определения мышьяковистого ангидрида и других соединений трехвалентного мышьяка в воздухе

Дата актуализации: 01.01.2021

Технические условия на метод определения мышьяковистого ангидрида и других соединений трехвалентного мышьяка в воздухе

Статус:справочные материалы, мп, тпр
Название рус.:Технические условия на метод определения мышьяковистого ангидрида и других соединений трехвалентного мышьяка в воздухе
Дата добавления в базу:01.02.2017
Дата актуализации:01.01.2021
Область применения:Технические условия распространяются на метод определения содержания мышьяковистого ангидрида и других соединений трехвалентного мышьяка в воздухе промышленных помещений при санитарном контроле.
Оглавление:I. Общая часть
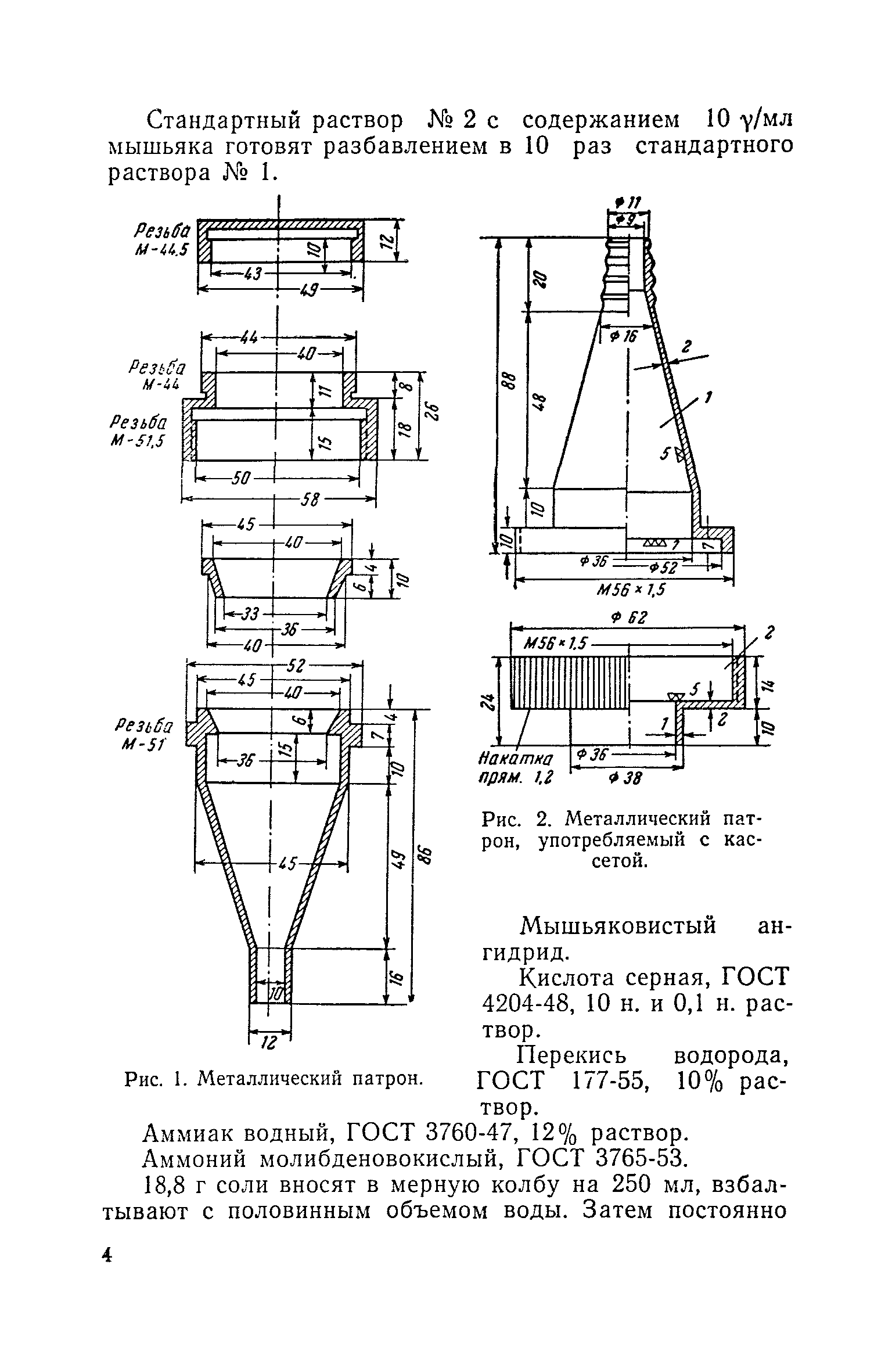
II. Реактивы и аппаратура
III. Отбор пробы воздуха
IV. Описание определения
Приложение 1. Приведение объема воздуха к нормальным условиям
Приложение 2. Таблица коэффициентов для различных температур и давлений
Утверждён:02.10.1964 Заместитель главного санитарного врача СССР
Издан: Издательство Медицина (1965 г. )
Нормативные ссылки: