Скачать Временная методика сбора и обработки информации о ресурсе очистных комбайнов хемотронными концентраторами информации

Дата актуализации: 01.01.2021

Временная методика сбора и обработки информации о ресурсе очистных комбайнов хемотронными концентраторами информации

Статус:справочные материалы, мп, тпр
Название рус.:Временная методика сбора и обработки информации о ресурсе очистных комбайнов хемотронными концентраторами информации
Дата добавления в базу:01.02.2017
Дата актуализации:01.01.2021
Область применения:Методика регламентирует организацию сбора и обработки статистических данных о ресурсе серийных очистных комбайнов по эксплуатационной нагруженности. Методику рекомендуется применять также при испытаниях на надежность опытных образцов очистных комбайнов в условиях эксплуатации
Оглавление:Введение
1. Общие положения
2. Порядок получения информации
3. Планирование наблюдений
4. Методика обработки данных
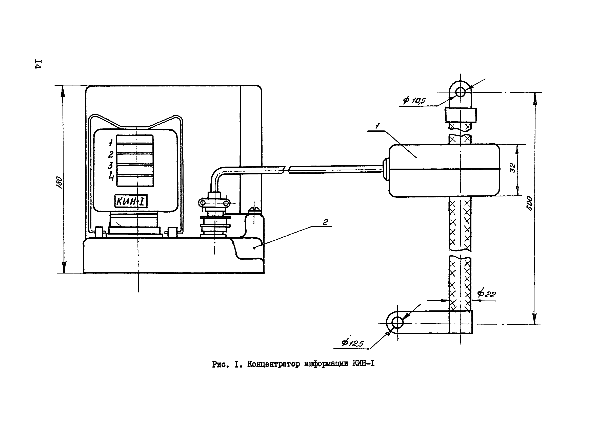
Приложение 1. Концентратор информации КИН-1
Приложение 2. Номограмма для определения точности среднего
Приложение 3. Журнал регистрации показаний хемотронных концентраторов информации КИН-1
Приложение 4. Формы-накопители эксплуатационной информации
Разработан: Минуглепром СССР
ДонУГИ
ИГД им. А.А. Скочинского
Утверждён:22.12.1977 Начальник Энергомеханического управления Минуглепрома СССР
Нормативные ссылки: