Скачать Временная методика текущего контроля эффективности профилактического увлажнения угольных пластов, бурения опережающих скважин большого диаметра и гидровымыва опережающих полостей для предотвращения внезапных выбросов угля и газа при проведении подготовительных выработок на шахтах Кузбасса и Воркутского месторождения

Дата актуализации: 01.01.2021

Временная методика текущего контроля эффективности профилактического увлажнения угольных пластов, бурения опережающих скважин большого диаметра и гидровымыва опережающих полостей для предотвращения внезапных выбросов угля и газа при проведении подготовительных выработок на шахтах Кузбасса и Воркутского месторождения

Статус:справочные материалы, мп, тпр
Название рус.:Временная методика текущего контроля эффективности профилактического увлажнения угольных пластов, бурения опережающих скважин большого диаметра и гидровымыва опережающих полостей для предотвращения внезапных выбросов угля и газа при проведении подготовительных выработок на шахтах Кузбасса и Воркутского месторождения
Дата добавления в базу:01.02.2017
Дата актуализации:01.01.2021
Область применения:Предназначена для опытно-промышленной проверки шахтными службами прогноза внезапных выбросов угля и газа (в Кузбассе) и шахтными службами борьбы с динамическими явлениями (в Воркутском месторождении) под методическим руководством ВостНИИ
Оглавление:I. Общие сведения
II. Контроль эффективности профилактического увлажнения пластов и опережающих скважин большого диаметра
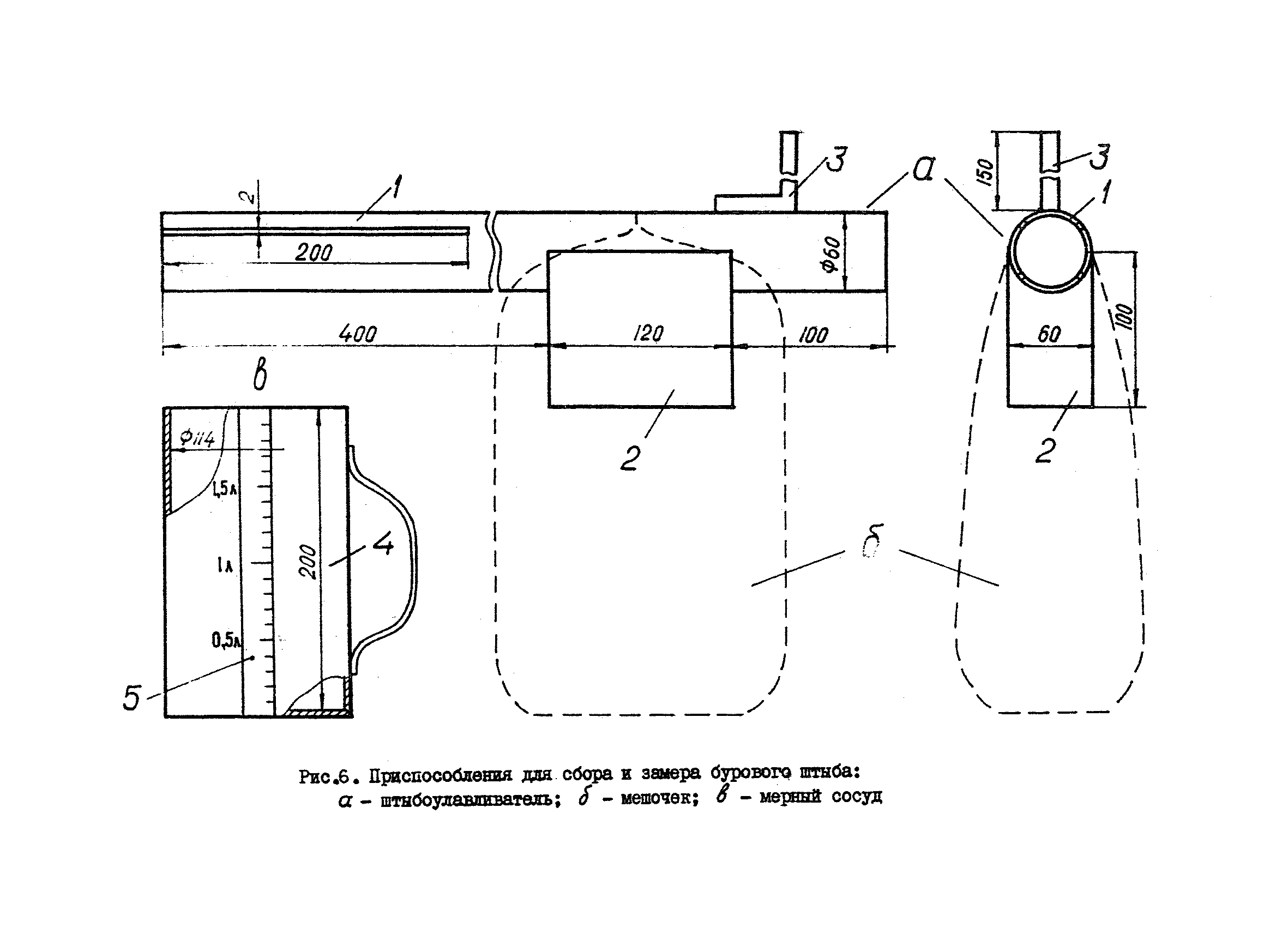
   1. Необходимые приборы, инструменты и принадлежности
   2. Порядок проведения работ по замерам метановыделения и выхода бурового штыба из контрольных скважин
   3. Оценка эффективности профилактического увлажнения пластов и опережающих скважин большого диаметра
   4. Параметры контрольных скважин, частота контроля эффективности профилактического увлажнения пластов и опережающих скважин большого диаметра
III. Контроль эффективности гидровымыва опережающих полостей
   1. Необходимые приборы и принадлежности
   2. Порядок проведения работ по замерам метановыделения в горную выработку
   3. Оценка эффективности гидровымыва опережающих полостей
Приложение. Формы рабочих книжек и журналов
Разработан: ВостНИИ (Восточный научно-исследовательский институт по безопасности работ в горной промышленности)
Утверждён: ВостНИИ