Скачать Временное методическое руководство по выявлению источников загрязнения атмосферы, производству замеров выбросов вредных веществ на предприятиях угольной промышленностиДата актуализации: 01.01.2021 |
| Статус: | справочные материалы, мп, тпр |
| Название рус.: | Временное методическое руководство по выявлению источников загрязнения атмосферы, производству замеров выбросов вредных веществ на предприятиях угольной промышленности |
| Дата добавления в базу: | 01.02.2017 |
| Дата актуализации: | 01.01.2021 |
| Область применения: | Руководство предназначено для работников предприятий угольной промышленности, занимающихся вопросами охраны атмосферы, для определения на основе непосредственных замеров количества промышленных выбросов и уровней загрязнения приземного слоя воздуха, как исходных данных при разработке и проведении мероприятий, составлении обоснованных планов, отчетов по охране воздушного бассейна. В руководстве определены методические положения по выявлению источников загрязнения атмосферы на предприятиях, по производству замеров промышленных выбросов и загрязнения приземного слоя воздуха, а также по обработке результатов обследования источников загрязнения атмосферы. |
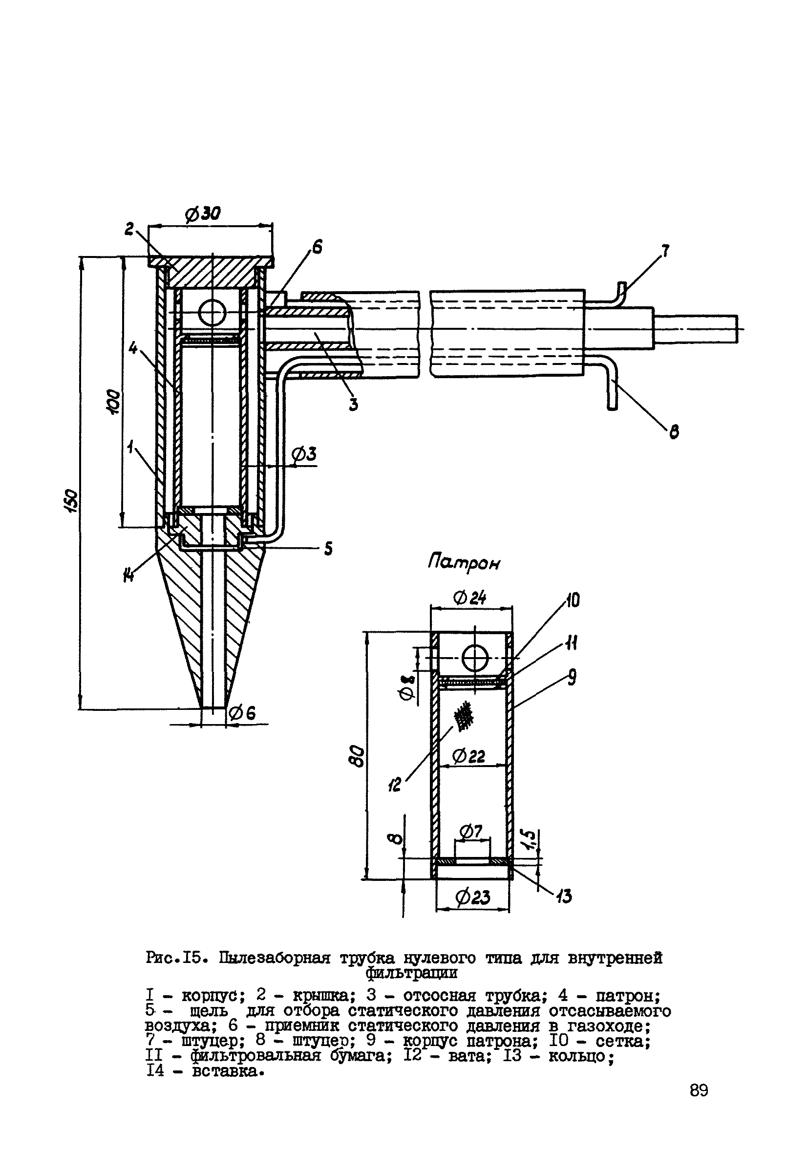
| Оглавление: | 1. Инструктивно-методические указания по выявлению источников загрязнения атмосферы, производству замеров выбросов вредных веществ и загрязнения атмосферного воздуха 1.1. Выявление источников загрязнения атмосферы, инвентаризация и контроль количества выбросов вредных веществ и качества атмосферного воздуха 1.2. Организация и производство замеров количества выбросов вредных веществ в атмосферу 1.3. Организация и производство замеров уровней загрязнения приземного слоя воздуха в зонах рассеивания промышленных выбросов 2. Методики и оборудование для производства замером вредных веществ, отходящих от источника, промышленных выбросов в атмосферу 2.1. Измерение температуры отходящих газов и промышленных выбросов 2.1.1. Измерение температуры газовых потоков техническим стеклянными термометрами 2.1.2. Измерение температуры газовых потоков термометрами сопротивления 2.1.3. Измерение температуры газовых потоков термоэлектрическими пирометрами (термопарами) 2.2. Измерение влажности отходящих газов и промышленных выбросов 2.2.1. Измерение влажности газовых потоков абсолютным весовым методом 2.2.2. Измерение влажности газовых потоков по разности температур сухого и влажного термометров 2.3. Измерение скорости газовых потоков 2.3.1. Измерение скорости незапыленных газовых потоков анемометрами 2.3.2. Измерение скорости давлений газовых потоков с применением пневмометрических трубок 2.4. Измерение запыленности газовых потоков 2.4.1. Общие положения 2.4.2. Аппаратура для измерения запыленности газов методом внешней фильтрации 2.4.3. Методика измерения запыленности газов с применением простой заборной трубки и внешней фильтрации 2.4.4. Аппаратура для измерения запыленности газов методом внутренней фильтрации 2.4.5. Методика измерения запыленности газов с применением пылезаборной трубки нулевого цикла с внутренней фильтрацией 2.5. Измерение концентраций вредных веществ в отходящих газах и промышленных выбросах 2.5.1. Общие положения 2.5.2. Измерение концентрации вредных веществ в газовых потоках газоанализаторами УГ-2 и газоопределителями ГХ-4 2.5.3. Измерение концентрации вредных веществ в газовых потоках газоанализаторами ГХП-3М и ВТИ-2 2.5.4. Измерение концентрации вредных веществ в газовых потоках газоанализаторами ТГ-5 и ФВ-7633М 2.5.5. Оборудование для отбора газовых проб из газоходов при измерении концентраций вредных веществ в газовых потоках методами химического анализа 2.5.6. Определение концентрации сернистого ангидрида (нефелометрический метод) 2.5.7. Определение концентрации сернистого ангидрида (йодометрический метод) 2.5.8. Определение концентрации окислов азота (колориметрический метод) 2.5.9. Определение концентрации сернистого ангидрида и окислов азота при их совместном присутствии (титриметрический метод) 2.6. Методика и оборудование для измерения количества вредных веществ, выделяемых горящими породными отвалами Приложения |
| Разработан: | ГГО им. А.И. Воейкова Госкомгидромета ВТИ им. Ф.Э. Дзержинского ИОТТ ГИНЦВЕТМЕТ Институт прикладной геофизики имени академика Е. К. Федорова Госкомгидромета МакНИИ НИИОСуголь ИГИ Минуглепрома СССР ВНИИ охраны труда в Ленинграде ВНИИ гигиены и санитарии им. Ф.Ф. Эрисмана Минздрава СССР НИИОГАЗ Минхиммаша СССР |
| Утверждён: | 07.08.1978 Министерство угольной промышленности СССР (USSR Ministry of the Coal Industry ) |
| Принят: | Министерство здравоохранения СССР (USSR Ministry of Health Care ) Государственный комитет СССР по гидрометеорологии и контролю природной среды (National Committee on Hydrometeorology and Environmental Monitoring ) |
| Нормативные ссылки: |
|




































































































































































