Скачать Временная инструкция по применению пылесвязывающего вещества универсин для обеспыливания автодорог на разрезах

Дата актуализации: 01.01.2021

Временная инструкция по применению пылесвязывающего вещества универсин для обеспыливания автодорог на разрезах

Статус:справочные материалы, мп, тпр
Название рус.:Временная инструкция по применению пылесвязывающего вещества универсин для обеспыливания автодорог на разрезах
Дата добавления в базу:01.02.2017
Дата актуализации:01.01.2021
Область применения:Инструкция предназначена для ИТР, отвечающих за санитарно-гигиенические условия на разрезах, и рабочих, занимающихся обеспыливаем автодорог и обеспыливанием автодорог и обслуживанием механизированного заправочного пункта.
Оглавление:1. Характеристика пылесвязывающего вещества
2. Технология обработки автодорог
3. Вопросы безопасности
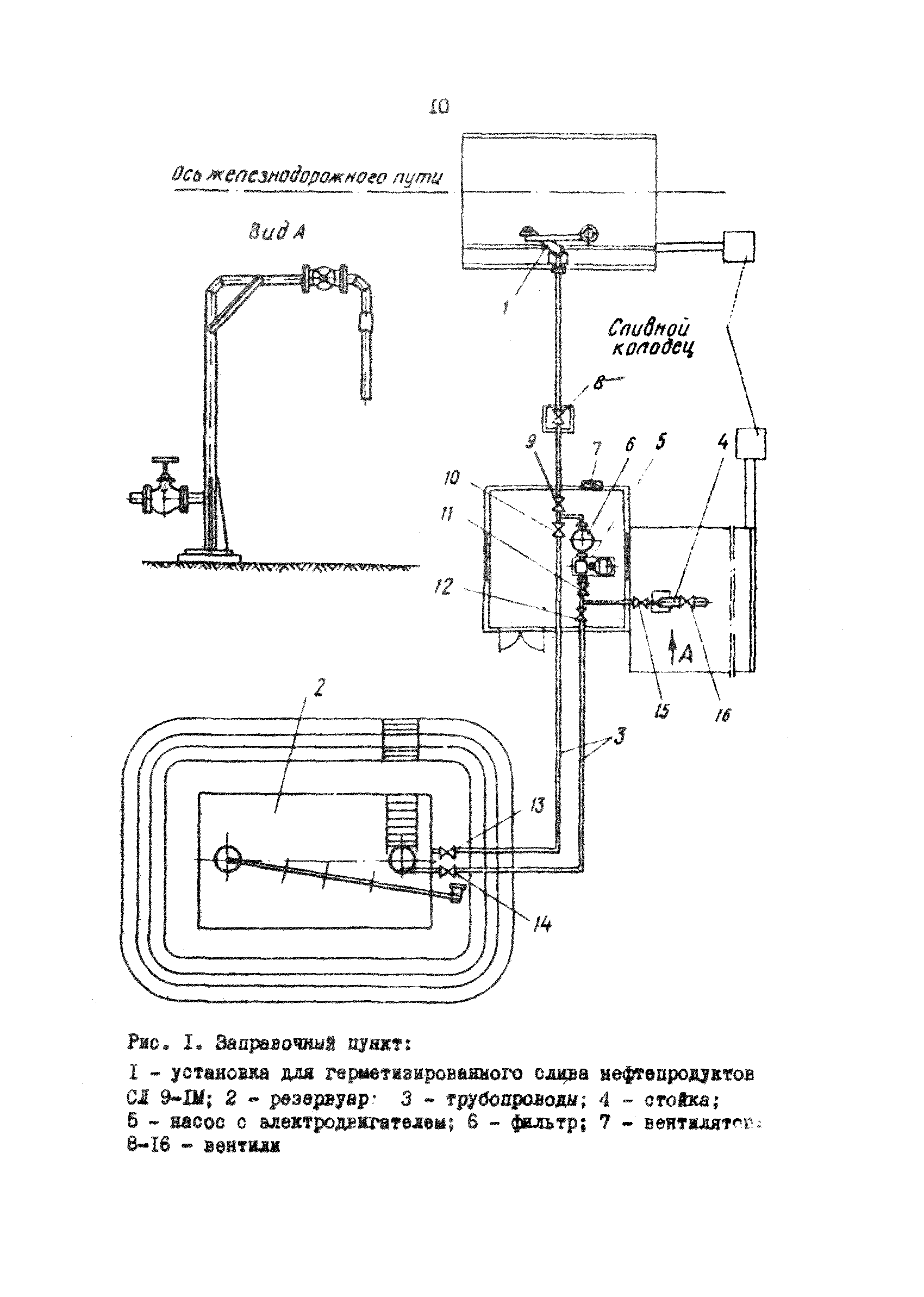
Приложение 1. Технологическая схема обработки универсином
Приложение 2. Механизированный заправочный пункт
Разработан: Уфимский нефтяной институт (Ufa Petroleum Institute )
НИИОГР
Утверждён:30.07.1976 Заместитель Министра угольной промышленности СССР
Принят:19.09.1975 Госгортехнадзор СССР (USSR Gosgortekhnadzor 08-16/300)
23.09.1975 ГУПО МВД СССР (GUPO, USSR Ministry of Internal Affairs 7/1/3683)
15.09.1975 ЦК профсоюза работников угольной промышленности (ОТ-630-22)
23.07.1976 Министр здавоохранения СССР (122-14/653-4)
Издан: НИИОГР (1977 г. )
Нормативные ссылки: