Скачать Временная инструкция по применению комбинированных перекрытий УКГП при обработке мощных крутых пластов в Кузбассе

Дата актуализации: 01.01.2021

Временная инструкция по применению комбинированных перекрытий УКГП при обработке мощных крутых пластов в Кузбассе

Статус:справочные материалы, мп, тпр
Название рус.:Временная инструкция по применению комбинированных перекрытий УКГП при обработке мощных крутых пластов в Кузбассе
Дата добавления в базу:01.02.2017
Дата актуализации:01.01.2021
Область применения:В инструкции определены условия применения и основные параметры системы разработки УКГП, даны инструктивные указания и рекомендации по выбору рациональных технологических схем и правильному их выполнению при отработке мощных крутых пластов в Кузбассе. Основные положения инструкции базируются на результатах промышленных испытаний и внедрения наиболее эффективных вариантов системы УКГП.
Оглавление:Введение
I. Условия применения и основные параметры системы разработки с комбинированными перекрытиями УКГП
II. Подготовительные работы и проветривание
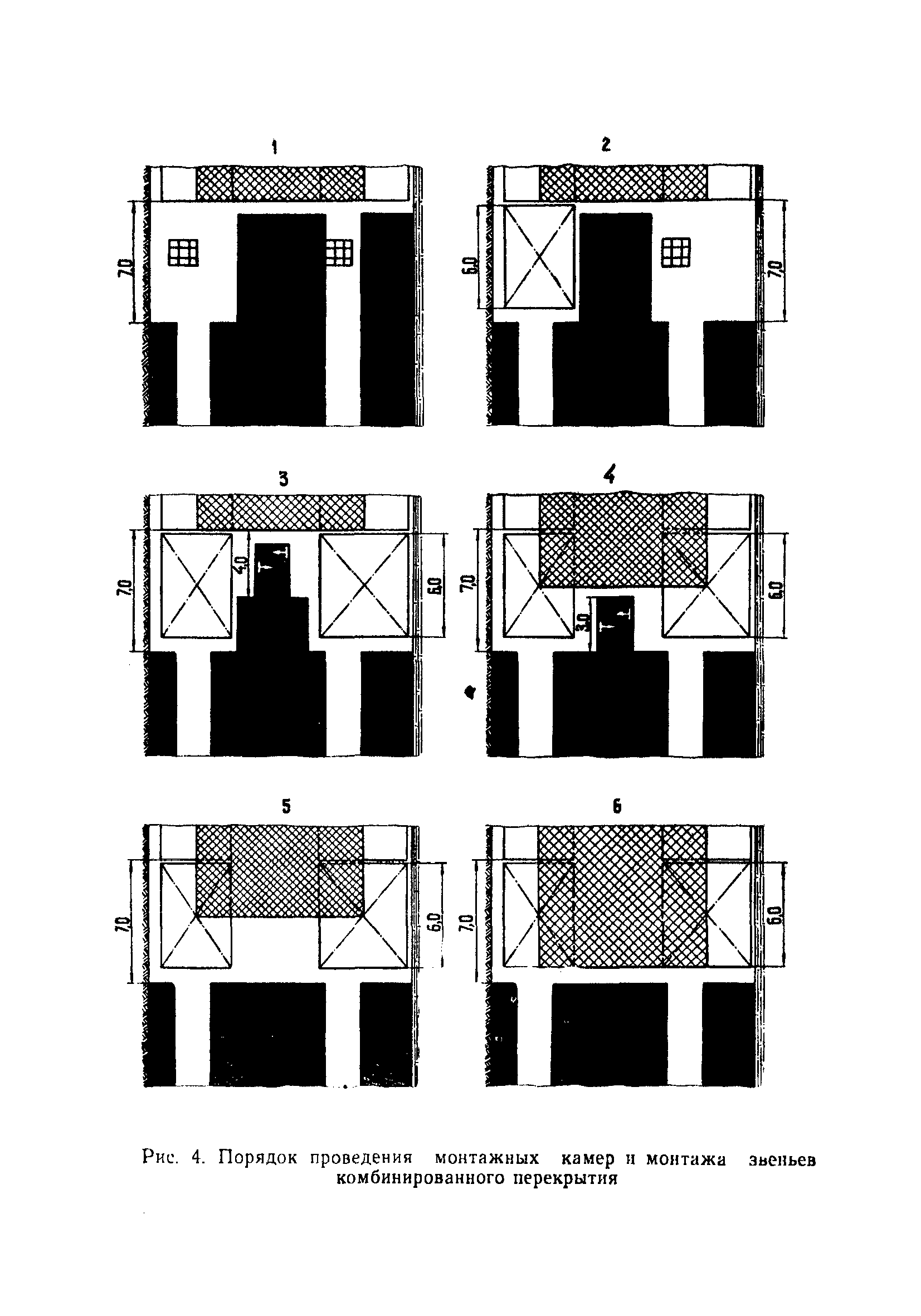
III. Конструкция перекрытия, его монтаж и оборудование
IV. Очистные работы и управление комбинированным перекрытием
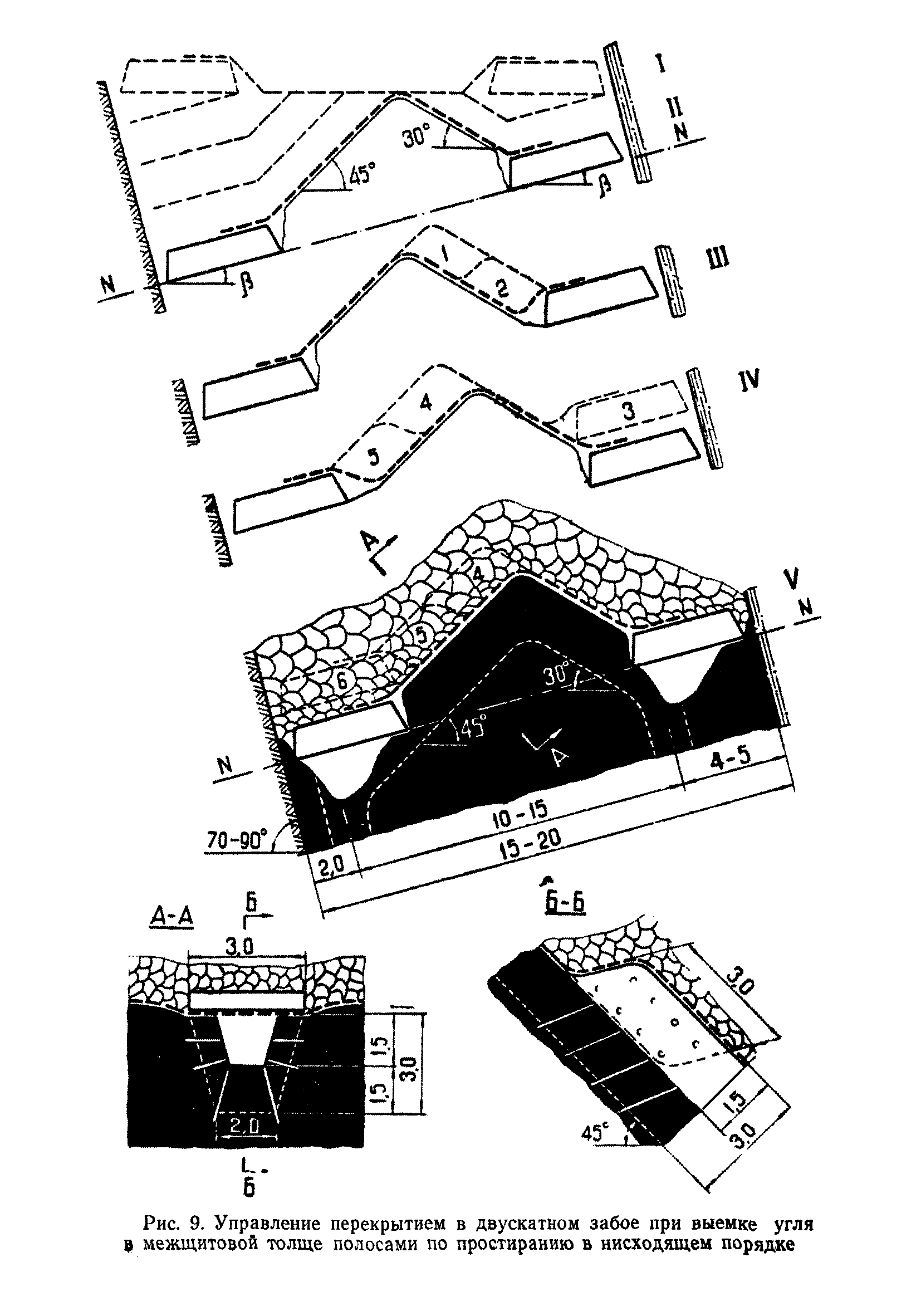
Рекомендуемые варианты отработки угольного массива под гибким перекрытием УКГП
   1. Система УКГП с отработкой угольного массива под гибким перекрытием односкатными забоями с наклоном к почве пласта
   2. Система УКГП с отработкой угольного массива под гибким перекрытием односкатными забоями с наклоном к кровле пласта
   3. Система УКГП с отработкой угольного массива под гибким перекрытием односкатными забоями
   4. Система УКГП с отработкой угольного массива под гибким перекрытием многоскатными забоями
Литература
Разработан: КузНИУИ
КузПИ
Утверждён:15.02.1972 Главный инженер комбината Прокопьевскуголь
Принят:22.02.1972 Начальник управления Кузнецкого округа Госгортехнадзора СССР