Скачать Временная инструкция и типовые схемы электроснабжения очистных и подготовительных забоев шахт, разрабатывающих крутые пласты

Дата актуализации: 01.01.2021

Временная инструкция и типовые схемы электроснабжения очистных и подготовительных забоев шахт, разрабатывающих крутые пласты

Статус:справочные материалы, мп, тпр
Название рус.:Временная инструкция и типовые схемы электроснабжения очистных и подготовительных забоев шахт, разрабатывающих крутые пласты
Дата добавления в базу:01.02.2017
Дата актуализации:01.01.2021
Область применения:Инструкция распространяется на проектирование электроснабжения и эксплуатацию электрооборудования в очистных и подготовительных (тупиковых) выработках крутых пластов, опасных по внезапным выбросам угля и газа, разрабатываемых без защиты, а также в выработках с исходящей струей воздуха с таких пластов.
Оглавление:1. Общие положения
2. Область и условия применения электрооборудования
3. Схемы электроснабжения, электрооборудование
4. Электроснабжение щитовых агрегатов
Типовые схемы электроснабжения очистных и подготовительных забоев шахт, разрабатывающих крутые пласты
   1. Общие положения
   2. Типовые схемы электроснабжения
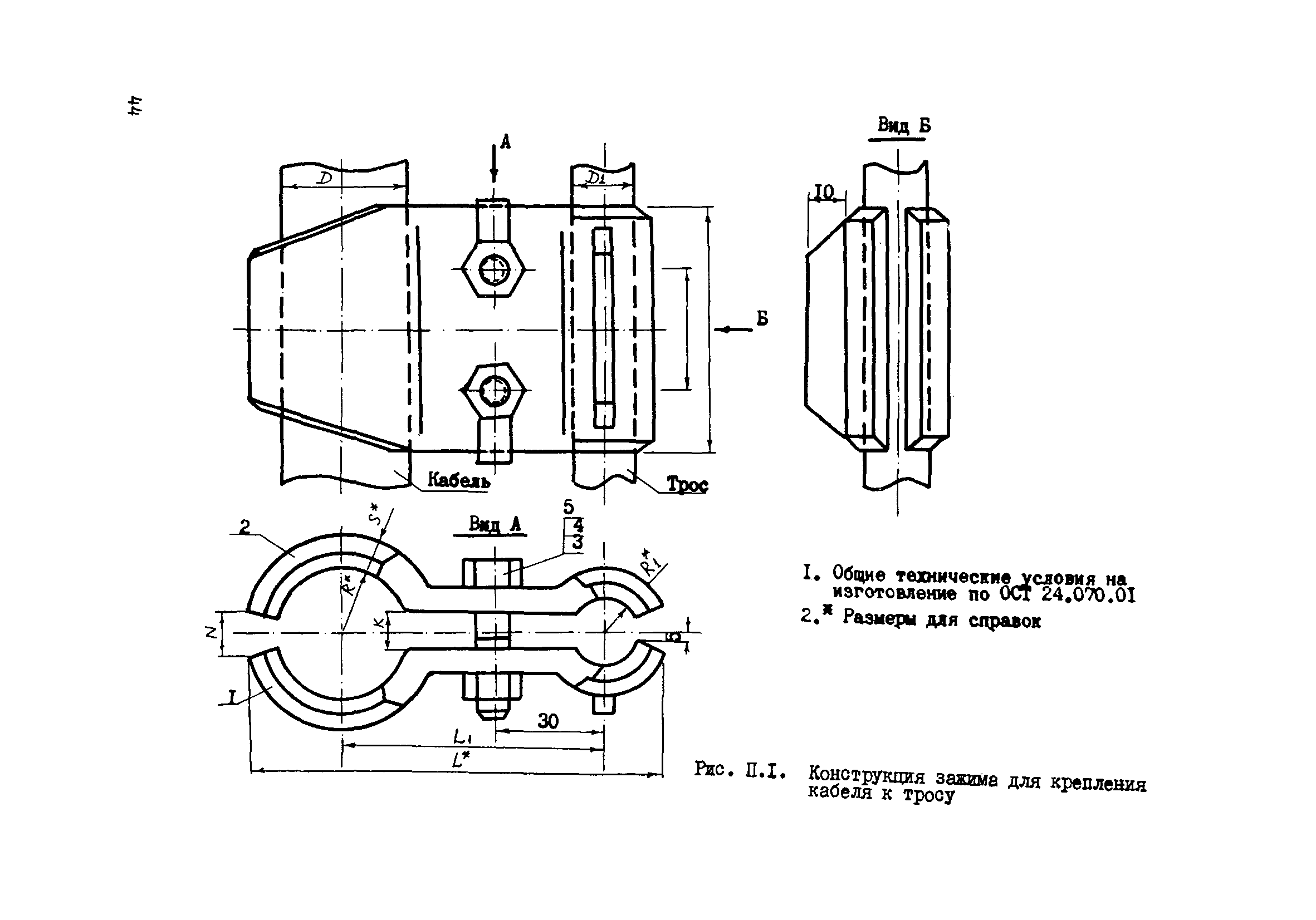
Приложение. Инструкция по подвеске кабеля в наклонных скважинах и трубопроводах
Разработан: ВостНИИ (Восточный научно-исследовательский институт по безопасности работ в горной промышленности)
ДонУГИ
ИГД им. А.А. Скочинского
МакНИИ
Утверждён:22.09.1983 Госгортехнадзор СССР (USSR Gosgortekhnadzor )
03.08.1983 Министерство угольной промышленности СССР (USSR Ministry of the Coal Industry )
Принят:09.11.1983 ЦК профсоюза рабочих угольной промышленности СССР
Нормативные ссылки: