Скачать ГОСТ Р 57328-2016 Экологический менеджмент. Руководство по включению экологических аспектов в стандарты на электротехническую продукциюДата актуализации: 01.01.2021
|
| Обозначение: | ГОСТ Р 57328-2016 |
| Обозначение англ: | GOST R 57328-2016 |
| Статус: | введен впервые |
| Название рус.: | Экологический менеджмент. Руководство по включению экологических аспектов в стандарты на электротехническую продукцию |
| Название англ.: | Environmental management. Guide on inclusion of ecological aspects in electrotechnical product standards |
| Дата добавления в базу: | 05.05.2017 |
| Дата актуализации: | 01.01.2021 |
| Дата введения: | 01.06.2017 |
| Область применения: | Стандарт предназначен для разработчиков стандартов и содержит руководящие указания, как учитывать аспекты, относящиеся к воздействию электротехнической продукции на окружающую среду, при подготовке национальных и международных стандартов на продукцию. |
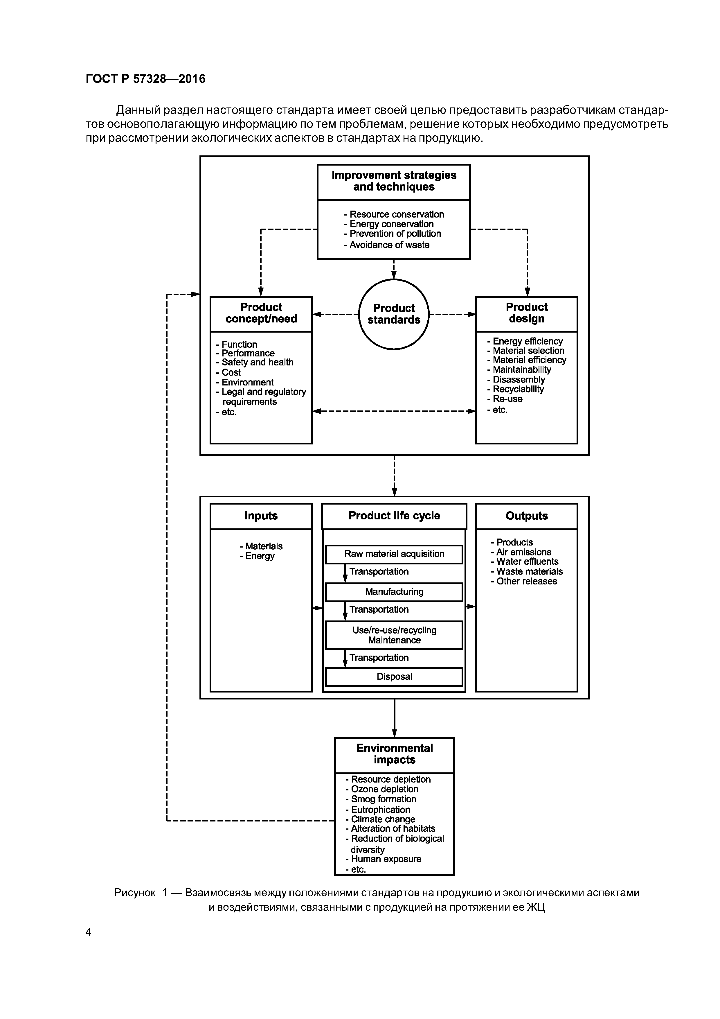
| Оглавление: | 1 Область применения 2 Нормативные ссылки 3 Термины и определения 4 Руководящие указания по включению экологических аспектов в стандарты на продукцию 4.1 Общие положения 4.2 Влияние положений национальных и международных стандартов на продукцию на окружающую среду 4.3 Экологические стратегии 5 Экологические аспекты, подлежащие рассмотрению для их систематического включения в стандарты на продукцию 5.1 Общие положения 5.2 Входные потоки 5.3 Выходные потоки Приложение А (справочное) Перечень контрольных вопросов для учета экологических аспектов в стандартах на продукцию Библиография |
| Разработан: | ООО НИИ Интерэкомс |
| Утверждён: | 07.12.2016 Федеральное агентство по техническому регулированию и метрологии (1976-ст) |
| Издан: | Стандартинформ (2017 г. ) |














