Скачать ГОСТ 33758-2016 Трубы обсадные и насосно-компрессорные и муфты к ним. Основные параметры и контроль резьбовых соединений. Общие технические требованияДата актуализации: 01.01.2021
|
| Обозначение: | ГОСТ 33758-2016 |
| Обозначение англ: | GOST 33758-2016 |
| Статус: | введен впервые |
| Название рус.: | Трубы обсадные и насосно-компрессорные и муфты к ним. Основные параметры и контроль резьбовых соединений. Общие технические требования |
| Название англ.: | Pipes for use as casing or tubing and couplings for them. Basic parameters and inspection of thread connections. General technical requirements |
| Дата добавления в базу: | 05.05.2017 |
| Дата актуализации: | 01.01.2021 |
| Дата введения: | 01.09.2017 |
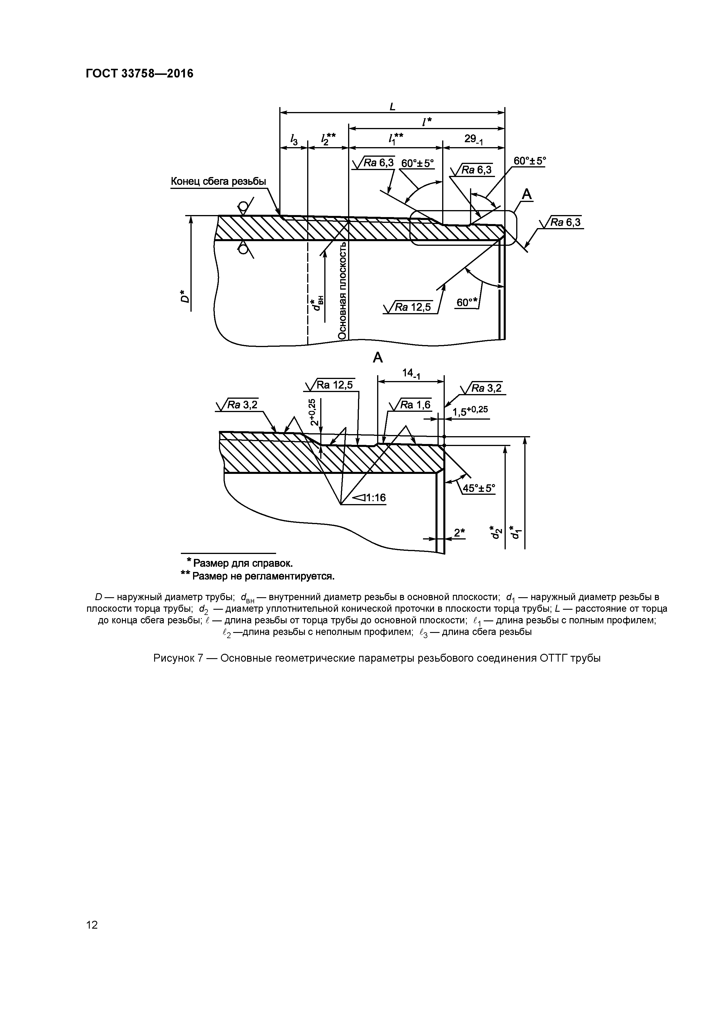
| Область применения: | Стандарт распространяется на резьбовые соединения обсадных и насосно-компрессорных труб и муфт к ним, применяемых в нефтяной и газовой промышленности, и устанавливает требования к основным геометрическим параметрам и контролю резьбовых соединений. Стандарт устанавливает требования к резьбовым соединениям следующих типов: - ОТТМ - резьбовому соединению обсадных труб и муфт с трапецеидальной резьбой; - ОТТГ - резьбовому высокогерметичному соединению обсадных труб и муфт с трапецеидальной резьбой и узлом уплотнения металл-металл; - НКТ - резьбовому соединению насосно-компрессорных труб и муфт с закругленной треугольной резьбой; - НКТВ - резьбовому соединению насосно-компрессорных труб с высаженными наружу концами и муфт с закругленной треугольной резьбой; - НКМ - резьбовому высокогерметичному соединению насосно-компрессорных труб и муфт с трапецеидальной резьбой и узлом уплотнения металл-металл. |
| Оглавление: | 1 Область применения 2 Нормативные ссылки 3 Термины, определения, обозначения и сокращения 4 Общие требования 5 Резьбовые соединения обсадных труб 5.1 Профиль резьбы 5.2 Основные параметры резьбового соединения ОТТМ 5.3 Основные параметры резьбового соединения ОТТГ 6 Резьбовые соединения насосно-компрессорных труб 6.1 Профиль резьбы 6.2 Основные параметры резьбовых соединений НКТН и НКТВ 6.3 Основные параметры резьбового соединения НКМ 7 Контроль резьбовых соединений 7.1 Порядок контроля 7.2 Контроль качества поверхности и геометрических параметров 7.3 Контроль натяга калибрами |
| Разработан: | ТК 357 Стальные и чугунные трубы и баллоны ОАО РосНИТИ |
| Утверждён: | 29.03.2016 Межгосударственный Совет по стандартизации, метрологии и сертификации (Inter-Governmental Council on Standardization, Metrology, and Certification 86-П) 05.12.2016 Федеральное агентство по техническому регулированию и метрологии (1928-ст) |
| Издан: | Стандартинформ (2017 г. ) |
| Нормативные ссылки: |
|









































