Скачать ГОСТ Р ИСО 13370-2016 Тепловые характеристики зданий. Метод расчета теплопередачи через грунтДата актуализации: 01.01.2021
|
| Обозначение: | ГОСТ Р ИСО 13370-2016 |
| Обозначение англ: | GOST R ISO 13370-2016 |
| Статус: | приостановлено действие |
| Название рус.: | Тепловые характеристики зданий. Метод расчета теплопередачи через грунт |
| Название англ.: | Thermal performance of buildings. Calculation method of heat transfer via the ground |
| Дата добавления в базу: | 05.05.2017 |
| Дата актуализации: | 01.01.2021 |
| Дата введения: | 01.07.2017 |
| Дата окончания срока действия: | 14.01.2020 |
| Область применения: | Стандарт содержит в себе метод расчета коэффициентов теплопередачи и расходов теплоты для фрагментов конструкций зданий, находящихся в непосредственном соприкосновении с грунтовым основанием здания, включая бетонные плиты на грунте цокольных этажей, перекрытия без промежуточных опор и подвалы. |
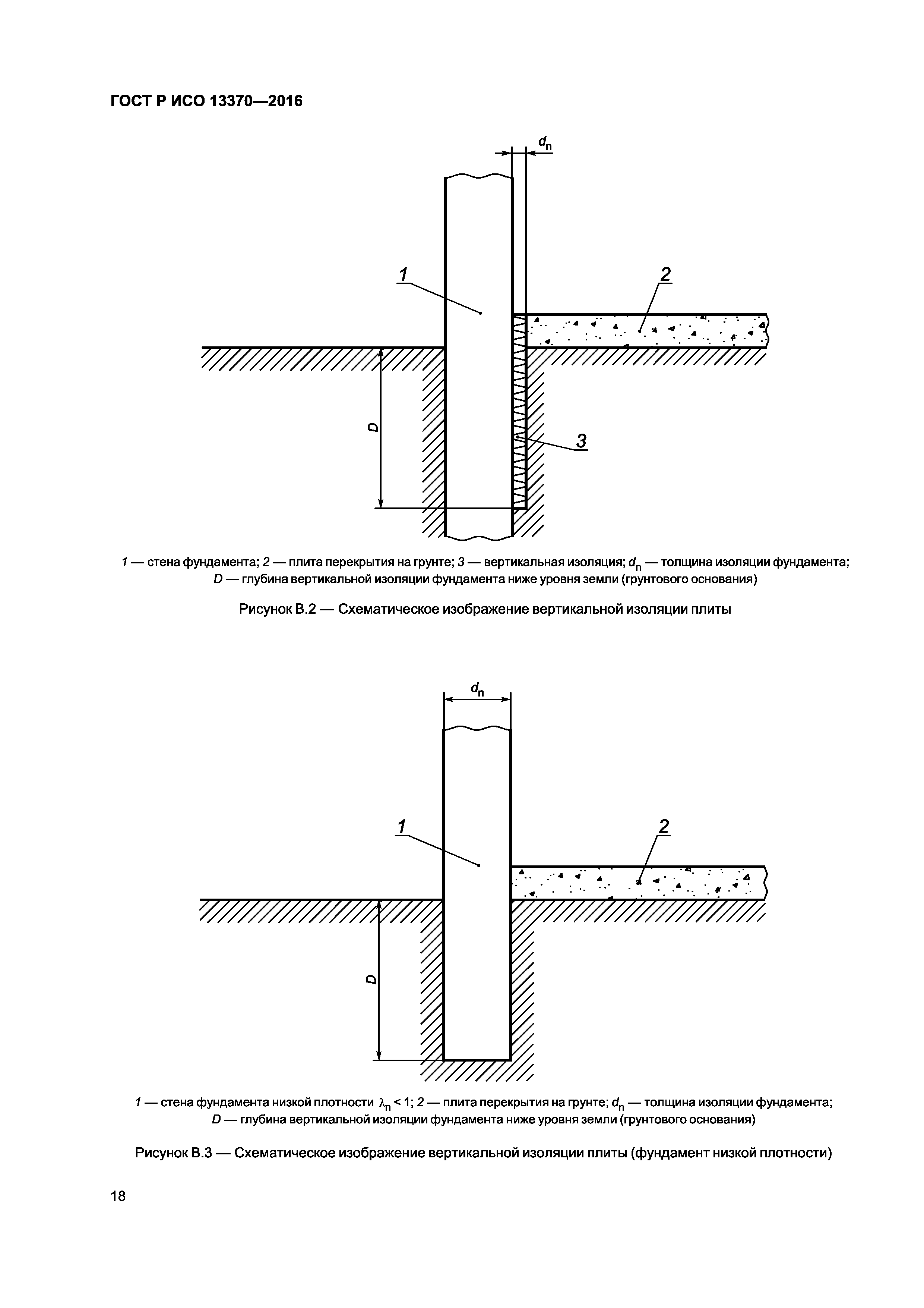
| Оглавление: | 1 Область применения 2 Нормативные ссылки 3 Термины, определения, условные обозначения и единицы измерения 3.1 Термины и определения 3.2 Условные обозначения и единицы измерения 4 Методы расчета 5 Термические свойства 5.1 Термические свойства грунта 5.2 Термические свойства строительных материалов 5.3 Сопротивление теплоотдаче на поверхностях конструкций 6 Внутренняя температура помещений и климатические данные 6.1 Внутренняя температура помещений 6.2 Климатические данные 7 Коэффициент теплопередачи и расход теплоты . . 7.1 Коэффициент теплопередачи 7.2 Теплопроводные включения на краю перекрытия. 7.3 Расчет расхода теплоты 7.4 Влияние грунтовых вод 7.5 Частные случаи 8 Параметры, используемые в расчетах 8.1 Размерная характеристика перекрытия 8.2 Эквивалентная толщина 9 Расчет коэффициентов теплопередачи 9.1 Плита цокольного этажа на грунтовом основании. 9.2 Перекрытие без промежуточных опор 9.3 Отапливаемый подвал 9.4 Неотапливаемый подвал 9.5 Частично отапливаемый подвал Приложение А (обязательное) Определение расхода теплоты через грунт Приложение В (обязательное) Плита на грунтовом основании с изоляцией края Приложение С (обязательное) Расходы тепла для отдельных помещений Приложение D (обязательное) Применение программ динамического моделирования Приложение E (обязательное) Учет вентиляции под перекрытиями без промежуточных опор Приложение F (справочное) Коэффициенты нестационарной теплопередачи Приложение G (справочное) Термические свойства грунта Приложение Н (справочное) Влияние проточных грунтовых вод Приложение I (справочное) Плита перекрытия на грунтовом основании со встроенной (панельной) системой отопления или охлаждения Приложение J (справочное) Холодильные камеры Приложение К (справочное) Примеры расчетов Приложение ДА (справочное) Сведения о соответствии ссылочных международных стандартов национальным стандартам Российской Федерации |
| Разработан: | ФГУП СТАНДАРТИНФОРМ ФГБУ НИИСФ РААСН |
| Утверждён: | 13.12.2016 Федеральное агентство по техническому регулированию и метрологии (2014-ст) |
| Издан: | Стандартинформ (2017 г. ) |
| Нормативные ссылки: |
|







































