Скачать Методические указания по геометризации и прогнозу разрывных нарушений в пределах выемочных участков для шахт КузбассаДата актуализации: 01.01.2021
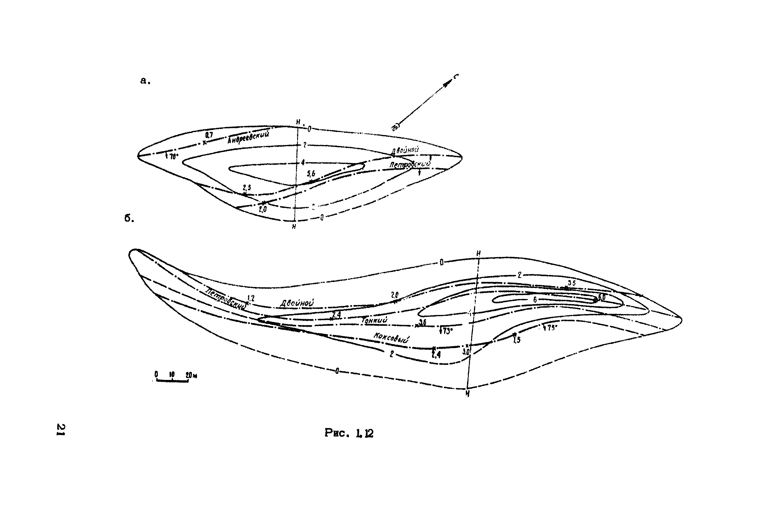
Методические указания по геометризации и прогнозу разрывных нарушений в пределах выемочных участков для шахт Кузбасса| Статус: | справочные материалы, мп, тпр | | Название рус.: | Методические указания по геометризации и прогнозу разрывных нарушений в пределах выемочных участков для шахт Кузбасса | | Дата добавления в базу: | 01.01.2018 | | Дата актуализации: | 01.01.2021 | | Область применения: | Указания предназначены для работников геолого-маркшейдерской службы угольных шахт, которым в процессе производственной деятельности приходится решать задачи, рассмотренные в настоящей работе | | Оглавление: | Глава 1. Методика геометризации дизъюнктивов 1.1 Образование и строение дизъюнктива 1.2 Построение эпюры дизъюнктива 1.2.1 Построение эпюры сместителя на основе погоризонтных планов и вертикальных проекций 1.2.2 Построение эпюры сместителя на основе горизонтальных проекций 1.3 Соотношение между основными параметрами дизъюнктива 1.4 Примеры эпюр дизъюнктивов 1.4.1 Прокопьевское месторождение 1.4.2 Анжерское месторождение Глава 2 Определение осей тектонических напряжений 2.1 Определение ориентировки осей тектонических напряжений по содиэъюнктивной трещиноватости 2.2 Определение ориентировки осей тектонических напряжений по известным элементам залежания сопряженных сместителей 2.3 Определение ориентировки осей тектонических напряжений по известным элементам залегания сместителя, штрихам скольжения и знаку смещения 2.4 Определение ориентировки осей тектонических напряжений с помощью построения эпюры сместителя 2.5 Угол скалывания Глава 3 Определение и прогноз элементов и параметров дизъюнктива 3.1 Элементы залегания сместителя, линия скрещения 3,2 Амплитуда смещения 3.3 Следы и направление перемещения 3.4 Расстояние и смещенной части пласта 3.4.1 Стратиграфический метод 3.4.2 По данным разведочных выработок 3.5 Вектор перемещения (полная амплитуда) 3.6 Знак и форма смещения 3.7 Тип дизъюнктива 3.8 Размеры дизъюнктива 3.9 Направление развития и затухания дизъюнктива Заключение Литература | | Утверждён: | 02.11.1973 ВНИМИ
|
                                                                           
|