Скачать Инструкция по монтажу и эксплуатации установки Дон-1м для очистки шахтной воды в подземных условиях и на поверхности

Дата актуализации: 01.01.2021

Инструкция по монтажу и эксплуатации установки "Дон-1м" для очистки шахтной воды в подземных условиях и на поверхности

Статус:справочные материалы, мп, тпр
Название рус.:Инструкция по монтажу и эксплуатации установки "Дон-1м" для очистки шахтной воды в подземных условиях и на поверхности
Дата добавления в базу:01.01.2019
Дата актуализации:01.01.2021
Оглавление:1 Введение
2 Принципиальная технологическая схема очистной установки "Дон-1м"
3 Конструкции устройств, входящих в очистную установку "Дон-1м" и инструкции по их монтажу и эксплуатации
   3.1 Напорный песчаный фильтр
   3.2 Универсальный дозатор постоянной концентрации УДПК-4
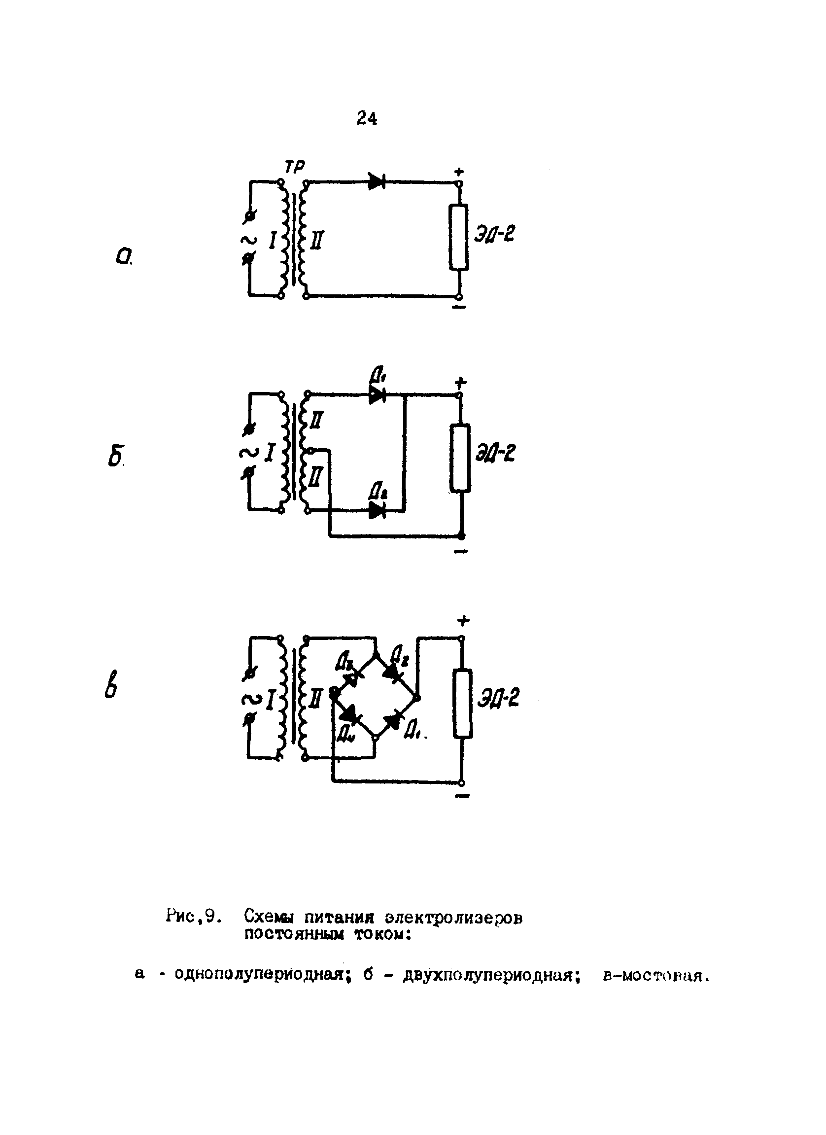
   3.3 Электролизеры ЭД-2 и ЭДВ
   3.4 Растворный узел
   3.5 Узел бактериологической очистки шахтной воды
   3.6 Объемный дозатор
   3.7 Поплавковый регулятор уровня РУ-2
   3.8 Плавающий водозабор
   3.9 Устройство для забора осветленной воды из водосборников
4 Вспомогательное оборудование для автоматизации очистных устройств и водоснабжения участков
   4.1 Гидравлические редукторы
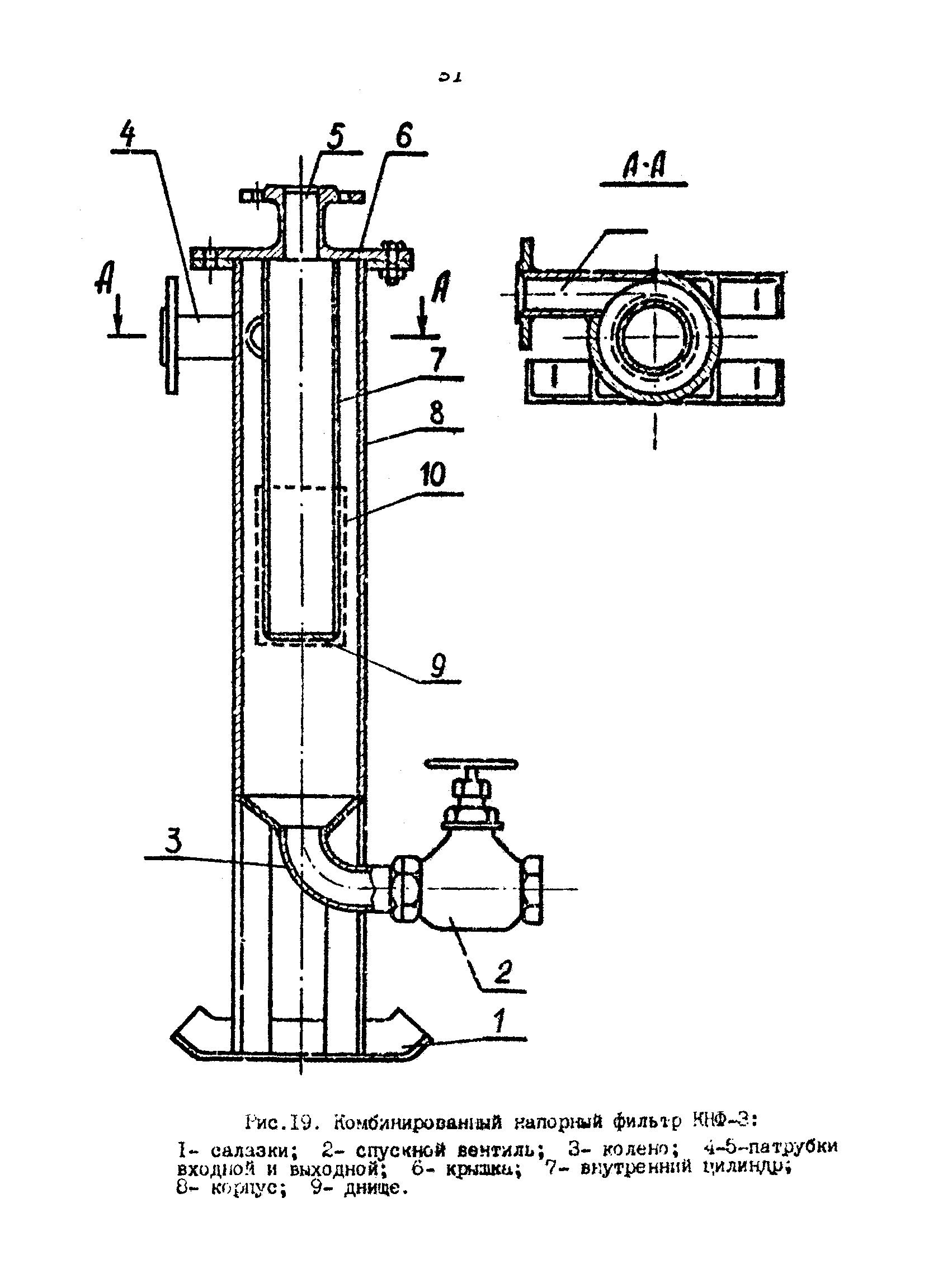
   4.2 Комбинированный напорный фильтр КНФ-3
   4.3 Рычажные предохранительные клапаны
5 Гигиеническая оценка эффективности очистных устройств
6 Заключение
Разработан: Институт горного дела МЧМ СССР
Утверждён:29.05.1984 Объединение Ростовуголь
Принят:01.06.1984 Главный врач санитарно-эпидемиологической станции Ростовской области