Скачать МУК 4.1.1598-03 Методические указания по спектрофотометрическому измерению концентраций надуксусной кислоты в воздухе рабочей зоныДата актуализации: 01.01.2021 МУК 4.1.1598-03
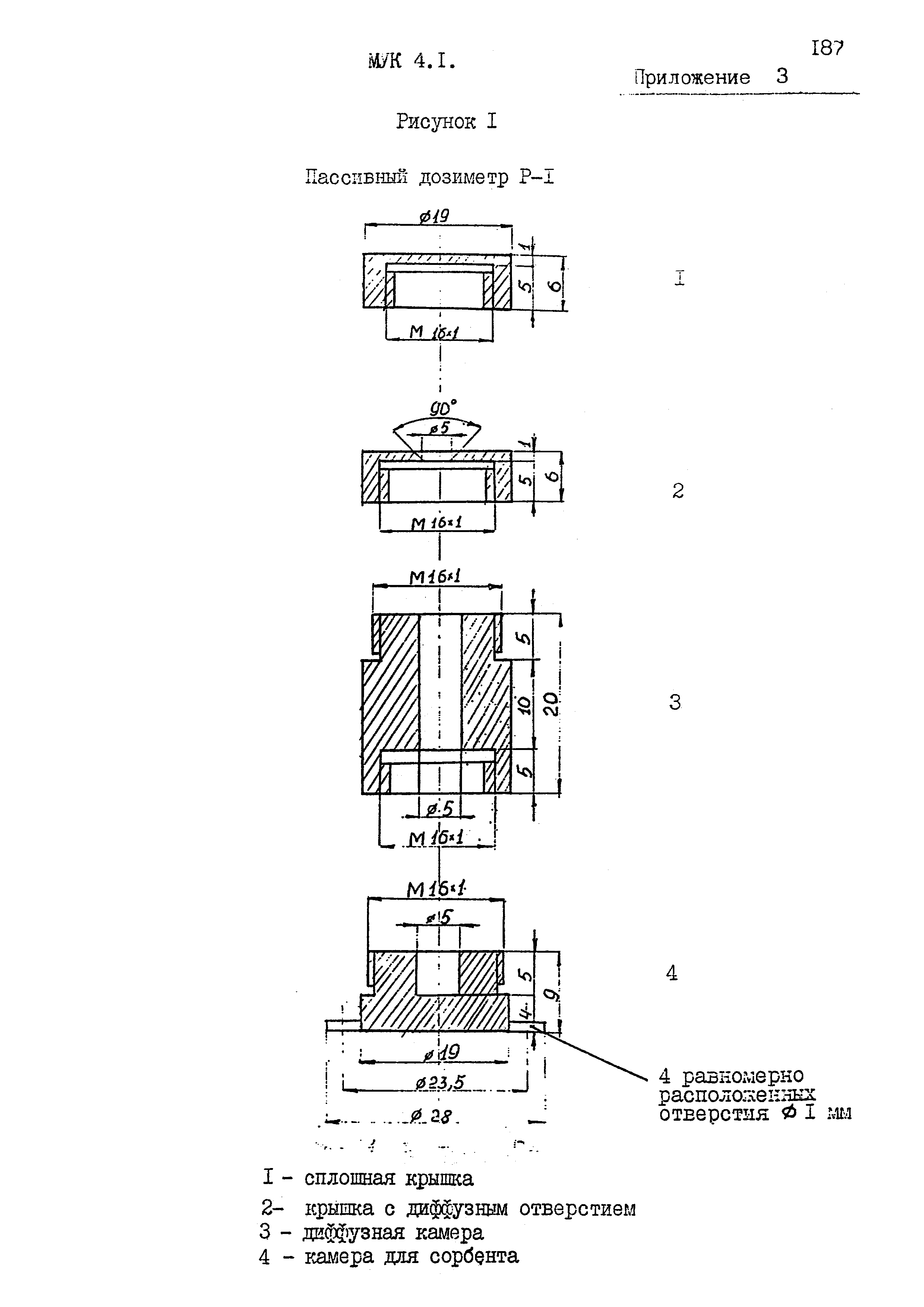
Методические указания по спектрофотометрическому измерению концентраций надуксусной кислоты в воздухе рабочей зоны| Обозначение: | МУК 4.1.1598-03 | | Обозначение англ: | MUK 4.1.1598-03 | | Статус: | действует | | Название рус.: | Методические указания по спектрофотометрическому измерению концентраций надуксусной кислоты в воздухе рабочей зоны | | Дата добавления в базу: | 01.01.2019 | | Дата актуализации: | 01.01.2021 | | Дата введения: | 29.06.2003 | | Область применения: | Методические указания по измерению концентраций вредных веществ в воздухе рабочей зоны разработаны с целью обеспечения контроля соответствия фактических концентраций вредных веществ их предельно допустимым концентрациям и ориентировочным безопасным уровням воздействия - санитарно-гигиеническим нормативам и являются обязательными при осуществлении санитарного контроля | | Оглавление: | Характеристика метода Приборы, аппаратура, посуда Реактивы, растворы, материалы Отбор пробы воздуха Подготовка к измерению Проведение измерений Расчет концентрации Приложение 1. Приведение объёма воздуха к стандартным условиям Приложение 2. Коэффициенты для приведения объема воздуха к стандартным условиям Приложение 3. Пассивный дозиметр Р-1 Приложение 4. Устройство для концентрирования и ввода проб Приложение 5. Пассивный дозиметр Р-4 Приложение 6. Указатель основных синонимов, технических, торговых и фирменных названий веществ Приложение 7. Вещества, определяемые по ранее утверждённым Методическим указаниям по измерению концентраций вредных веществ в воздухе рабочей зоны Приложение 8. Расчет характеристик погрешности на основе данных, приведенных в МВИ КХА Приложение 9. Расчет норматива оперативного контроля погрешности (точности) МВИ КХА Приложение 10. Расчет норматива внутрилабораторного оперативного контроля (ВОК) воспроизводимости МВИ ТХА | | Утверждён: | 29.06.2003 Главный государственный санитарный врач Российской Федерации
| | Издан: | Минздрав России (2003 г. )
| | Нормативные ссылки: |   ГОСТ 15150-69 «Машины, приборы и другие технические изделия. Исполнения для различных климатических районов. Категории, условия эксплуатации, хранения и транспортирования в части воздействия климатических факторов внешней среды» ГОСТ 1770-74 «Посуда мерная лабораторная стеклянная. Цилиндры, мензурки, колбы, пробирки. Общие технические условия»  ГОСТ 29227-91 «Посуда лабораторная стеклянная. Пипетки градуированные. Часть 1. Общие требования»  ГОСТ 4232-74 «Реактивы. Калий йодистый. Технические условия»  ГОСТ 61-75 «Реактивы. Кислота уксусная. Технические условия» МУК 4.1.240-96 «Газохроматографическое измерение концентраций ментола (L-2-изопропил-5-метилциклогексанола) в воздухе рабочей зоны» МУ 4945-88 «Методические указания по определению вредных веществ в сварочном аэрозоле (твердая фаза и газы)» МУ 4905-88 «Методические указания по фотометрическому измерению концентраций диалкилдиметиламмоний хлорида (С17-С20) и алкилбензилдиметиламмоний хлорида (С10-С16) - ДОН-2, диалкиламинопропионитрила (С7-С9) - Ифхангаз, алкилтриметиламмоний хлорида (С10-С16), ДОН-52 в воздухе рабочей зоны» МУ 1719-77 «Методические указания на гравиметрическое определение пыли в воздухе рабочей зоны и в системах вентиляционных установок» МУ 2902-83 «Методические указания по газохроматографическому измерению концентраций метилового, этилового, изопропилового, н-пропилового, н-бутилового, втор-бутилового и изо-бутилового спиртов в воздухе рабочей зоны» МУ 5866-91 «Методические указания по фотометрическому измерению концентраций хлортетрациклина в воздухе рабочей зоны»  МУК 4.1.1575-03 «Методические указания по спектрофотометрическому измерению концентрации амилазы в воздухе рабочей зоны» МУК 4.1.1609-03 «Методические указания по спектрофотометрическому измерению концентрации целлюлазы в воздухе рабочей зоны»
|
                      
|