Скачать Единая инструкция по эксплуатации, ремонту и учету металлических индивидуальных крепей, применяемых в очистных выработках угольных шахтДата актуализации: 01.01.2021
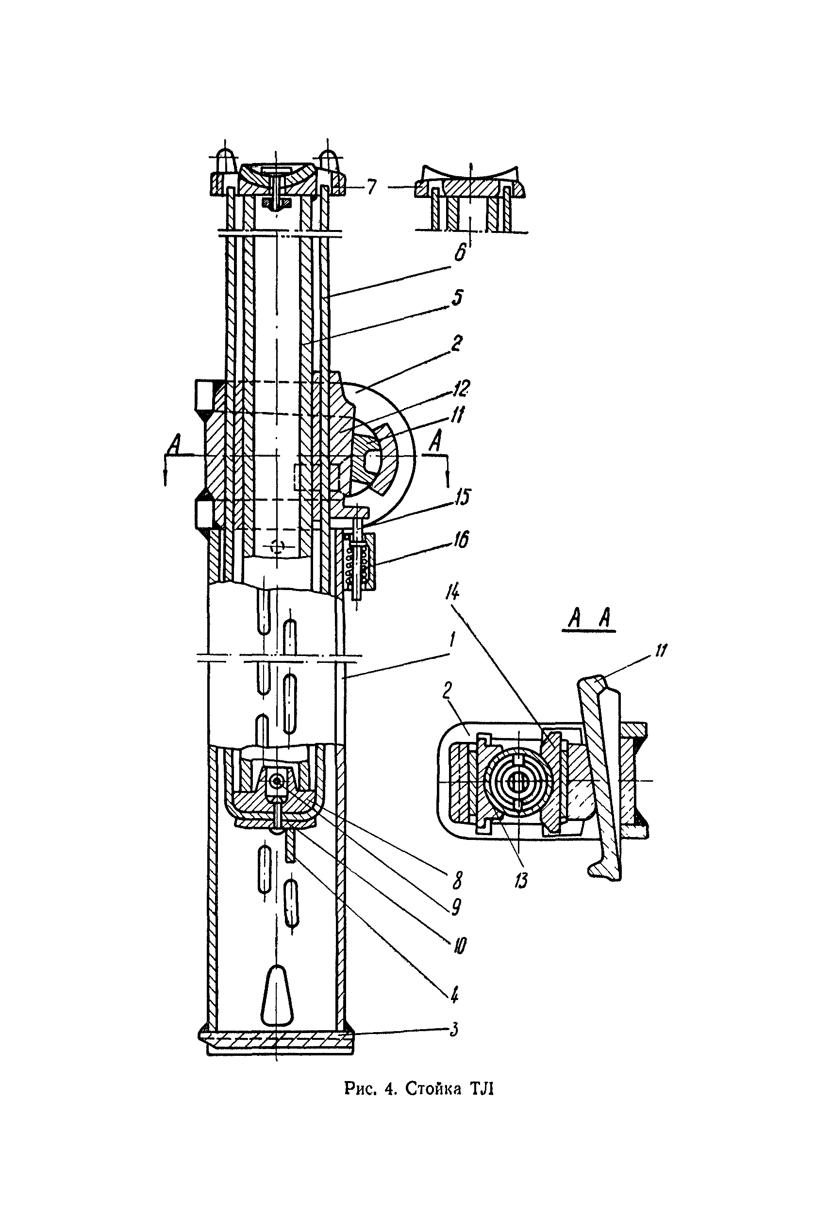
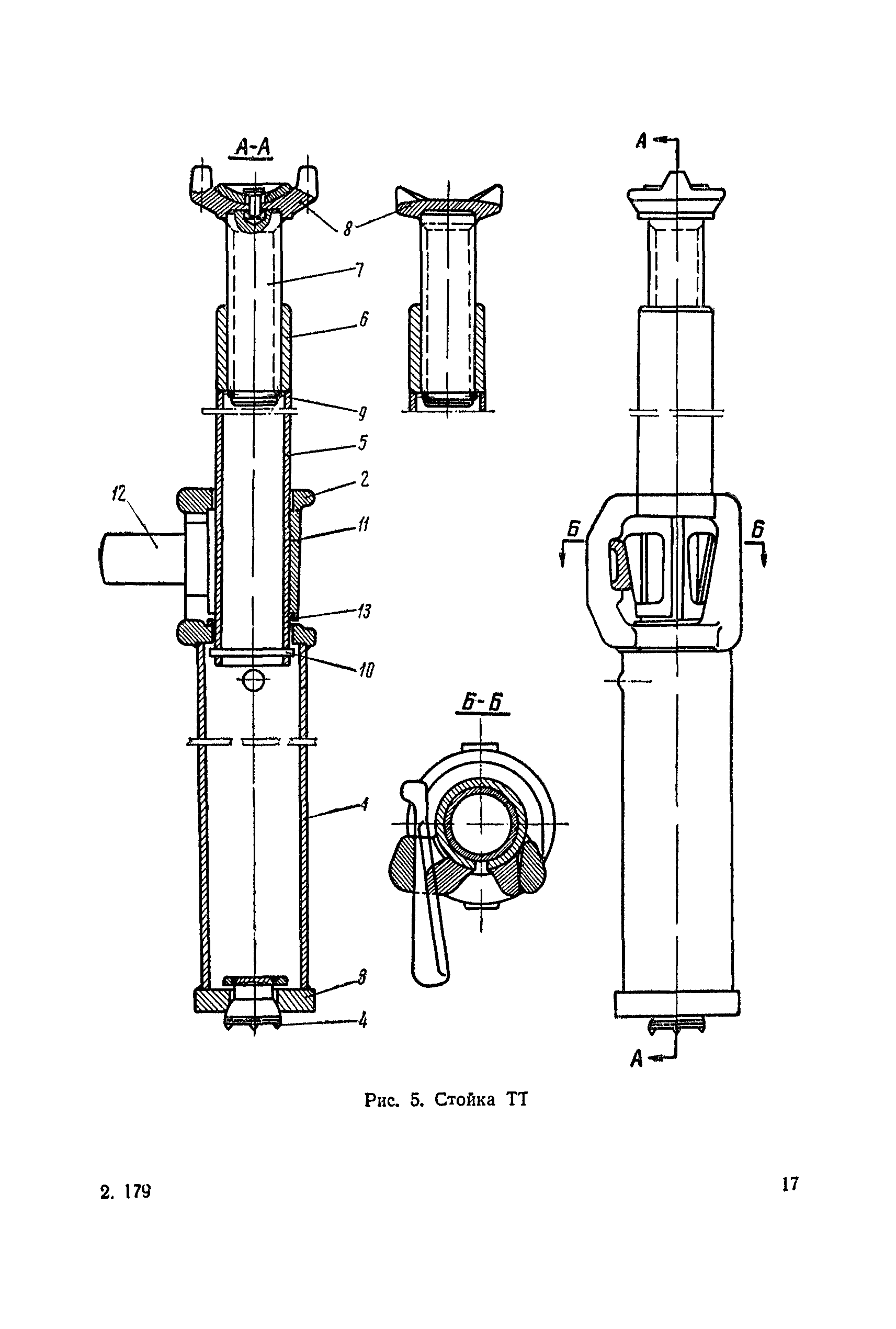
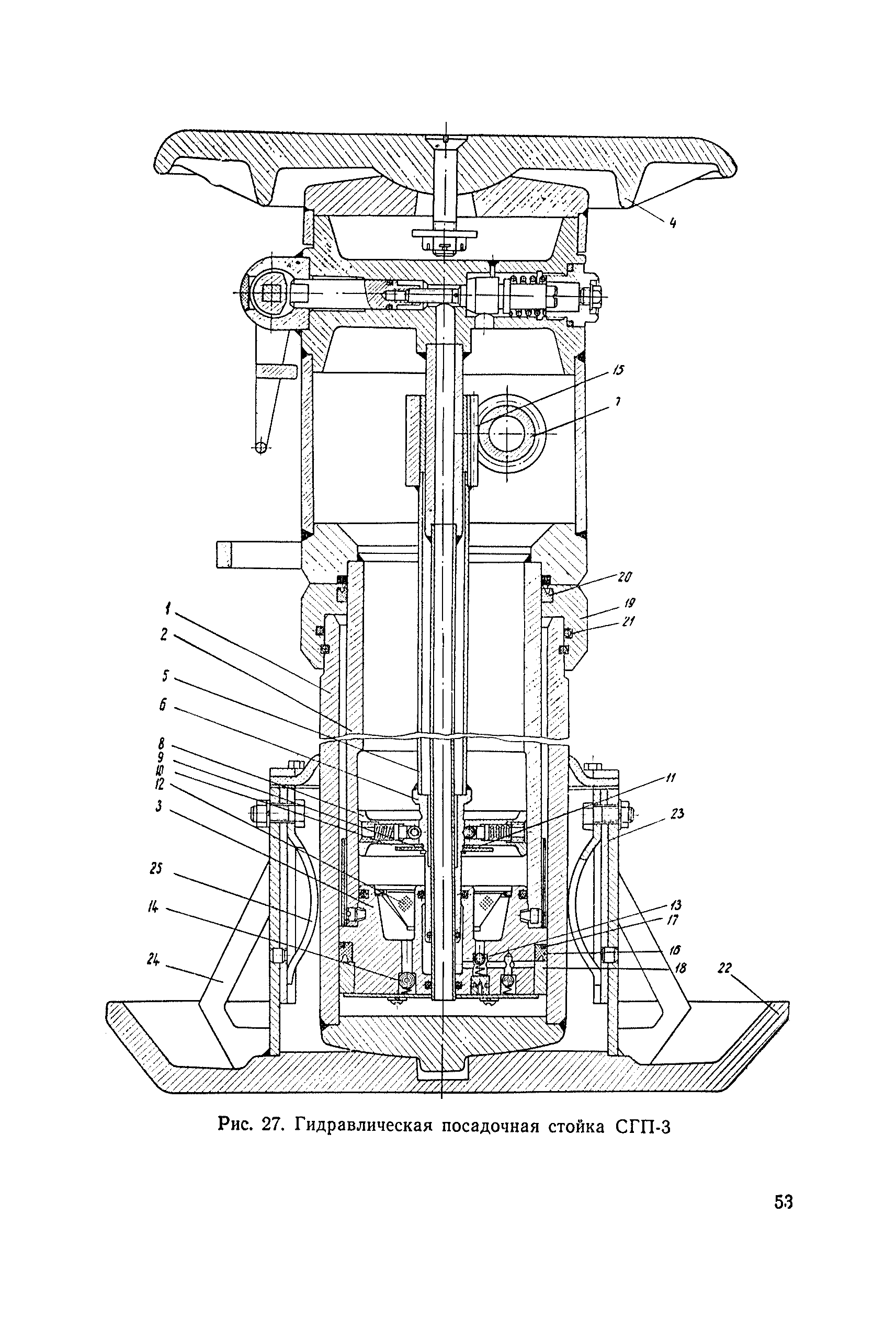
Единая инструкция по эксплуатации, ремонту и учету металлических индивидуальных крепей, применяемых в очистных выработках угольных шахт| Статус: | справочные материалы, мп, тпр | | Название рус.: | Единая инструкция по эксплуатации, ремонту и учету металлических индивидуальных крепей, применяемых в очистных выработках угольных шахт | | Дата добавления в базу: | 01.01.2018 | | Дата актуализации: | 01.01.2021 | | Область применения: | Инструкция ставит своей целью дать необходимые практические указания по вопросам правильной эксплуатации, ремонта и учета металлических индивидуальных крепей как применяемых в настоящее время на шахтах угольной промышленности СССР, так и перспективных, предусмотренных к дальнейшему выпуску. Она предназначена для обязательного применения на шахтах, в трестах и комбинатах. | | Оглавление: | Введение 1 Особенности эксплуатации, принципы работы и конструкции металлических индивидуальных крепей Особенности эксплуатации металлических индивидуальных крепей Основные принципы работы и рабочие характеристики применяемых металлических индивидуальных крепей Конструкции металлических индивидуальных крепей Призабойные стойки трения Гидравлические призабойные стойки Металлические шарнирные верхняки Посадочные крепи II Выбор типоразмеров металлических индивидуальных крепей III Основные правила работы с металлическими индивидуальными крепями Основные правила работы с призабойными металлическими стойками Основные правила работы с металлическими шарнирными верхняками Основные правила работы с посадочными металлическими стойками Основные правила работы с металлическими кострами Основные правила работы с индивидуальными металлическими стойками на крутых пластах Подготовка металлических крепей к спуску и спуск их в шахту Хранение металлических крепей и запасных частей к ним IV Ремонт металлических индивидуальных крепей Ремонт металлических стоек трения и верхняков Нормы расхода запасных частей V Комплектность поставок индивидуальных крепей, запасных частей и инструмента. Оптовые цены индивидуальных крепей VI Порядок учета, погашения стоимости и списание потерь металлических индивидуальных крепей Приложение 1. Журнал еженедельного учета движения металлических крепей Приложение 2. Форма акта инвентаризации металлических крепей по участку, лаве Приложение 3. Сводная инвентаризационная ведомость металлических крепей Приложение 4. Журнал учета движения металлических крепей в шахтной мастерской Приложение 5. Форма акта выбраковки деформированных металлических крепей Приложение 6. Форма акта на списание потерянных металлических крепей | | Утверждён: | 18.04.1968 Министерство угольной промышленности СССР (USSR Ministry of the Coal Industry )
| | Издан: | Издательство Донбасс (1968 г. )
| | Список изменений: | | | Нормативные ссылки: | |
                                                                                                                                                  
Текстовое изменение опечатки

|