Скачать Временные указания по проектированию горнотехнической рекультивации земель, нарушенных открытыми разработками в Украинской ССРДата актуализации: 01.01.2021
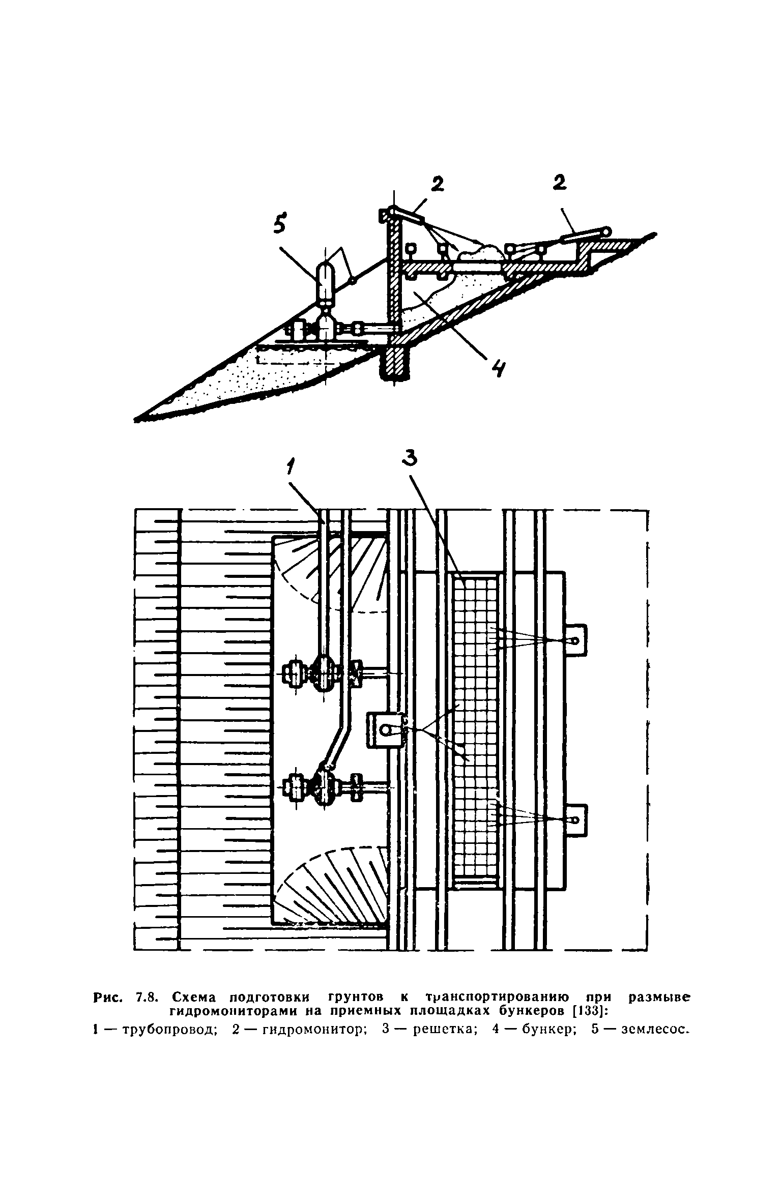
Временные указания по проектированию горнотехнической рекультивации земель, нарушенных открытыми разработками в Украинской ССР| Статус: | не действует | | Название рус.: | Временные указания по проектированию горнотехнической рекультивации земель, нарушенных открытыми разработками в Украинской ССР | | Дата добавления в базу: | 01.01.2018 | | Дата актуализации: | 01.01.2021 | | Область применения: | В документе изложены методические указания, рекомендации и нормативы по проектированию горнотехнической рекультивации нарушенных земель, технические условия на выполнение рекультивационных работ, технологические схемы рекультивации отвалов и хвостохранилищ, методика выбора эффективных вариантов рекультивации, а также направления интенсификации рационального использования земельных ресурсов при разработке месторождений открытым способом. | | Оглавление: | 1. Общие положения 1.1. Область применения методических указаний 1.2. Краткие сведения о рекультивации, ее выполнении и финансировании рекультивационных работ 2. Состав проекта рекультивационных работ 2.1. Исходные данные для проектирования 2.2. Объем изысканий 2.3. Технические условия на приведение земель в состояние, пригодное для использования 2.4. Состав и объем проекта 3. Рекультивация нарушенных земель с использованием почвенного слоя 3.1. Оборудование для подготовки и проведения горнотехнической рекультивации 3.2. Технологические схемы разработки почвенного слоя скреперами 3.3. Разработка и перемещение почвенного слоя железнодорожным транспортом 3.4. Схемы разработки почвенного слоя при конвейерном транспорте 3.5. Разработка почвенного слоя бульдозерами 3.6. Схемы разработки почвенного слоя экскаваторами 3.7. Перспективные схемы разработки почвенного слоя 4. Селективное формирование отвалов при различных системах разработки 4.1. Определение мощности потенциально-плодородных пород 4.2. Формирование отвалов при бестранспортной системе разработки 4.3. Формирование отвалов при транспортно-отвальной системе разработки 4.4. Формирование отвалов при транспортной системе 5. Планировочные работы при горнотехнической рекультивации 5.1. Механизация планировочных работ 5.2. Объемы планировочных работ 5.3. Расчет основных параметров вертикальной планировки 5.4. Определение допустимой величины осадки отвалов 5.5. Влияние осадки отвальной поверхности на организацию планировочных работ 6. Обоснование и технико-экономические показатели рекультивации 6.1. Объемы и технико-экономические показатели рекультивации 6.2. Выбор рациональной технологии рекультивации 6.3. Оценка эффективности рекультивации нарушенных земель 7. Интенсификация процесса рационального использования земельных ресурсов 7.1. Показатели использования земельных отводов 7.2. Рекомендации по использованию земельных отводов при создании отвалов и хвостохранилищ 7.3. Рекультивация хвостохранилищ с использованием гидротранспорта грунтов Нормативно-технологические показатели для сметной документации и характеристики вскрышных пород | | Разработан: | Минчермет УССР НИГРИ
| | Утверждён: | 21.04.1978 Министерство черной металлургии СССР
|
                                                                                                                                
|