Скачать Временные указания по определению конструктивных элементов систем разработки с управлением кровлей целиками на сланцевых шахтах Прибалтийского бассейна

Дата актуализации: 01.01.2021

Временные указания по определению конструктивных элементов систем разработки с управлением кровлей целиками на сланцевых шахтах Прибалтийского бассейна

Статус:справочные материалы, мп, тпр
Название рус.:Временные указания по определению конструктивных элементов систем разработки с управлением кровлей целиками на сланцевых шахтах Прибалтийского бассейна
Дата добавления в базу:01.01.2018
Дата актуализации:01.01.2021
Область применения:Документ рассчитан на инженеров-производственников, а также на работников проектных и научно-исследовательских организаций, занимающихся вопросами разработки месторождений горючих сланцев и других месторождений со сходными геологическими условиями
Оглавление:I Характеристика геологических условий и горных работ
   1 Геологическая характеристика
   2 Характеристика горных работ
II Механические свойства горных пород и несущая способность целиков
III Основные закономерности поведения пород горного массива и целиков
   1 Поведение пород подрабатываемого массива
   2 Характер деформирования и разрушения целиков
IV Определение устойчивых пролетов выработок
V Методика расчета целиков
   1 Исходные положения
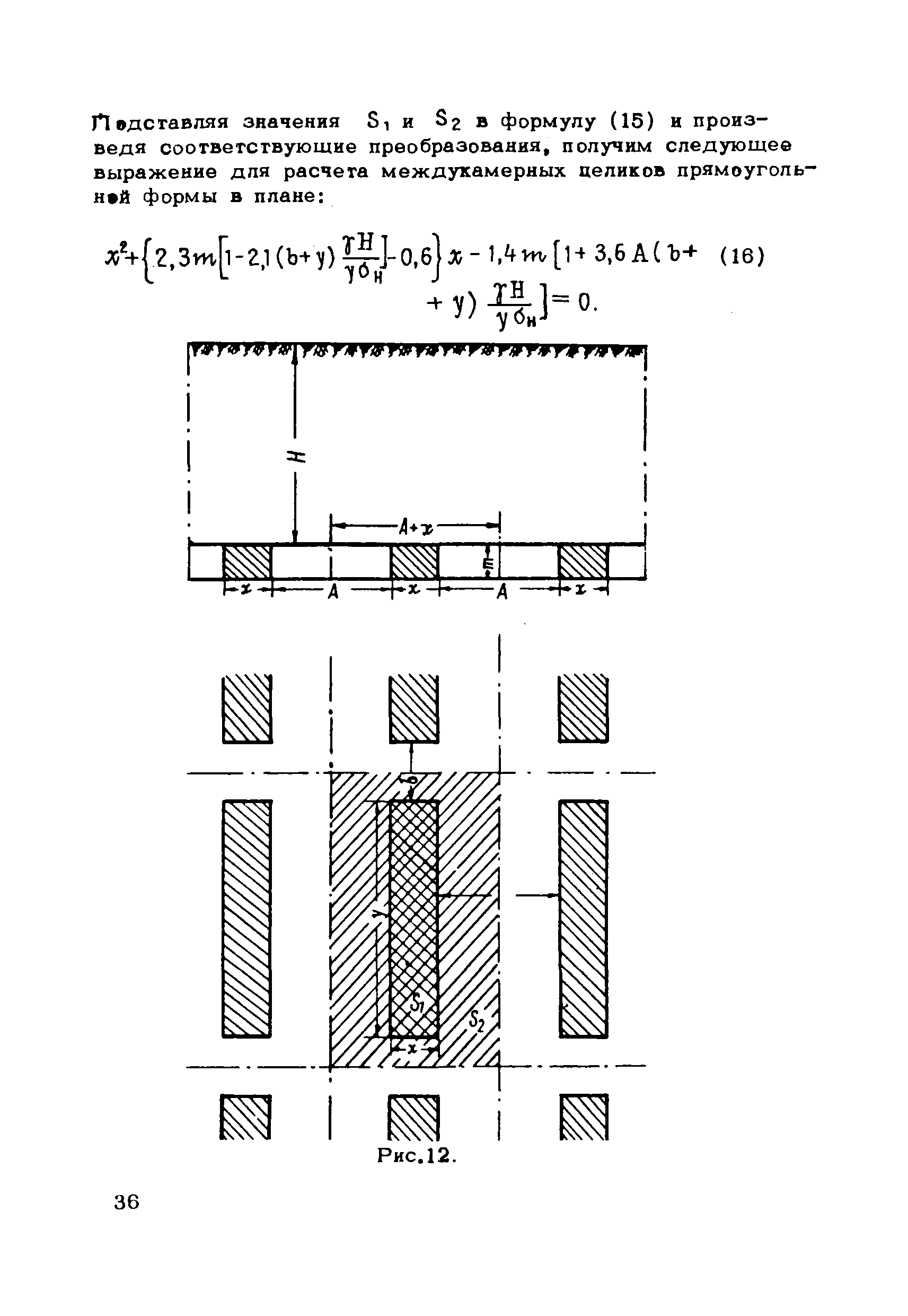
   2 Расчет междукамерных целиков
   3 Расчет междублоковых (барьерных) целиков
   4 Расчет целиков, оставляемых для охраны откаточных и вентиляционных выработок
   5 Графики изменения размеров целиков
Литература
Разработан: ВНИМИ
Утверждён: Министерство угольной промышленности СССР (USSR Ministry of the Coal Industry )