Скачать Методические указания по определению прочности горных пород на сжатие

Дата актуализации: 01.01.2021

Методические указания по определению прочности горных пород на сжатие

Статус:справочные материалы, мп, тпр
Название рус.:Методические указания по определению прочности горных пород на сжатие
Дата добавления в базу:01.01.2018
Дата актуализации:01.01.2021
Область применения:В документе описаны разработанные лабораторией механических испытаний ВНИМИ методы испытаний горных пород при одноосном и объемном сжатии
Оглавление:Введение
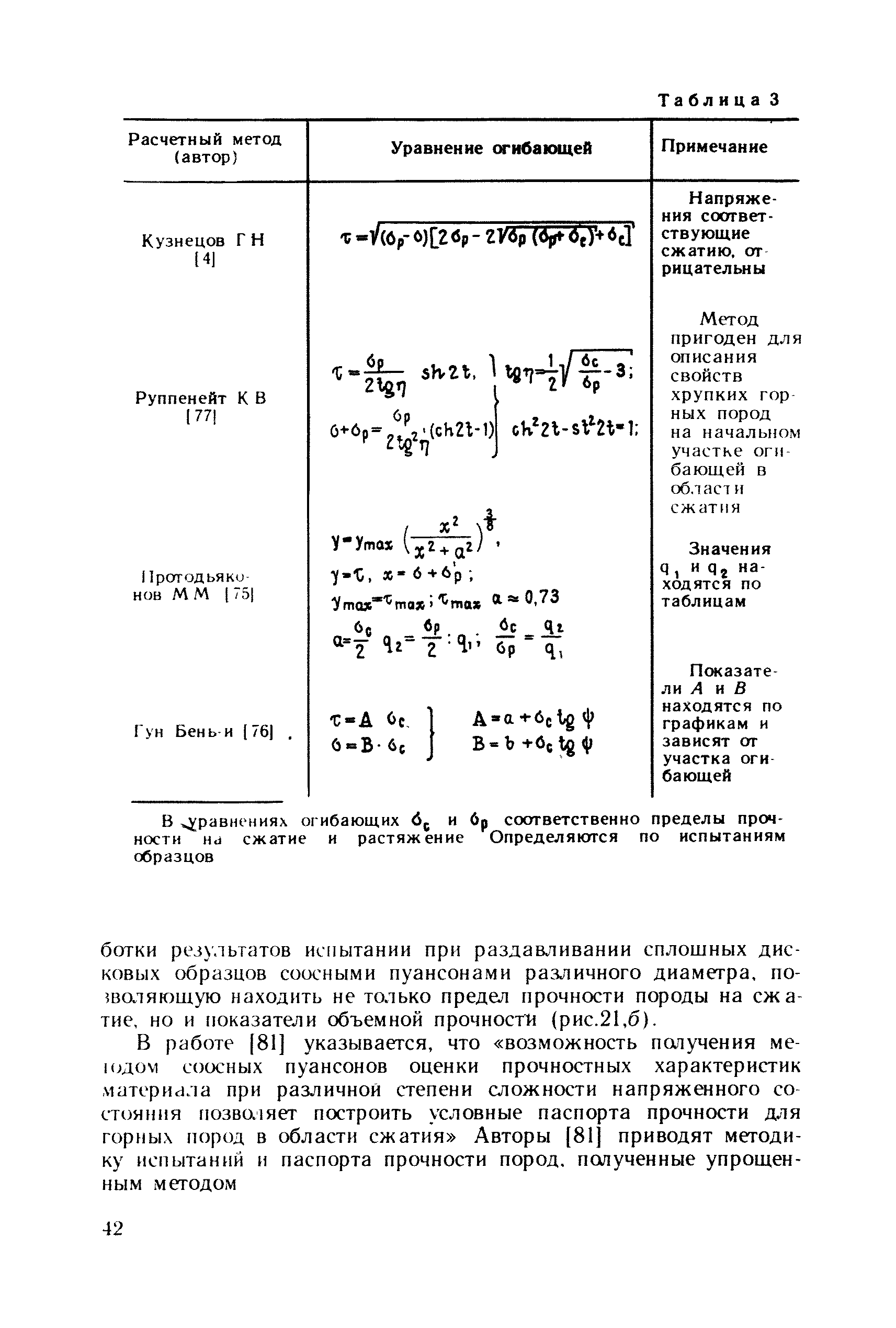
Глава I. Определение прочности пород на одноосное сжатие
   1 Краткий анализ основных схем испытаний
   2 Влияние отношения высоты образца к его диаметру на прочностные и деформационные свойства горных пород
   3 Разработка эталонных (точных) и приближенных методов определения прочности пород на одноосное сжатие
   4 Результаты испытаний
   5 Основные рекомендации
Глава II. Упрощенные методы определения показателей объемной прочности горных пород
   1 Краткий анализ существующих методов испытаний
   2 Разработка упрощенного метода испытаний
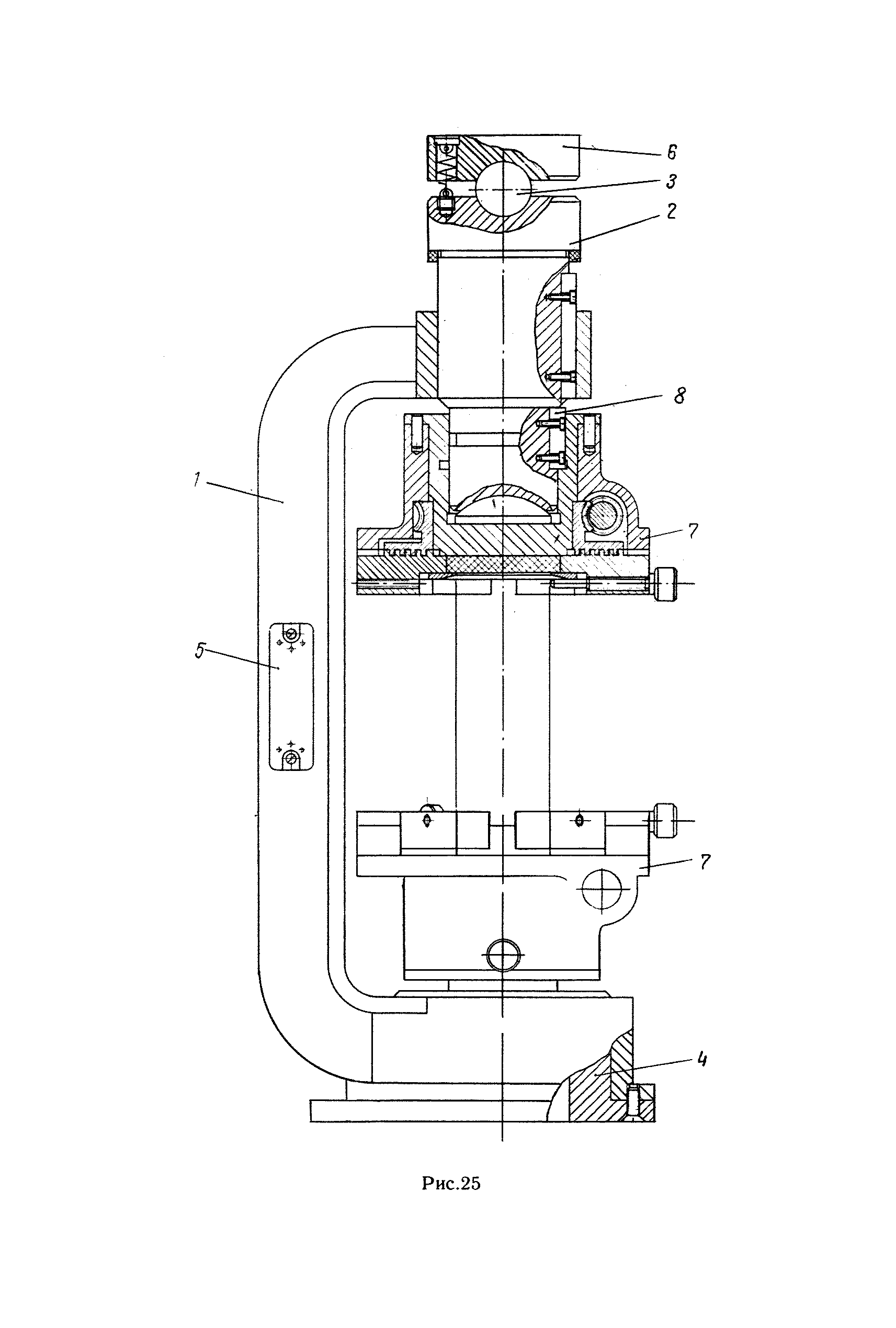
Приложение 1. Прибор сжатия БП19
Приложение 2. Метод испытаний прочности горных пород на одноосное сжатие в устройстве с напряженными прокладками
Приложение 3. Метод испытаний прочности горных пород на одноосное сжатие в устройстве с шариковыми инденторами и эластичной прокладкой
Приложение 4. Упрощенный метод определения показателей объемной прочности горных пород
Приложение 5. Программа машинной обработки результатов испытаний образцов горных пород в стабилометре
Литература
Разработан: ВНИМИ
Утверждён: ВНИМИ