Скачать Методические указания по определению параметров управления горным давлением в типовых горногеологических условиях разработки мощных пологих пластов

Дата актуализации: 01.01.2021

Методические указания по определению параметров управления горным давлением в типовых горногеологических условиях разработки мощных пологих пластов

Статус:справочные материалы, мп, тпр
Название рус.:Методические указания по определению параметров управления горным давлением в типовых горногеологических условиях разработки мощных пологих пластов
Дата добавления в базу:01.01.2018
Дата актуализации:01.01.2021
Область применения:Методические указания рассчитаны на специалистов, занимающихся вопросами разработки мощных пологих пластов
Оглавление:1. Введение
2. Типизация горногеологических условий разработки мощных пластов с углами падения до 35°
   2.1. Принципы разделения пластов по их строению
   2.2. Определение типовых горногеологических условий разработки мощных пластов
   2.3. Выбор систем разработки для типовых условий
3. Особенности проявлений горного давления в типовых условиях
   3.1. Выемка пластов сразу на полную мощность
   3.2. Выемка пластов наклонными слоями
   3.3. Влияние надработки и подработки пласта на управление кровлей в очистном забое
   3.4. Слоевые подготовительные выработки
4. Рекомендации по выбору параметров управления горным давлением
   4.1. Выемка пластов сразу на полную мощность
   4.2. Выемка пластов наклонными слоями
   4.3. Подработка пластов
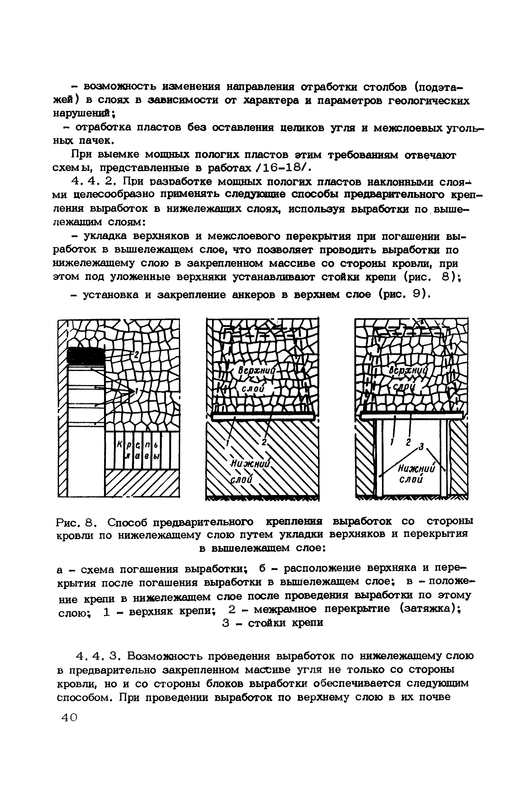
   4.4. Слоевые подготовительные выработки
Приложение. Распределение промышленных запасов угля в пластах мощностью более 3,5 м с углом падения до 35° по условиям разработки, строению и свойствам пласта и вмещающих пород
Литература
Разработан: ВНИМИ
Утверждён: Министерство угольной промышленности СССР (USSR Ministry of the Coal Industry )