Скачать Руководство по определению технического состояния контейнера-цистерны

Дата актуализации: 01.01.2021

Руководство по определению технического состояния контейнера-цистерны

Статус:действует
Название рус.:Руководство по определению технического состояния контейнера-цистерны
Дата добавления в базу:01.01.2018
Дата актуализации:01.01.2021
Дата введения:01.11.2017
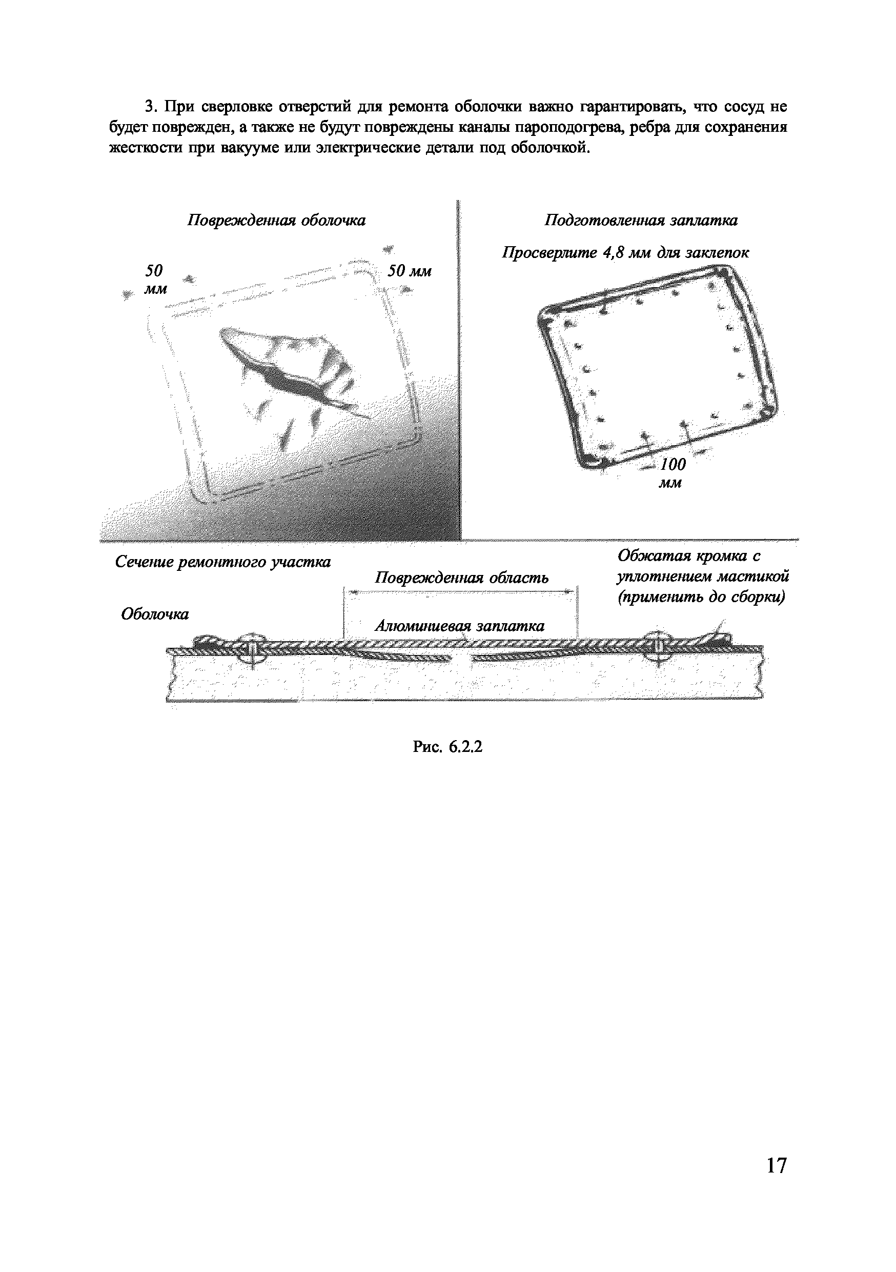
Область применения:Руководство включает перечень компонентов контейнеров-цистерн и описывает их удовлетворительное и неудовлетворительное состояние в соответствии с признанными стандартами, согласованными Международной организацией по танк-контейнерам (IТСО), а также требованиями Правил технического наблюдения за контейнерами в эксплуатации, 2015 Российского морского регистра судоходства. Руководство не является обязательным нормативным документом и носит справочный характер, в дополнение к другим нормативным документам может применяться персоналом, выполняющим оценку технического состояния и ремонт контейнеров-цистерн.
Оглавление:1 Общие положения
   1.1 Определения и пояснения
   1.2 Сокращения
2 Чистота сосуда контейнера-цистерны
   2.1 Внутренние поверхности сосуда
   2.2 Наружные поверхности сосуда
   2.3 Маркировка
3 Рама
   3.1 Угловые стойки
   3.2 Верхние и нижние боковые и торцевые балки, части области передачи нагрузки
   3.3 Угловые фитинги
   3.4 Дополнительные элементы крепления
   3.5 Несущие опоры сосуда и контактные площадки
   3.6 Защитные пластины нижних балок (при штабелировании)
4 Мостки и лестницы
5 Лакокрасочные покрытия
6 Изоляция и оболочка
   6.1 Изоляция
   6.2 Наружное покрытие изоляции (оболочка)
7 Узел люка-лаза
   7.1 Люк-лаз и гайки-барашки
   7.2 Уплотнения люка-лаза
   7.3 Измерительный щуп и диаграмма калибровки
8 Предохранительные клапаны
   8.1 Клапаны давления и вакуумные клапаны
   8.2 Пламегаситель (при наличии)
   8.3 Разрывные мембраны (при наличии)
9 Верхние клапаны
   9.1 Воздушные (паровые) клапаны
   9.2 Устройство верхнего слива
   9.3 Сифонная труба (при наличии)
10 Сосуд под давлением
11 Донные клапаны
   11.1 Нижний клапан
   11.2 Заглушка
   11.3 Винтовая крышка
   11.4 Дистанционное экстренное закрытие
   11.5 Дополнительные клапаны
12 Система подогрева
   12.1 Труба пароподогрева с крышкой
   12.2 Термометр
   12.3 Электроподогрев
13 Прочее
   13.1 Наклейки и таблички
   13.2 Пенал для документов
   13.3 Отделения и перегородки
   13.4 Заземление
14 Испытания
   14.1 Пневматические испытания
   14.2 Гидравлические испытания (после ремонта)
   14.3 Периодические испытания в объемах 2,5 и 5 лет
Приложение 1. Пример Программы испытаний контейнера-цистерны
Приложение 1-1. Акт анализа газов в контейнере-цистерне
Приложение 1-2. Акт испытаний контейнера-цистерны
Приложение 2. Отчет о внутренней проверке сосуда
Приложение 3. Стандартные уплотнения и прокладки
Приложение 4. Выполнение ремонтных работ в депо
Разработан: Российский морской регистр судоходства
Утверждён: Российский морской регистр судоходства
Издан: Российский морской регистр судоходства (2017 г. )