Скачать Методические рекомендации по подготовке исходной информации для расчета грузонапряженности на перегонах в транспортных узлах и на сети автомобильных дорог с помощью ЭВМ

Дата актуализации: 01.01.2021

Методические рекомендации по подготовке исходной информации для расчета грузонапряженности на перегонах в транспортных узлах и на сети автомобильных дорог с помощью ЭВМ

Статус:справочные материалы, мп, тпр
Название рус.:Методические рекомендации по подготовке исходной информации для расчета грузонапряженности на перегонах в транспортных узлах и на сети автомобильных дорог с помощью ЭВМ
Дата добавления в базу:01.01.2018
Дата актуализации:01.01.2021
Область применения:Методические рекомендации разработаны в целях повышения качества и эффективности проектирования автомобильных дорог с применением электронно-вычислительных машин и предназначены для расчета грузонапряженности на перегонах в транспортных узлах и ан сети дорог с количеством узлов не более 400
Оглавление:Введение
Аннотация
1. Паспорт на программу
2. Назначение и область применения
3. Описание решаемой задачи
4. Структура программы
5. Логическая блок-схема программы CORA
6. Описание информационного обеспечения
7. Описание подпрограмм
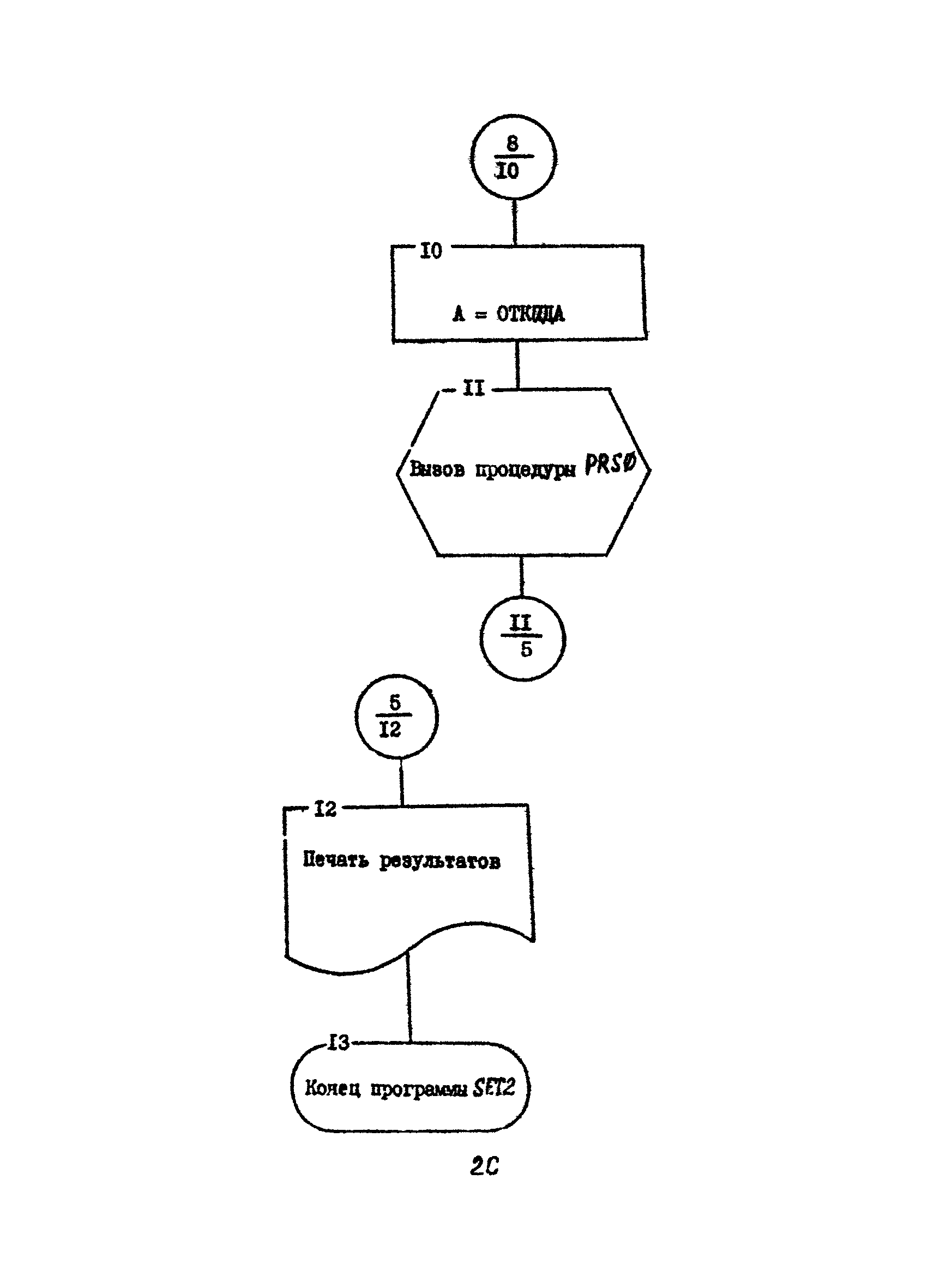
   7.1. Подпрограмма SET2
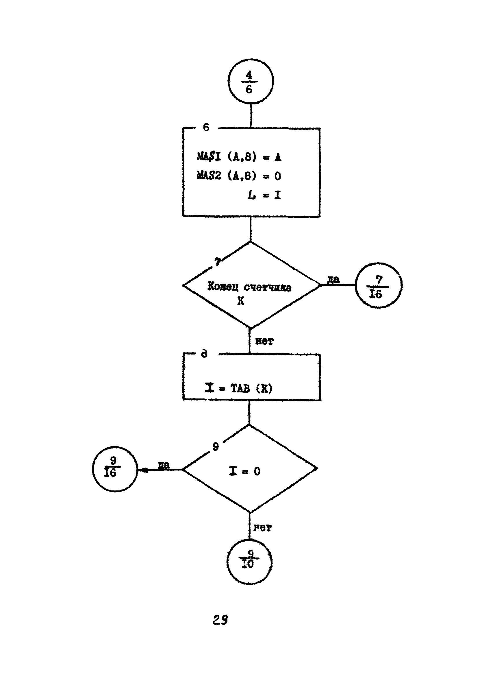
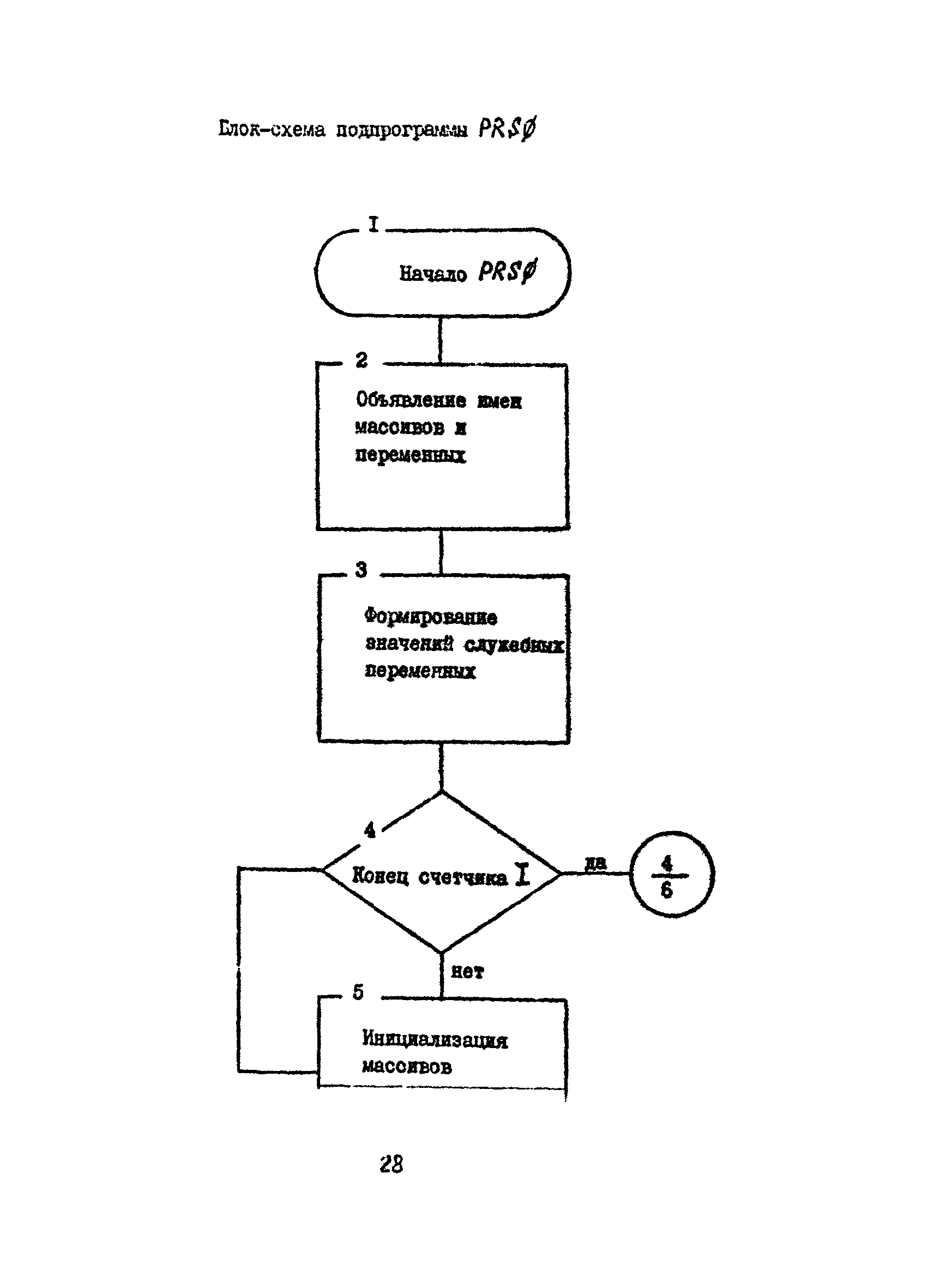
   7.2. Подпрограмма PRSO
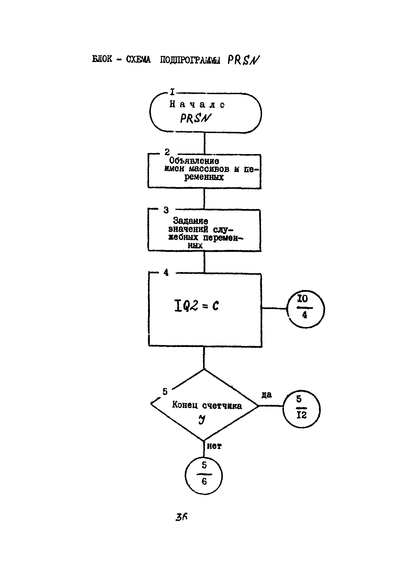
   7.3. Подпрограмма PRSN
8. Эксплуатационная документация
   8.1. Руководство программиста
   8.2. Инструкция по перфорации
   8.3. Инструкция по заполнению входных и использованию выходных документов
   8.4. Контрольный пример
Разработан: Союздорпроект Минтрансстроя
Утверждён:23.07.1979 Союздорпроект Минтрансстроя (Soyuzdorproject, Mintransstroy )