Скачать СТБ ЕН 81-1-2006 Требования безопасности к конструкции и установке лифтов. Часть 1. Лифты электрическиеДата актуализации: 01.01.2021
|
| Обозначение: | СТБ ЕН 81-1-2006 |
| Обозначение англ: | 81-1-2006 |
| Статус: | применяется в еаэс |
| Название рус.: | Требования безопасности к конструкции и установке лифтов. Часть 1. Лифты электрические |
| Название англ.: | Safety rules for construction and installation of lifts. Part 1. Electric lifts |
| Дата добавления в базу: | 01.01.2018 |
| Дата актуализации: | 01.01.2021 |
| Дата введения: | 21.11.2011 |
| Дата окончания срока действия: | 01.07.2018 |
| Область применения: | Целью европейского стандарта является определение правил безопасности, касающихся пассажирских и грузопассажирских лифтов, с целью защиты людей и объектов от риска аварий, связанных с обслуживанием лифтов и их функционированием в критической ситуации. |
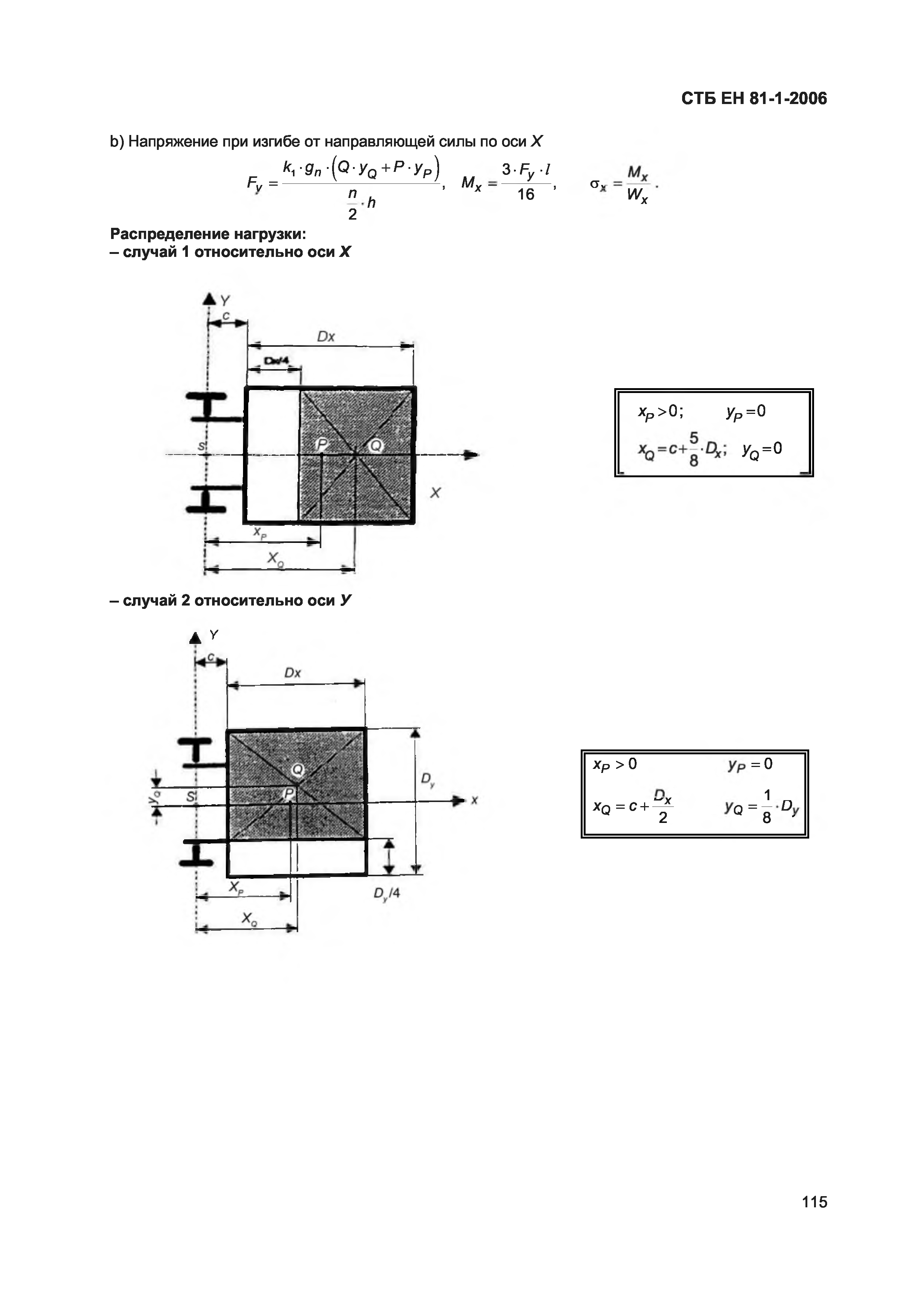
| Оглавление: | 0 Введение 0.1 Общие положения 0.2 Принципы 0.3 Допущения 1 Область применения 2 Нормативные ссылки 3 Термины определения 4 Единицы измерения и обозначения 4.1 Единицы физических величин 4.2 Обозначения 5 Шахта лифта 5.1 Общие положения 5.2 Ограждение шахты лифта 5.3 Стены, пол и перекрытие шахты 5.4 Конструкция стен лифтовых шахт и дверей на этажной площадке со стороны входа в кабину 5.5 Защита пространства (помещений) под кабиной, противовесом или уравновешивающим грузом 5.6 Защита в шахте лифта 5.7 Высота верхнего этажа и приямок 5.8 Ограничение использования шахты лифта 5.9 Освещение шахты лифта 5.10 Сигнализация в шахте лифта 6 Помещения для оборудования и приводов лифта 6.1 Общие положения 6.2 Проходы 6.3 Оборудование в машинном помещении 6.4 Размещение оборудования лифта внутри шахты 6.5 Оборудование снаружи шахты лифта 6.6 Оборудование для проведения аварийных работ и испытаний 6.7 Конструкция и оборудование блочных помещений 7 Двери шахты лифта 7.1 Общие положения 7.2 Прочность дверей шахты 7.3 Высота и ширина дверей 7.4 Пороги, направляющие и подвеска дверей 7.5 Требования безопасности к двери 7.6 Освещение и индикация присутствия кабины 7.7 Контроль закрывания и запирание дверей шахты 7.8 Закрытие автоматически открывающихся дверей 8 Кабина, противовес и уравновешивающий груз 8.1 Высота кабины 8.2 Полезная площадь кабины, номинальная нагрузка, число пассажиров 8.3 Стены, пол и крыша кабины 8.4 Фартук 8.5 Вход в кабину 8.6 Двери кабины 8.7 Защита при работе дверей 8.8 Реверсирование движения 8.9 Электрическое устройство подтверждения закрытия дверей кабины 8.10 Раздвижные двери кабины с несколькими механически соединенными панелями 8.11 Открывание двери кабины 8.12 Аварийные люки, аварийные двери 8.13 Крыша кабины 8.14 Пространство над кабиной 8.15 Оборудование на крыше кабины 8.16 Вентиляция 8.17 Освещение 8.18 Противовес и уравновешивающий груз 9 Подвеска, уравновешивание, защита от превышения допустимой скорости и неконтролируемого движения кабины 9.1 Подвесные средства 9.2 Соотношение между диаметрами шкивов блоков, барабанов и канатов. Заделка концов канатов и цепей 9.3 Сцепление канатов с канатоведущим шкивом 9.4 Наматывание канатов на барабан 9.5 Распределение нагрузки между канатами или цепями 9.6 Уравновешивание с помощью канатов 9.7 Защита канатоведущих шкивов, блоков и звездочек 9.8Ловитель 9.9 Ограничитель скорости 9.10 Средства ограничения скорости движущейся вверх кабины 9.11 Защита от неконтролируемого движения кабины 10 Направляющие, буфера и концевые выключатели 10.1 Направляющие. Общие положения 10.2 Перемещение кабины, противовеса или уравновешивающего груза по направляющим 10.3 Буфера кабины и противовеса 10.4 Длина хода буферов кабины и противовеса 10.5 Концевые выключатели 11 Зазоры между кабиной и стеной шахты со стороны входа в кабину, а также между кабиной и противовесом или уравновешивающим грузом 11.1 Общие положения 11.2 Зазоры между кабиной и стеной шахты со стороны входа в кабину 11.3 Зазоры между кабиной, противовесом или уравновешивающим грузом 12 Привод 12.1 Общие положения 12.2 Привод кабины и противовеса или уравновешивающего груза 12.3 Отводные блоки и звездочки 12.4 Тормозная система 12.5 Аварийное управление 12.6 Скорость 12.7 Остановка привода и контроль состояния останова 12.8 Контроль нормального замедления привода при буферах с укороченной длиной хода 12.9 Устройства безопасности против ослабления натяжения каната или цепи 12.10 Ограничитель времени работы двигателя 12.11 Защита оборудования 12.12 Нормальная остановка кабины на посадочной площадке и точность выравнивания 13 Электрические установки и оборудование 13.1 Общие положения 13.2 Контакторы, релейные контакторы и элементы предохранительных цепей 13.3 Защита электродвигателя и другого электрического оборудования 13.4 Главные выключатели 13.5 Электропроводка 13.6 Освещение и электрические розетки 14 Защита электрических цепей от неисправностей; управление; приоритеты 14.1 Анализ неисправностей и электрические предохранительные устройства 14.2 Органы управления 15 Надписи, маркировка и инструкции по эксплуатации 15.1 Общие положения 15.2 Кабина 15.3 Крыша кабины 15.4 Машинное и блочное помещения 15.5 Шахта лифта 15.6 Ограничитель скорости 15.7 Приямок шахты 15.8 Буфера 15.9 Идентификация обозначения этажей 15.10 Маркировка электрических устройств 15.11 Ключ для отпирания дверей шахты лифта 15.12 Устройство аварийной сигнализации 15.13 Запирающие устройства 15.14 Ловители 15.15 Группы лифтов 15.16 Средства ограничения скорости движущейся вверх кабины 16 Осмотры. Испытания. Паспорт лифта. Техническое обслуживание 16.1 Осмотры и испытания 16.2 Паспорт лифта 16.3 Инструкция по эксплуатации Приложение А (обязательное) Перечень электрических устройств безопасности Приложение В (обязательное) Треугольный ключ для запирания и отпирания двери Приложение С (справочное) Техническая документация Приложение D (обязательное) Осмотры и испытания перед вводом в эксплуатацию Приложение Е (справочное) Периодические осмотры и испытания, осмотры и испытания после существенных модификаций или после аварии Приложение F (обязательное) Устройства безопасности. Методы оценки соответствия Приложение G (справочное) Выбор направляющих Приложение Н (обязательное) Электронные компоненты. Предотвращение отказа Приложение J (обязательное) Испытания на удар маятником Приложение К (обязательное) Верхние зазоры для лифтов с канатоведущим шкивом Приложение L (обязательное) Необходимая длина хода буфера Приложение М (справочное) Тяговый расчет Приложение N (обязательное) Расчет коэффициента запаса прочности тяговых канатов Приложение О (справочное) Проходы к помещениям для оборудования в соответствии с 6.1 Приложение Р (справочное) Описание возможных мер Приложение ZА (справочное) Взаимосвязь европейского стандарта и существенных требований директивы ЕС 95/16/ЕС с изменениями, внесенными директивой 2006/42/ЕС Приложение Д.А (справочное) Сведения о соответствии европейских стандартов, на которые даны ссылки, государственным стандартам, принятым в качестве идентичных межгосударственных стандартов |
| Разработан: | УП Промстандарт |
| Утверждён: | 29.08.2006 Госстандарт Республики Беларусь (39) |
| Издан: | БелГИСС (2013 г. ) |




































































































































































