Скачать ГОСТ Р ИСО 22476-5-2017 Геотехнические исследования и испытания. Испытания полевые. Часть 5. Испытание гибким дилатометромДата актуализации: 01.01.2021
|
| Обозначение: | ГОСТ Р ИСО 22476-5-2017 |
| Обозначение англ: | GOST R ISO 22476-5-2017 |
| Статус: | принят |
| Название рус.: | Геотехнические исследования и испытания. Испытания полевые. Часть 5. Испытание гибким дилатометром |
| Название англ.: | Geotechnical investigation and testings. Field testing. Part 5. Flexible dilatometer test |
| Дата добавления в базу: | 01.01.2019 |
| Дата актуализации: | 01.01.2021 |
| Дата введения: | 01.01.2022 |
| Область применения: | Стандарт определяет требования к оборудованию, выполнению испытаний с применением гибкого дилатометра и соответствующей отчетности. Стандарт распространяется на испытаниям в грунтах средней пластичности, на которые процесс бурения не оказывает неблагоприятного влияния. Стандарт применим к четырем процедурам проведения испытания с использованием гибкого дилатометра. Стандарт распространяется на к испытаниям на глубине до 1800 м, проводимые как на суше, так и на шельфе. |
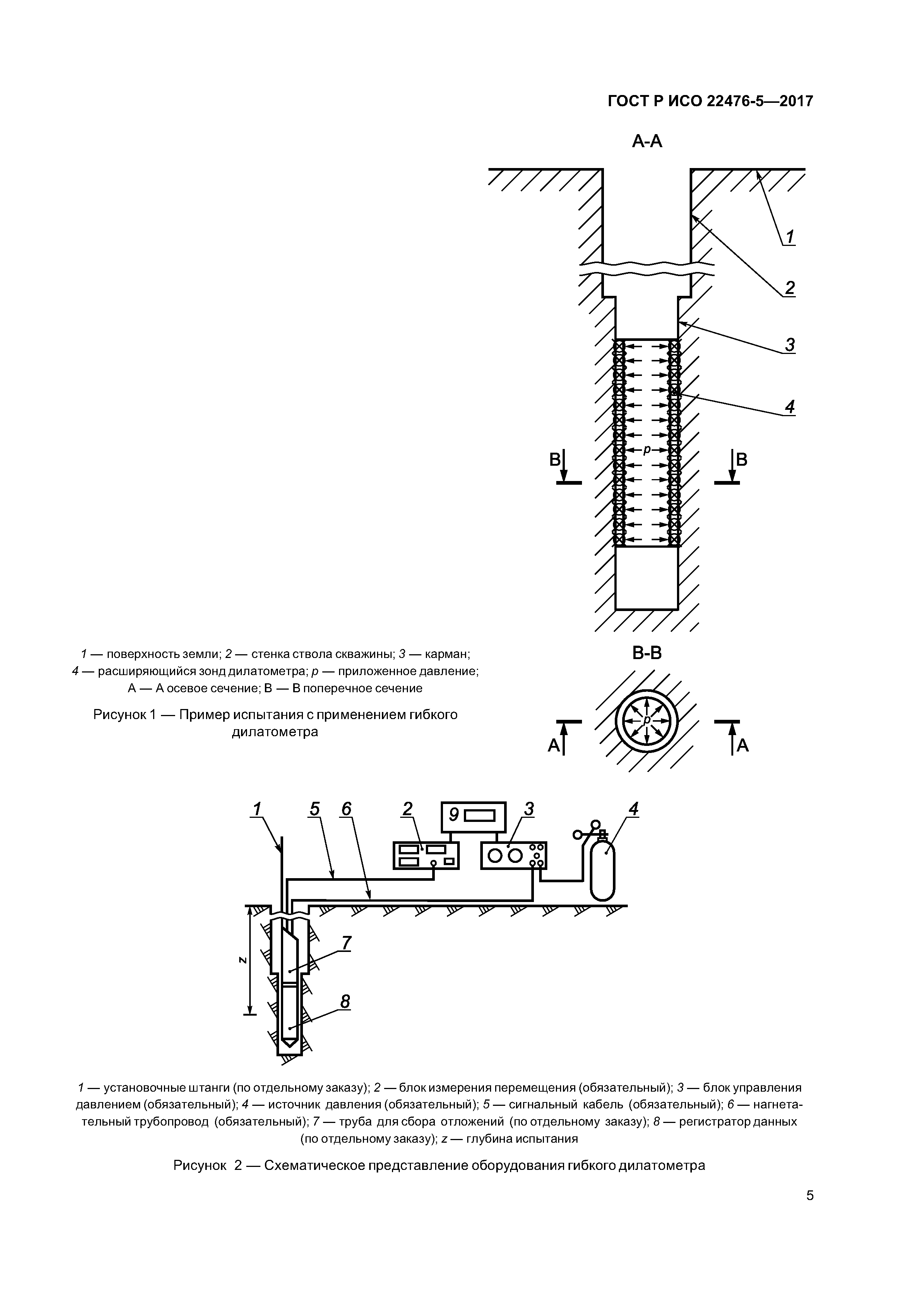
| Оглавление: | 1 Область применения 2 Нормативные ссылки 3 Термины, определения и обозначения 4 Оборудование 5 Процедура испытания 6 Результаты испытаний 7 Протокол испытаний Приложение А (обязательное) Поверка и поправки Приложение В (обязательное) Выполнение испытания Приложение С (обязательное) Полевой отчет и результаты GFDT Приложение D (обязательное) Точность и погрешность Приложение ДА (справочное) Сведения о соответствии ссылочных международных и европейских стандартов национальным стандартам Библиография |
| Разработан: | ФГУП СТАНДАРТИНФОРМ АО НИЦ Строительство - НИИОСП им. Н.М. Герсеванова |
| Утверждён: | 17.11.2017 Федеральное агентство по техническому регулированию и метрологии (1765-ст) |
| Издан: | Стандартинформ (2017 г. ) |
| Нормативные ссылки: |































