Скачать ГОСТ Р 57924-2017 Композиты полимерные. Методы определения горючести материалов для авиационной техникиДата актуализации: 01.01.2021
|
| Обозначение: | ГОСТ Р 57924-2017 |
| Обозначение англ: | GOST R 57924-2017 |
| Статус: | введен впервые |
| Название рус.: | Композиты полимерные. Методы определения горючести материалов для авиационной техники |
| Название англ.: | Polymeric composites. Methods for determination of flammability of the materials for use in aviation technics |
| Дата добавления в базу: | 01.01.2019 |
| Дата актуализации: | 01.01.2021 |
| Дата введения: | 01.06.2018 |
| Область применения: | Стандарт распространяется на полимерные композиты, предназначенные для применения в конструкциях или отделке авиационной техники. Стандарт устанавливает методы определения характеристик горючести полимерных композитов. |
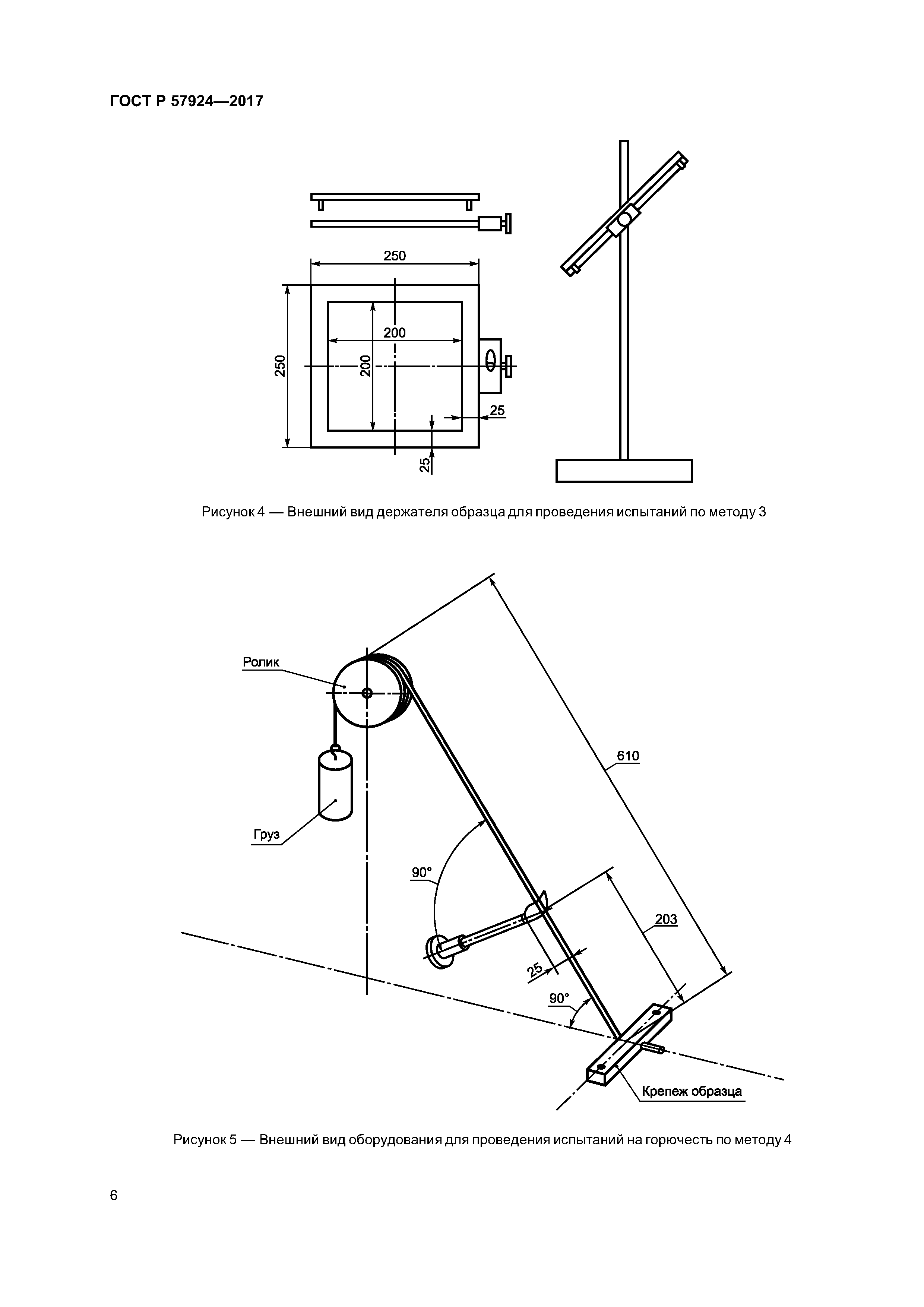
| Оглавление: | 1 Область применения 2 Нормативные ссылки 3 Термины и определения 4 Сущность методов 5 Оборудование для испытаний 6 Образцы 7 Проведение испытаний 8 Обработка результатов испытаний 9 Протокол испытаний Приложение А (рекомендуемое) Применение методов испытаний на горючесть в зависимости от функционального назначения материалов и предельно допустимые значения показателей горючести Приложение Б (рекомендуемое) Классификация материалов по группам горючести |
| Разработан: | Объединение юридических лиц Союз производителей композитов ФГУП Всероссийский институт авиационных материалов АНО Центр нормирования, стандартизации и классификации композитов |
| Утверждён: | 08.11.2017 Федеральное агентство по техническому регулированию и метрологии (1688-ст) |
| Издан: | Стандартинформ (2017 г. ) |
| Нормативные ссылки: |
|


















