Скачать НТП-ОФ 3-69 Нормы технологического проектирования обогатительных фабрик для руд и черных металлов. Часть 3. Автоматизация основных производственных процессов флотационных фабрик для руд цветных металлов и обогатительных фабрик для магнетитовых рудДата актуализации: 01.01.2021
|
| Обозначение: | НТП-ОФ 3-69 |
| Обозначение англ: | 3-69 |
| Статус: | справочные материалы, мп, тпр |
| Название рус.: | Нормы технологического проектирования обогатительных фабрик для руд и черных металлов. Часть 3. Автоматизация основных производственных процессов флотационных фабрик для руд цветных металлов и обогатительных фабрик для магнетитовых руд |
| Дата добавления в базу: | 01.01.2019 |
| Дата актуализации: | 01.01.2021 |
| Область применения: | В документе приводятся решения по автоматизации только некоторых технологических схем, рекомендуемых технологическими нормами, однако этими схемами охватываются элементы, автоматизации практически всех схем, применяемых в проектной практике для указанных переделов. |
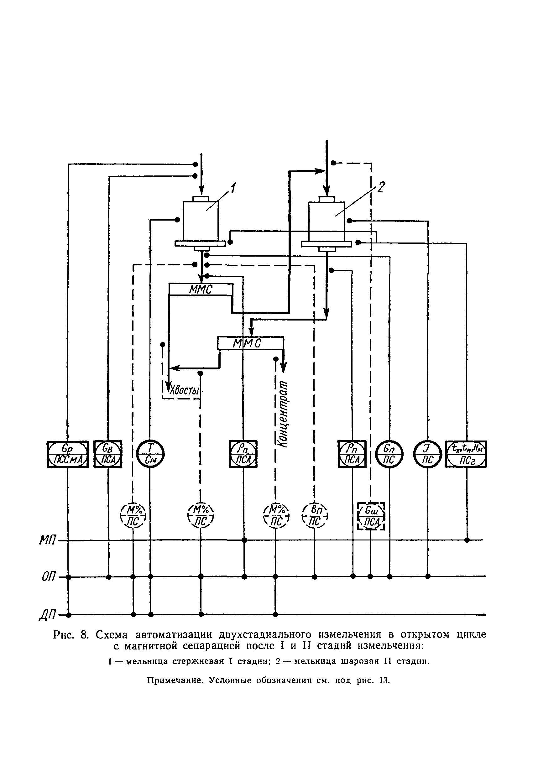
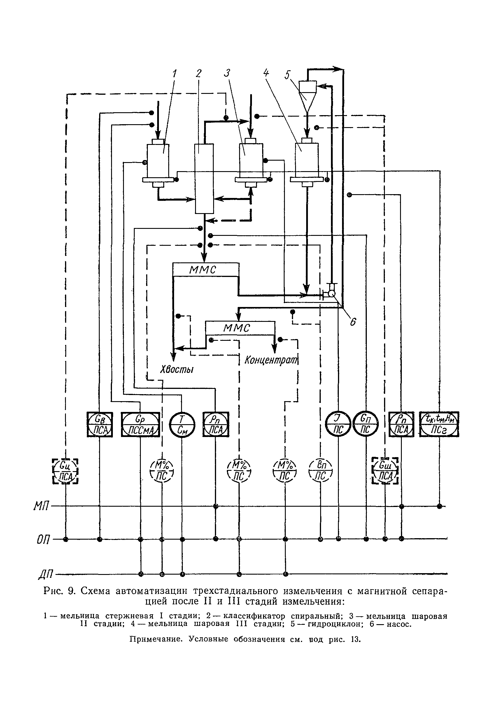
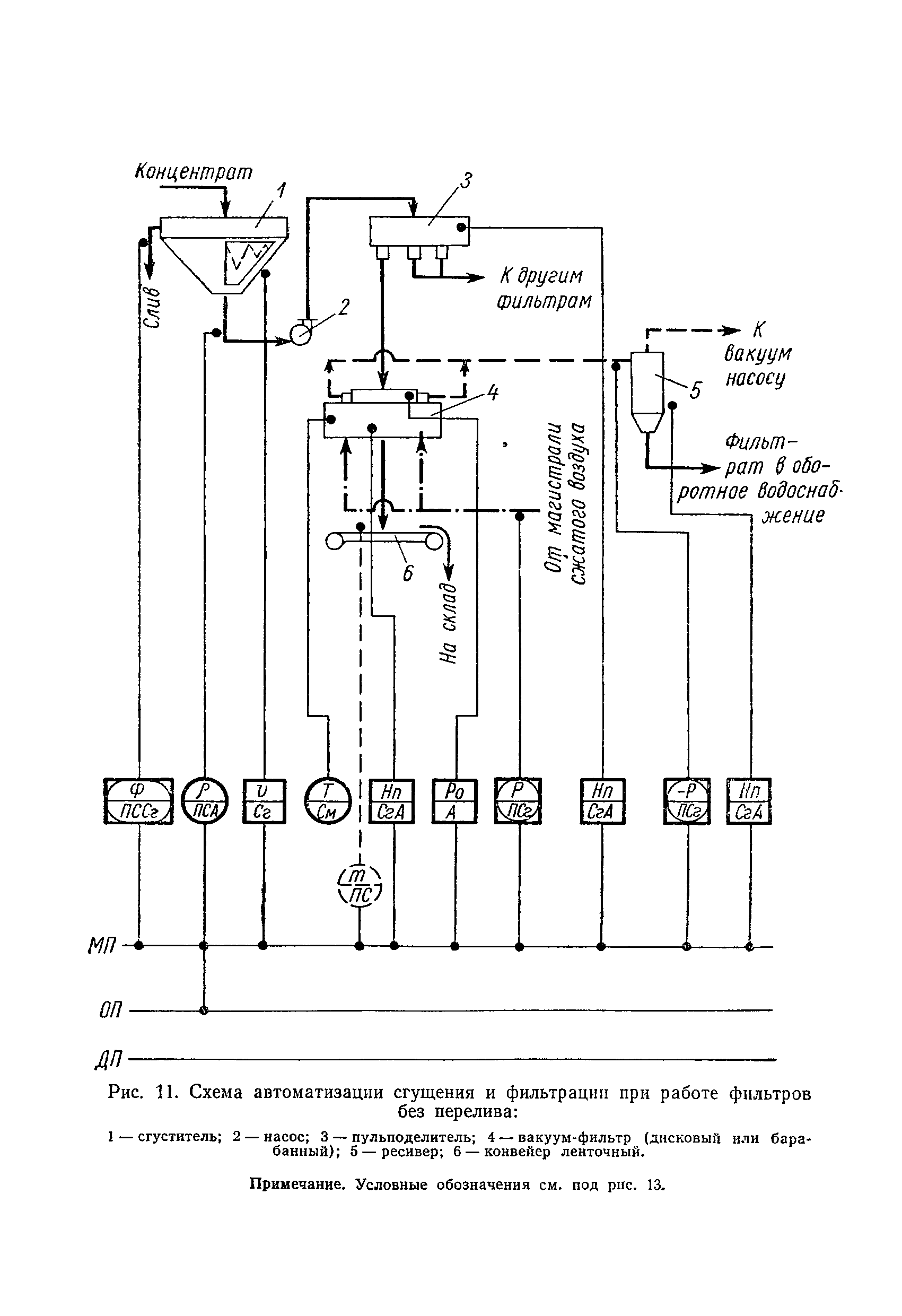
| Оглавление: | Раздел 1. Общая часть Раздел 2. Оперативное управление производством 2.1. Общие положения 2.2. Структура управления 2.3. Диспетчерские и операторские пункты Раздел 3. Автоматический контроль и регулирование основных технологических процессов 3.1. Дробление 3.2. Измельчение и классификация 3.3. Флотация руд цветных металлов 3.4. Магнитная сепарация 3.5. Обезвоживание 3.6. Общефабричные измерения 3.7. Выбор систем автоматического контроля и регулирования 3.8. Применение информационно-вычислительных и управляющих машин (ИВМ и ИВУМ) 3.9. Организация службы КИП на фабрике 3.10. Исходные данные для проектирования автоматизации фабрик 3.11. Требования к конструктивно-компоновочным решениям и к технологическому оборудованию в свете автоматизации фабри Раздел 4. Управление электроприводами агрегатов и механизмов 4.1. Общие указания 4.2. Поточно-транспортные системы 4.3. Конусные и щековые дробилки 4.4. Питатели 4.5. Передвижные конвейеры для загрузки бункеров и складов 4.6. Самоходные разгрузочные тележки 4.7. Тяжелые и сверхтяжелые конвейеры 4.8. Шаровые и стержневые мельницы 4.9. Классификаторы 4.10. Насосы перекачки продуктов обогащения 4.11. Дренажные насосы 4.12. Сгустители 4.13. Дешламаторы 4.14. Вакуум-фильтры 4.15. Шиберы Раздел 5. Связь и сигнализация 5.1. Общие указания 5.2. Административно-производственная телефонная связь 5.3. Шефская телефонная связь (директорская) 5.4. Диспетчерская телефонная связь фабрики 5.5. Диспетчерская телефонная связь энергохозяйства 5.6. Производственная громкоговорящая связь (ПГС) 5.7. Электрочасофикация 5.8. Пожарная сигнализация 5.9. Промышленное телевидение 5.10. Радиосвязь 5.11. Радиофикация 5.12. Слаботочные сети и заземления 5.13. Источники питания 5.14. Эксплуатация устройств связи и сигнализации 5.15. Помещения участка связи Раздел 6. Эффективность автоматизации обогатительных фабрик Приложение 1. Основные технические условия проектирования диспетчерских и операторских пунктов 1. Организация рабочего места 2. Строительная часть 3. Освещение 4. Отопление, вентиляция и кондиционирование воздуха 5. Магнитное поле Приложение 2. Перечень некоторых нормативных и методических материалов, обязательных и рекомендуемых к применению при проектировании автоматизации обогатительных фабрик |
| Разработан: | ВНИИ и ПИ Механобр Министерства цветной металлургии СССР ЛО Тяжпромэлектропроект ЛенПЭО ВНИИпроектэлектромонтаж Министерства монтажных и специальных строительных работ СССР Проектавтоматика |
| Утверждён: | Министерство черной металлургии СССР Министерство цветной металлургии СССР |
| Принят: | Госстрой СССР |
| Заменяет собой: | |
| Нормативные ссылки: |
































































