Скачать Руководство по перевозке унифицированных сборных железобетонных деталей и конструкций промышленного строительства автомобильным транспортомДата актуализации: 01.01.2021 |
| Статус: | справочные материалы, мп, тпр |
| Название рус.: | Руководство по перевозке унифицированных сборных железобетонных деталей и конструкций промышленного строительства автомобильным транспортом |
| Дата добавления в базу: | 01.01.2019 |
| Дата актуализации: | 01.01.2021 |
| Область применения: | Руководство содержит общие положения по погрузке, транспортированию, разгрузке и складированию сборных железобетонных изделий; техническую характеристику автотранспортных средств общего назначения, специализированного автотранспорта и погрузочно-разгрузочных средств; требования к перевозкам грузов автомобильным транспортом по дорогам общей сети СССР; способы подбора автотранспортных средств; номенклатуру действующих типовых деталей и конструкций, применяемых при строительстве производственных зданий и промышленных сооружений; автотранспортные и погрузочно-разгрузочные средства для перевозки деталей и конструкций с указанием способов укладки, мест опирания и строповки. Руководство предназначается для работников автотранспортных, проектных, научно-исследовательских и строительно-монтажных организаций и заводов по изготовлению сборных железобетонных изделий |
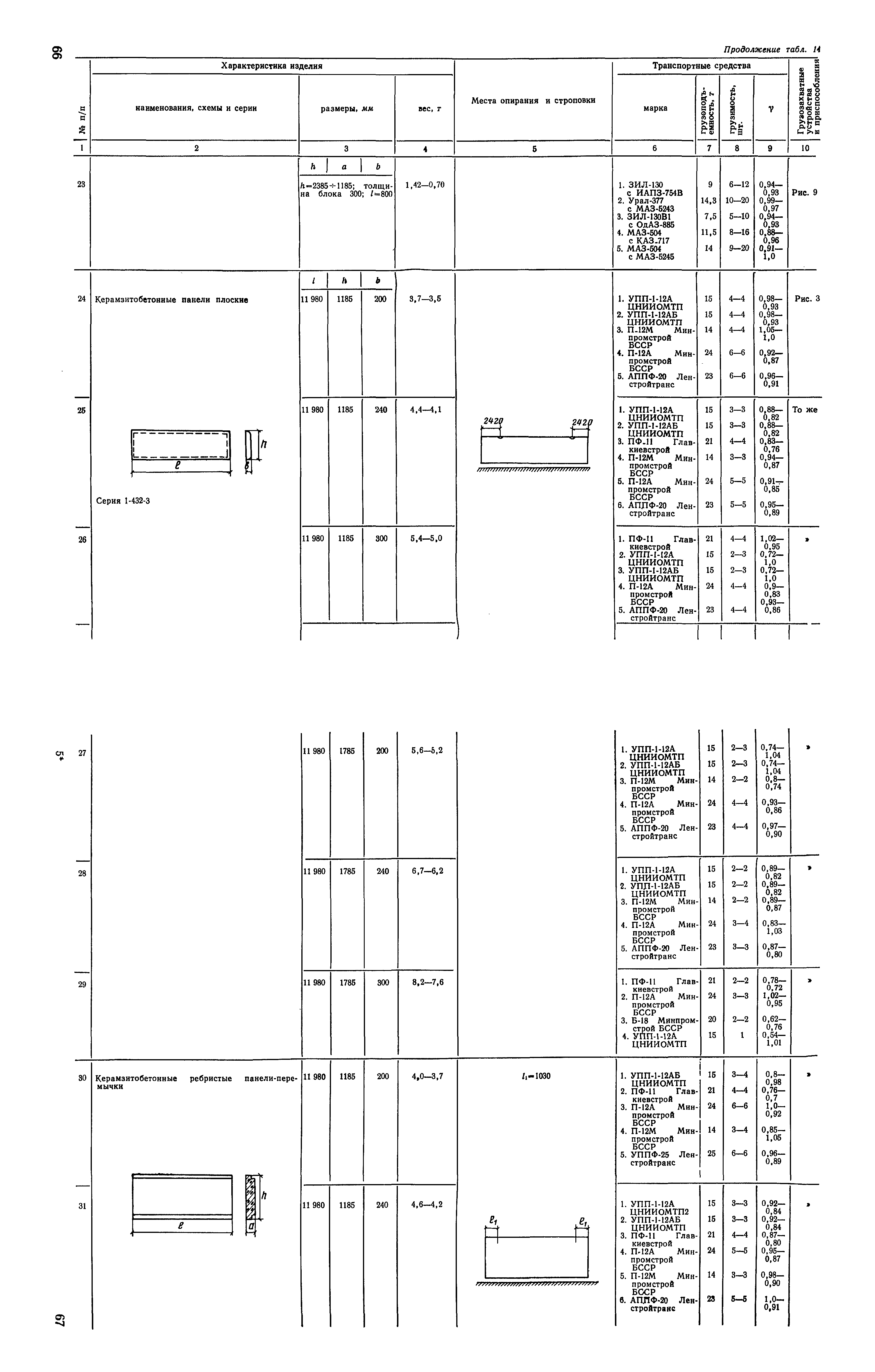
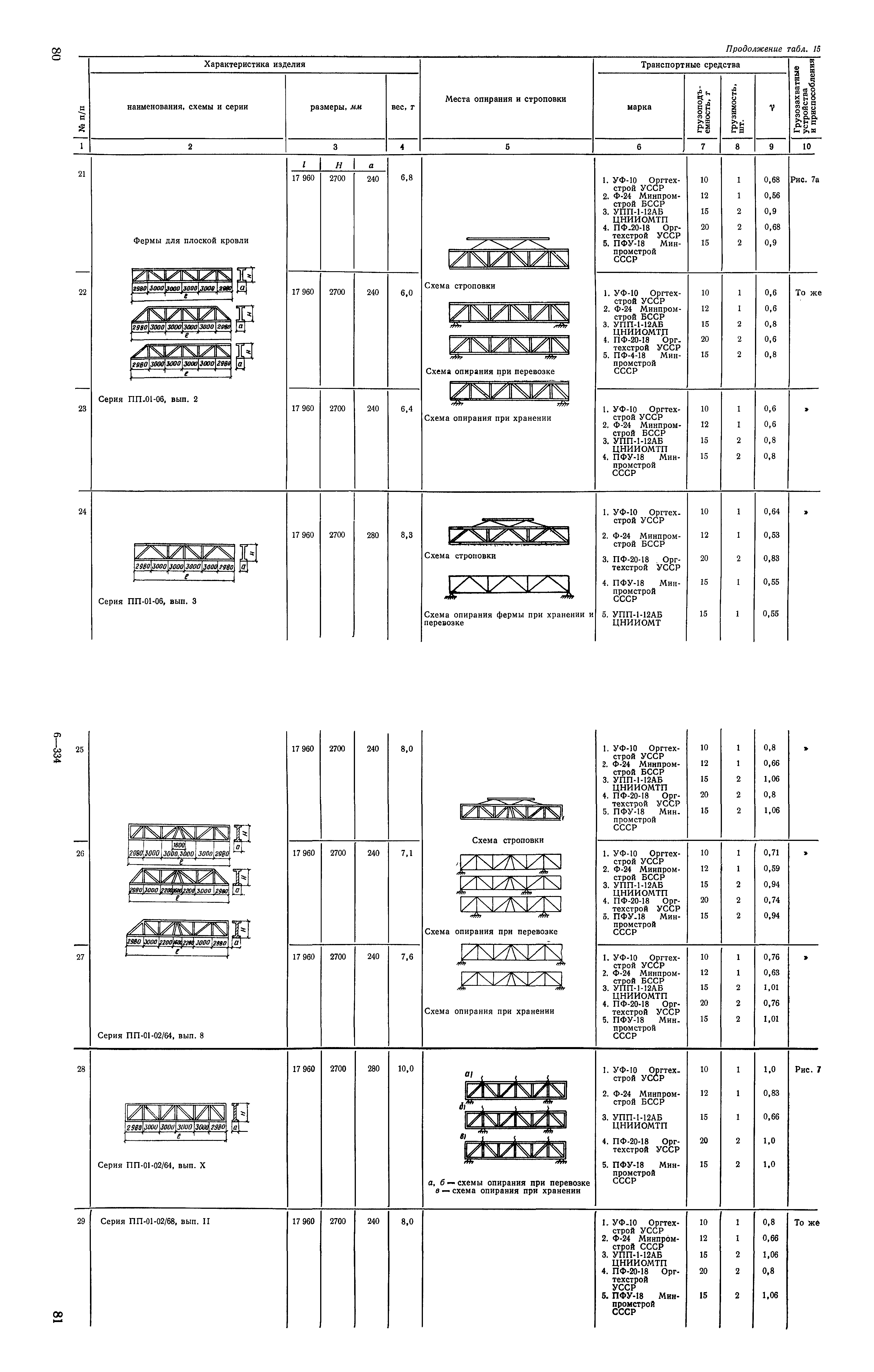
| Оглавление: | Предисловие 1. Общие сведения 2. Автотранспортные и погрузочно-разгрузочные средства 3. Требования к перевозкам грузов автомобильным транспортом по дорогам общей сети СССР 4. Способы перевозки строительных грузов и подбор автотранспортных средств 5. Транспортирование изделий 6. Транспортирование типовых сборных железобетонных деталей и конструкций для строительства производственных зданий 7. Транспортирование изделий для промышленных сооружений Приложение 1. Форма паспорта на железобетонные изделия Приложение 2. Требования по ГОСТ 13015—67 Приложение 3. Бортовые автомобили общего назначения Приложение 4. Автопоезда с прицепами общего назначения Приложение 5. Автопоезда с полуприцепами общего назначения Приложение 6. Автопоезда со специализированными полуприцепами и прицепами. Фермовозы Приложение 7. Колонновозы Приложение 8. Балковозы Приложение 9. Панелевозы Приложение 10. Плитовозы Приложение 11. Автомобили-самосвалы Приложение 12. Грузозахватные приспособления Приложение 13. Основные параметры, интенсивность движения и расчетные скорости для дорог общей сети СССР Приложение 14. Характеристика шин для автомобилей, приведенных в таблицах Приложение 15. Максимально допускаемые нагрузки на шины в зависимости от скорости движения и давления в шинах |
| Разработан: | Центральный НИИ и ПЭИ организации, механизации и технической помощи строительству Госстроя СССР |
| Утверждён: | ЦНИИОМТП (TsNIIOMTP ) |
| Издан: | Стройиздат (1973 г. ) |
| Нормативные ссылки: |
|








































































































