Скачать Руководство по выбору оборудования конвейерных линий на карьерах черной металлургии

Дата актуализации: 01.01.2021

Руководство по выбору оборудования конвейерных линий на карьерах черной металлургии

Статус:справочные материалы, мп, тпр
Название рус.:Руководство по выбору оборудования конвейерных линий на карьерах черной металлургии
Дата добавления в базу:01.01.2019
Дата актуализации:01.01.2021
Область применения:Документ предназначен для выбора оптимальных параметров оборудования конвейерных линий, в основу которой положены расчетные формулы, технические параметры, стоимостные показатели и данные промышленной эксплуатации конвейерного оборудования на отечественных и зарубежных карьерах.
Оглавление:1. Введение
2. Методика выбора вида оборудования конвейерных линий
   Основные положения при выборе оборудования
3. Экономико-математические модели расчета, параметров конвейеров и приведенных затрат на транспортирование горной массы конвейерными линиями
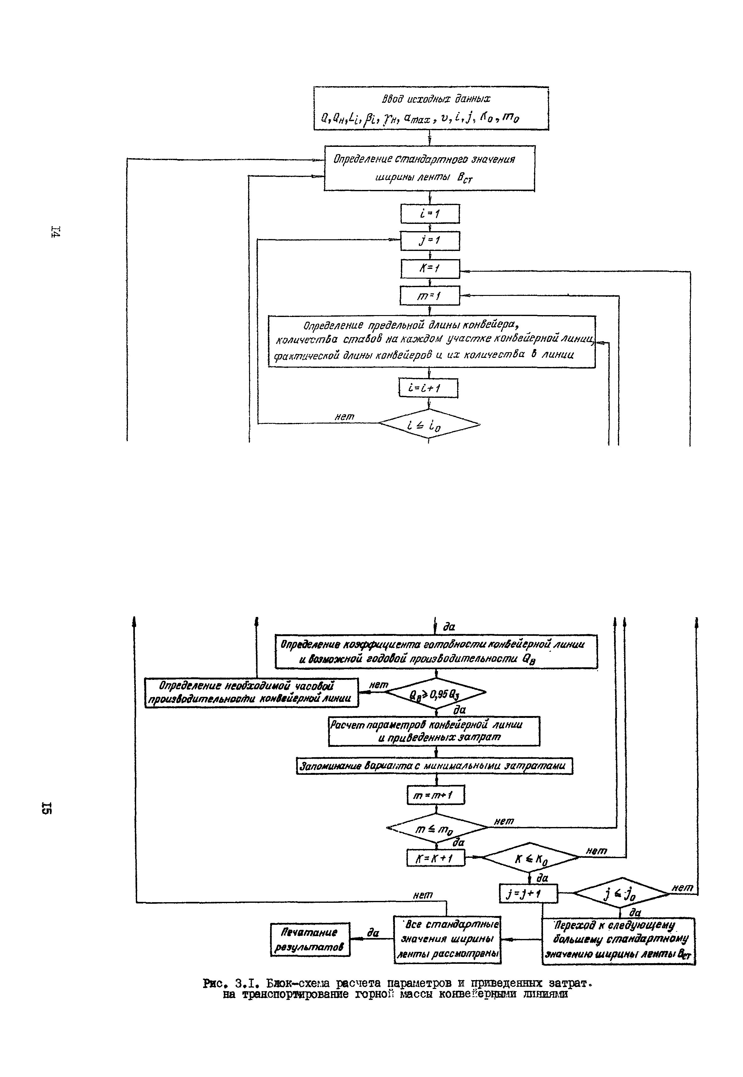
   3.1. Принципиальная блок-схема расчета параметров конвейеров и приведенных затрат на транспортирование горной массы конвейерными линиями
   3.2. Расчет затрат на транспорт ленточными конвейерами
   3.3. Расчет затрат на транспорт ленточно-канатными конвейерами
   3.4. Расчет затрат на транспорт многоприводными ленточными конвейерами
   3.5. Расчет затрат на транспорт ленточно-колесными конвейерами
4. Определение целесообразности резервирования конвейерных линий
5. Предпочтительные области применения различного конвейерного оборудования
   5.1. Однолинейные и дублированные системы
   5.2. Ленточные, ленточно-канатные, многоприводные и ленточно-колесные конвейер
6. Приложения
   6.1. Результаты расчетов параметров конвейерного оборудования для протяжения трассы
   6.2. Результаты расчетов параметров колесно-ленточных конвейеров и затрат на транспортирование
   6.3. Результаты сопоставления проектных и рассчитанных по методике показателей конвейерных линий
Разработан: Институт горного дела МЧМ СССР
Утверждён:12.08.1980 Черметпроект Минчермета СССР
Принят: Гипроруда