Скачать Руководство по ревизии и наладке главных вентиляторных установок шахтДата актуализации: 01.01.2021 |
| Статус: | справочные материалы, мп, тпр |
| Название рус.: | Руководство по ревизии и наладке главных вентиляторных установок шахт |
| Дата добавления в базу: | 01.01.2019 |
| Дата актуализации: | 01.01.2021 |
| Область применения: | В руководстве изложены методика и объем работ по ревизии и наладке механического и электрического оборудования главных вентиляторных установок шахт, серийно выпускаемого отечественными заводами; описаны конструкции основных узлов вентиляторов и схемы управления приводными двигателями; отражены вопросы автоматизации, защиты и контроля работы вентиляторных установок, а также методика балансировки роторов; даны основные указания по эксплуатации вентиляторных установок и устранению характерных неисправностей в работе оборудования; рассмотрены вопросы повышения экономичности действующих вентиляторов; приведены справочные данные, методика проверочных расчетов и указания по технике безопасности. Руководство предназначено для персонала специализированных наладочных бригад, выполняющих работы по ревизии и наладке главных вентиляторных установок шахт на предприятиях угольной промышленности, а также для слесарей и инженерно-технических работников шахт, занимающихся эксплуатацией и ремонтом вентиляторных установок, и может быть использовано в учебных комбинатах, готовящих специалистов по обслуживанию главных вентиляторных установок шахт. |
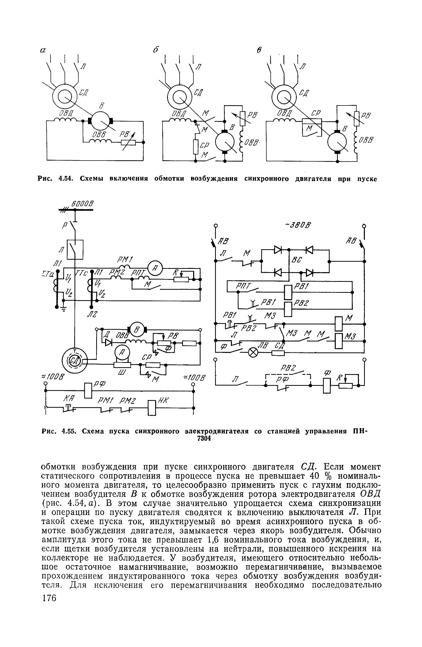
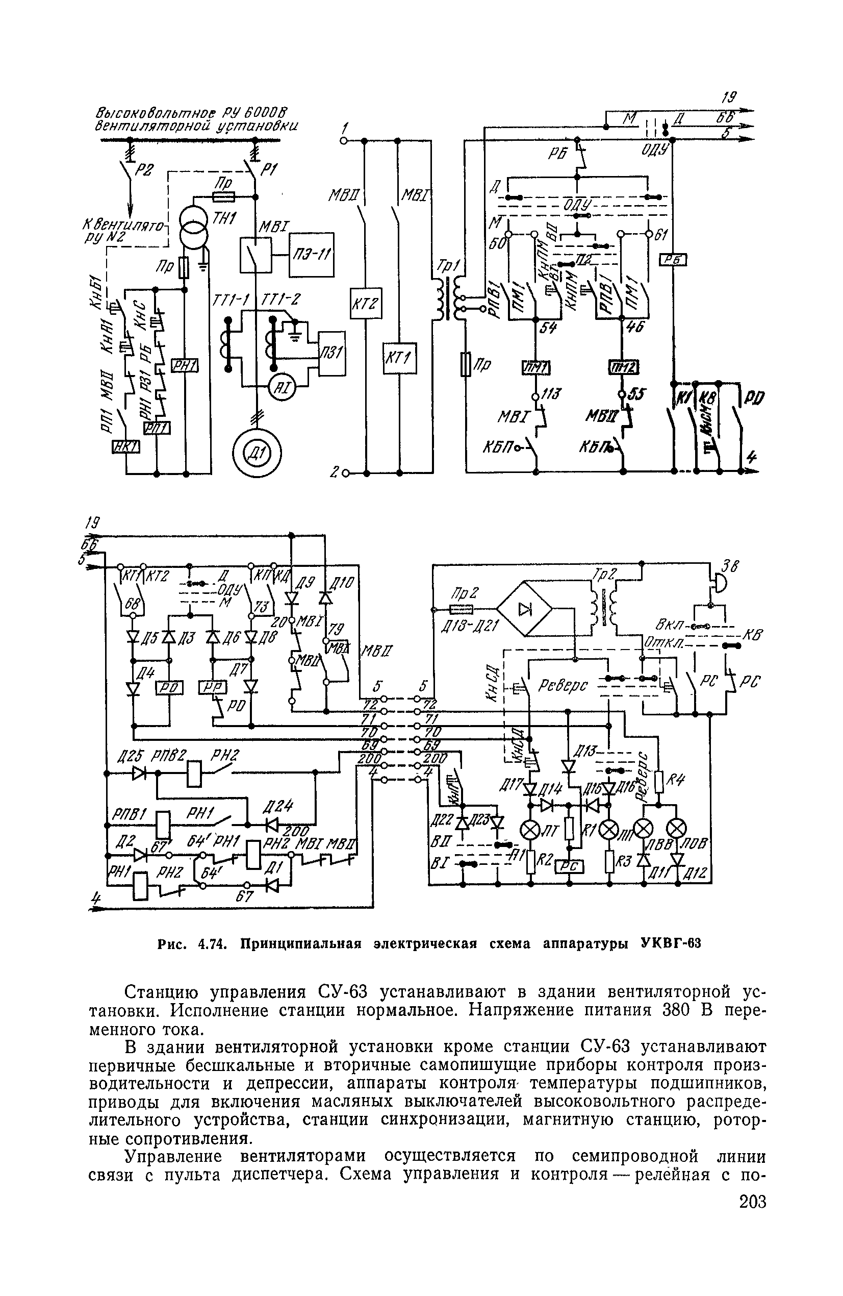
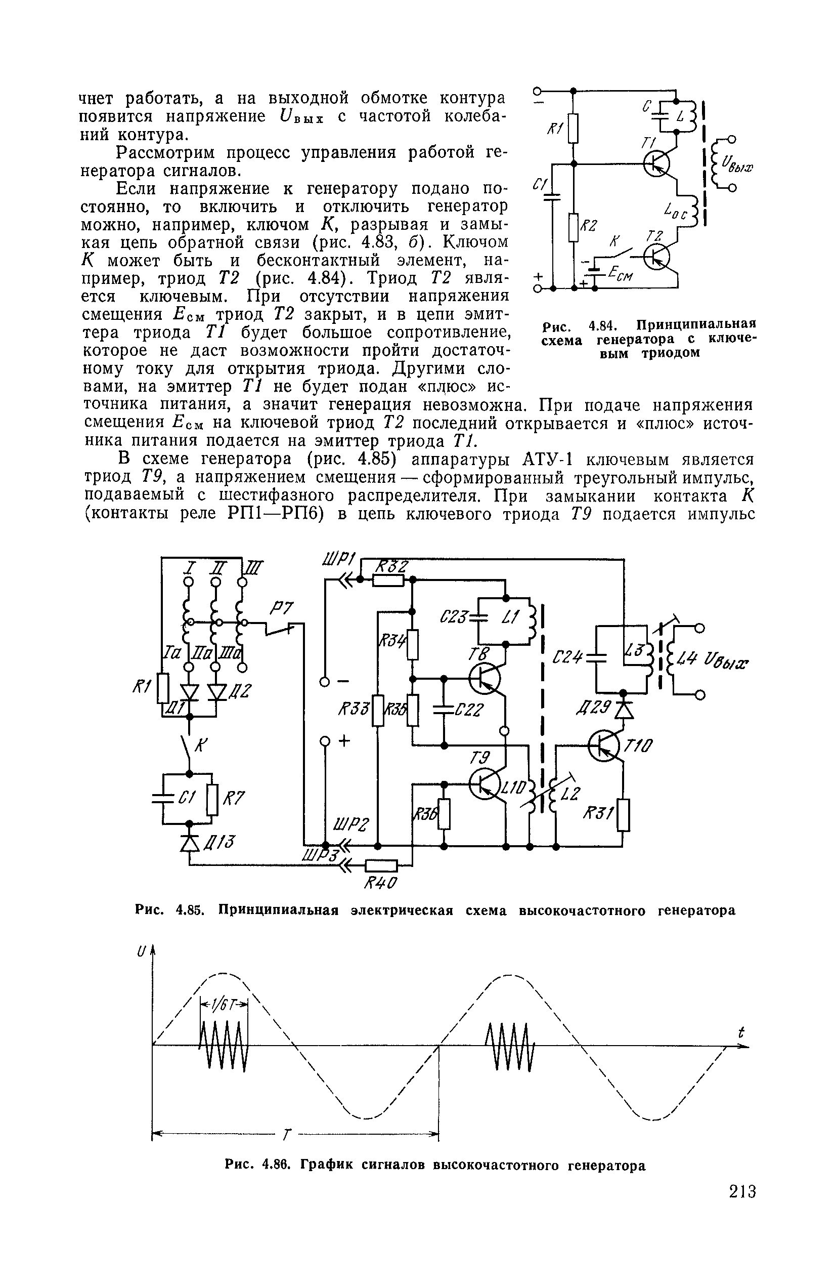
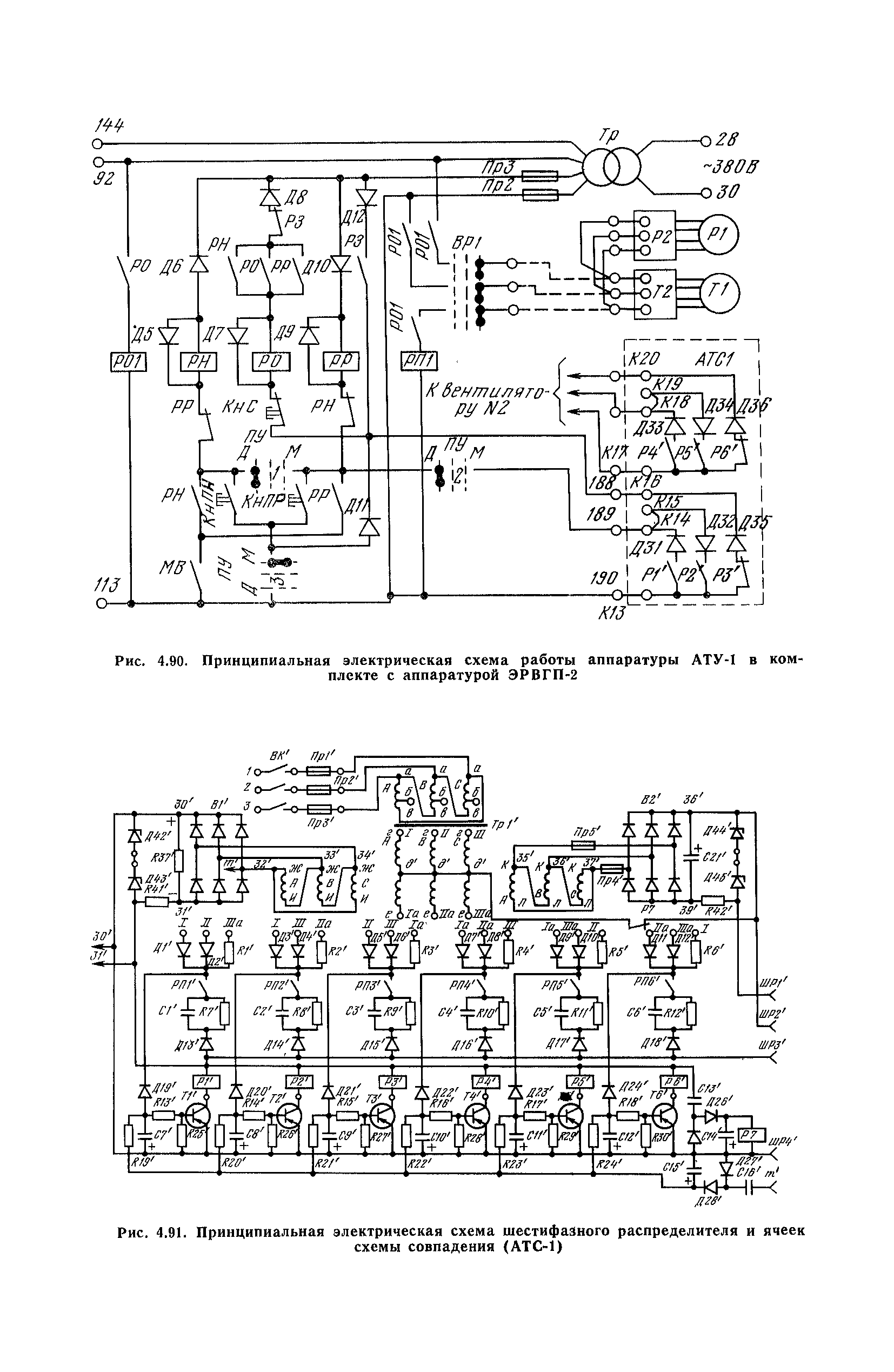
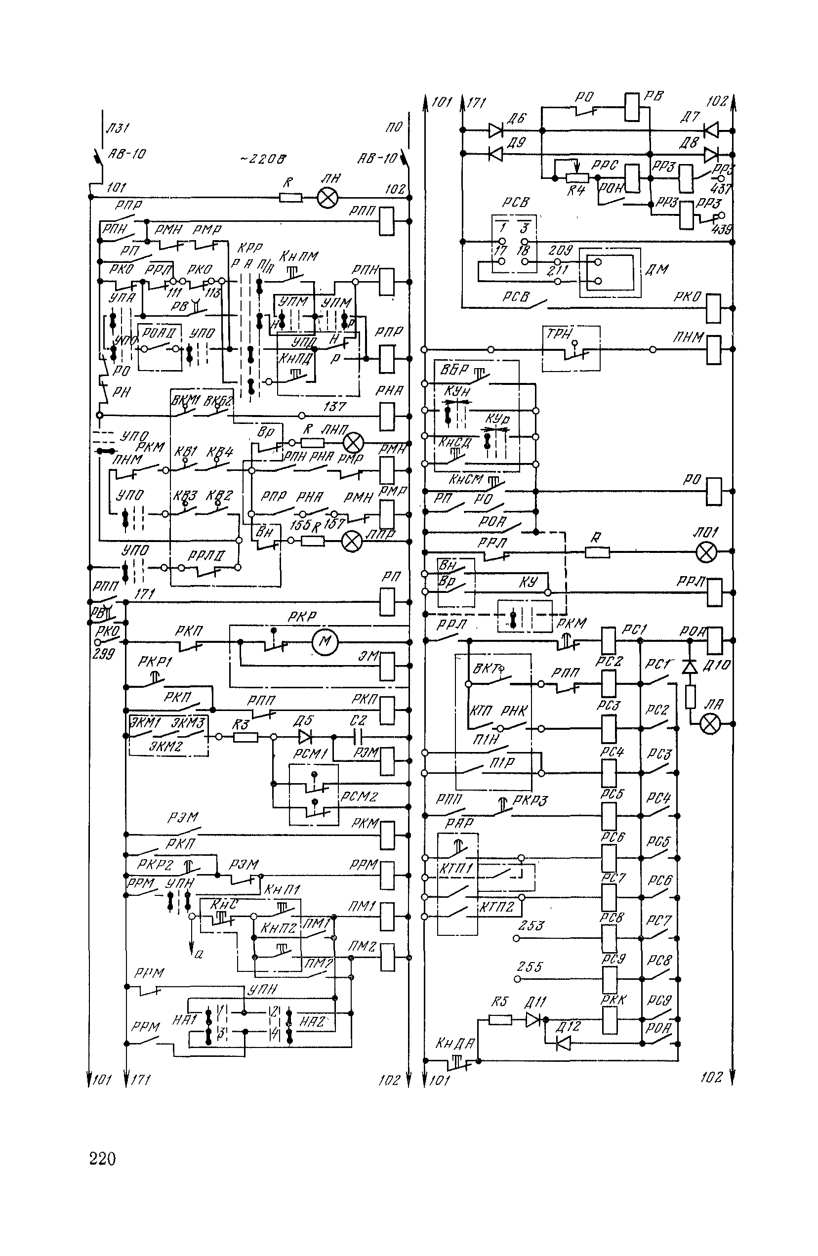
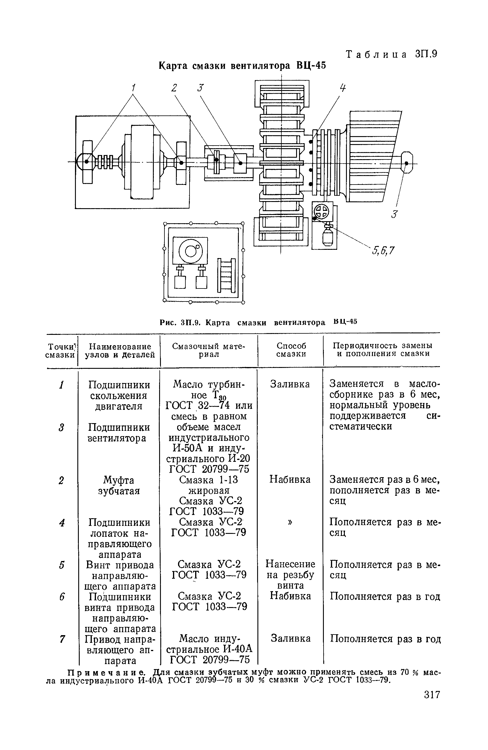
| Оглавление: | 1. Общие положения 1.1. Цель ревизии и наладки главных вентиляторных установок 1.2. Объем работ по ревизии и наладке главных вентиляторных установок 1.3. Организация и проведение работ по ревизии и наладке главных вентиляторных установок 1.3.1. Подготовительные работы 1.3.2, Порядок проведения наладочных работ 1.3.3. Определение режимных параметров главной вентиляторной установки 1.3.4. Оформление отчетно-технической документации 2. Конструкции и параметры вентиляторных установок 2.1. Элементы главной вентиляторной установки шахты 2.2. Осевые вентиляторы 2.3. Центробежные вентиляторы 3. Ревизия и наладка механической части главных вентиляторных установок 3.1. Ревизия и наладка отдельных узлов механической части вентиляторов и пробный пуск 3.1.1. Проверка состояния фундамента, рамы, кожуха, диффузора, коллектора, обтекателя, подшипниковых узлов 3.1.2. Рабочие колеса осевых вентиляторов 3.1.3. Рабочие колеса центробежных вентиляторов 3.1.4. Направляющие и спрямляющие аппараты 3.1.5. Подшипники качения. валы 3.1.6. Подшипники скольжения. Валы 3.1.7. Системы циркуляционной смазки подшипников 3.1.8. Соединительные муфты 3.1.9. Центровка опорных валов 3.1.10. Центровка подвесных валов 3.1.11. Тормозные устройства вентиляторов 3.1.12. Пробный пуск вентиляторов 3.2. Балансировка роторов шахтных вентиляторов 3.2.1. Причины и допустимые величины вибраций 3.2.2. Виброизмерительная аппаратура 3.2.3.. Статическая балансировка 3.2.4. динамическая балансировка 3.3. Ревизия и наладка реверсивных и переключающих устройств 3.3.1. Способы реверсирования воздушной струи и перестановки переключающих устройств 3.3.2. Типовые схемы реверсирования и переключения воздушной струи 3.3.3. Ревизия, наладка и опробование реверсивных и переключающих устройств 4. Ревизия, наладка и испытание электрической части главных вентиляторных установок 4.1. Распределительные устройства напряжением выше 1000 В 4.1.1. Разъединители 4.1.2. Масляные выключатели 4.1.3. Приводы к масляным выключателям 4.1.4. Трансформаторы тока (ТТ) 4.1.5. Трансформаторы напряжения (ТН) 4.2. Распределительные устройства напряжением до 1000 В 4.3. Кабельные линии 4.4. Электрические машины 4.4.1. Внешний осмотр машины и проверка ее состояния 4.4.2. Проверка механической части электрических машин 4.4.3. Измерение сопротивления изоляции обмоток 4.4.4. Измерение сопротивления обмоток постоянному току 4.4.5. Статические преобразователи 4.4.6. Ревизия и испытание электрических машин после монтажа 4.5. Аппаратура управления, защиты и контроля 4.5.1. Высоковольтные реверсоры 4.5.2. Контакторы переменного тока КТ (КТВ) 4 5.3. Автоматические выключатели серий А3100 и АП-50 4.5.4. Реле постоянного и переменного тока 4.5.5. Тормозные электромагниты 4.5.6. Роторные сопротивления и реостаты 4.5.7. Конечные выключатели 4.5.8. Полупроводниковые выпрямительные элементы 4.5.9. Контроль температуры 4.5.10. Электроконтактные манометры 4.6. Схемы управления, защиты н контроля 4.6.1. Вторичные цени 4.6.2. Схемы управления асинхронным приводом 4.6.3. Схемы управления синхронным приводом 4.6.4. Контроль вращения 4.6.5. Контроль температуры подшипников электродвигателей и вентиляторов 4.6.6. Защита приводных электродвигателей 4.7. Схемы и аппаратура дистанционно-автоматизированного управления главными вентиляторными установками 4.7.1. Основные технические требования к автоматизированным установкам 4.7.2. Порядок проведения я объем работ по наладке схем автоматизации 4.7.3. Схемы и аппаратура автоматизации вентиляторных установок 4.8. Защитное заземление 4.9. Контроль производительности и давления 4.9.1. Станции контроля производительности я давления шахтных вентиляторных установок 4.9.2. Датчики производительности и давления 4.9.3. Первичные приборы 4.9.4. Вторичные приборы 4.9.5. Монтаж, наладка и эксплуатация станций контроля производительности и давления 5. Определение параметров и регулирование режима работы вентиляторных установок 5.1. Определение режимных параметров вентиляторных установок 5.1.1. Определение производительности вентиляторной установки 5.1.2. Определение статического давления вентиляторной установки 5.1.3. Определение мощности на валу вентилятора 5.1.4. Измерение частоты вращения вентилятора 5.1.5. Определение статического коэффициента полезного действия вентиляторной установки 5.1.6. Обработка результатов измерений, определение режима работы вентилятора, разработка рекомендаций по улучшению режима работы вентиляторной установки 5.2. Способы регулирования режима работы вентиляторных установок 5.2.1. Регулирование изменением частоты вращения 5.2.2. Регулирование изменением угла установки лопаток рабочего колеса 5.2.3. Регулирование изменением числа лопаток рабочего колеса 5.2.4. Регулирование изменением угла установки лопаток направляющего аппарата 5.2.5. Регулирование изменением угла установки закрылков лопаток направляющих аппаратов 5.2.6. Регулирование изменением угла установки закрылков лопаток рабочего колеса 5.2.7. Регулирование дросселированием 6. Техника безопасности при выполнении наладочных работ на вентиляторных установках 6.1. Меры безопасности при выполнении работ на механическом оборудовании 6.1.1. Общие положения 6.1.2. Выполнение такелажных работ 6.1.3. Ревизия и наладка соединительных муфт 6.1.4. Ревизия я наладка подшипников скольжения 6.1.5. Ревизия и наладка реверсивных и переключающих устройств 6.1.6. Ревизия рабочих колес и промежуточных валов 6.1.7. Выполнение смазочных операций 6.1.8. Работы в вентиляционных каналах 6.1.9. Противопожарные мероприятия 6.2. Меры безопасности при выполнении испытательно-наладочных работ в электроустановках 6.2.1. Работы в цепях измерительных приборов, релейной защиты, автоматики и телемеханики 6.2.2. Проведение испытаний с подачей повышенного напряжения от постороннего источника тока 6.2.3. Измерения переносными приборами и токоизмерительными клещами 6.2.4. Работы на выключателях и разъединителях 6.2.5. Работы, выполняемые на электрических машинах Список литературы Приложение 1. Техническая характеристики вентиляторных установок Приложение 2. Аэродинамические характеристики шахтных вентиляторных установок Приложение 3. Карта смазки вентиляторных установок Приложение 4. Неисправности вентиляторных установок Приложение 5. Примерный график производства основных работ по ревизии и наладке вентиляторных установок Приложение 6. Примерный перечень инструмента, приборов и устройств, необходимых для проведения работ по ревизии и наладке главных вентиляторных установок (на одну бригаду) Приложение 7. Примерные удельные нормы расхода на один вентиляторный агрегат основных и вспомогательных материалов при выполнении ремонтно-наладочных работ |
| Утверждён: | 15.01.1979 Министерство угольной промышленности СССР (USSR Ministry of the Coal Industry ) |
| Издан: | Недра (1981 г. ) |
| Нормативные ссылки: |
|















































































































































































































































































































































